TOP
|
特許
|
意匠
|
商標
特許ウォッチ
Twitter
他の特許を見る
10個以上の画像は省略されています。
公開番号
2025151232
公報種別
公開特許公報(A)
公開日
2025-10-09
出願番号
2024052556
出願日
2024-03-27
発明の名称
推定装置、及び、推定方法
出願人
国立大学法人東北大学
代理人
個人
主分類
G01N
21/3581 20140101AFI20251002BHJP(測定;試験)
要約
【課題】キャップを構成する材料を高い精度にて推定可能な推定装置を提供すること。
【解決手段】推定装置1は、樹脂製のキャップ2を構成する材料を推定する。キャップ2は、中空の円筒状である側面部と円筒の底面を構成する円盤状である天面部とを有する。推定装置は、移動部12と入射部11と検出部13と推定部15とを備える。移動部は、天面部がキャップの鉛直下方における端面を構成する天面下方状態及び天面部がキャップの鉛直上方における端面を構成する天面上方状態のうちの、予め定められた一方の状態にてキャップを所定の検出位置へ移動させる。入射部は、10GHz乃至10THzの周波数を有する電磁波を生成し、生成された電磁波を検出位置にてキャップの鉛直上方からキャップへ入射させる。検出部は、キャップから出射された電磁波をキャップの鉛直下方にて検出する。推定部は、検出された電磁波の強度に基づいて材料を推定する。
【選択図】図1
特許請求の範囲
【請求項1】
中空の円筒状である側面部と、前記側面部により形成される円筒の底面を構成する円盤状である天面部と、を有するとともに、容器の口を開閉するように当該容器に取り外し可能に取り付けられる樹脂製のキャップを構成する材料を推定する推定装置であって、
前記天面部が前記キャップの鉛直下方における端面を構成する天面下方状態、及び、前記天面部が前記キャップの鉛直上方における端面を構成する天面上方状態のうちの、予め定められた一方の状態にて前記キャップを所定の検出位置へ移動させる移動部と、
10[GHz]乃至10[THz]の周波数を有する電磁波を生成し、前記生成された電磁波を前記検出位置にて前記キャップの鉛直上方から前記キャップへ入射させる入射部と、
前記電磁波が前記キャップへ入射することによって前記キャップから出射された電磁波を前記キャップの鉛直下方にて検出する検出部と、
前記検出された電磁波の強度に基づいて前記材料を推定する推定部と、
を備える、推定装置。
続きを表示(約 1,100 文字)
【請求項2】
請求項1に記載の推定装置であって、
前記移動部は、
前記キャップを収容可能である空間を有するとともに、前記空間を形成する底面に前記天面部の直径よりも小さい直径を有する円形状の開口を有する収容部と、
前記天面部が鉛直面に沿って延在する状態にて前記キャップが転がることにより、前記キャップを前記収容部へ案内する傾斜面を有する傾斜部と、
を備える、推定装置。
【請求項3】
請求項2に記載の推定装置であって、
前記収容部は、前記空間が前記検出位置を構成し、
前記検出部は、前記キャップから出射された電磁波を前記開口の鉛直下方にて検出する、推定装置。
【請求項4】
請求項1に記載の推定装置であって、
前記移動部は、
所定の搬送方向にて前記キャップを搬送するように、前記搬送方向にて互いに平行に延在する1対の搬送体を有する搬送部と、
前記天面下方状態である前記キャップを前記搬送部から取り除くように、前記1対の搬送体の間にて前記キャップの鉛直下方から前記キャップの中央部を突き上げる棒状体を有する除去部と、
を備える、推定装置。
【請求項5】
請求項1に記載の推定装置であって、
前記移動部は、
所定の搬送方向にて前記キャップを搬送する搬送部と、
前記キャップの鉛直上方の所定の位置から前記キャップまでの距離を検出する距離センサと、
前記検出された距離に基づいて、前記天面下方状態、及び、前記天面上方状態のうちの、他方の状態である前記キャップを前記搬送部から取り除く除去部と、
を備える、推定装置。
【請求項6】
中空の円筒状である側面部と、前記側面部により形成される円筒の底面を構成する円盤状である天面部と、を有するとともに、容器の口を開閉するように当該容器に取り外し可能に取り付けられる樹脂製のキャップを構成する材料を推定する推定方法であって、
前記天面部が前記キャップの鉛直下方における端面を構成する天面下方状態、及び、前記天面部が前記キャップの鉛直上方における端面を構成する天面上方状態のうちの、予め定められた一方の状態にて前記キャップを所定の検出位置へ移動させ、
10[GHz]乃至10[THz]の周波数を有する電磁波を生成し、前記生成された電磁波を前記検出位置にて前記キャップの鉛直上方から前記キャップへ入射させ、
前記電磁波が前記キャップへ入射することによって前記キャップから出射された電磁波を前記キャップの鉛直下方にて検出し、
前記検出された電磁波の強度に基づいて前記材料を推定する、
ことを含む、推定方法。
発明の詳細な説明
【技術分野】
【0001】
本発明は、推定装置、及び、推定方法に関する。
続きを表示(約 1,300 文字)
【背景技術】
【0002】
固形廃棄物(例えば、廃棄プラスチック等)は、固形廃棄物を構成する材料に基づいて選別され、材料毎に再利用される。従って、例えば、固形廃棄物から材料を生成することにより固形廃棄物が再利用される場合、固形廃棄物の選別が高い精度にて行われれば、生成される材料の純度を高めることができる。
【0003】
このため、固形廃棄物を構成する材料を推定する推定装置が知られている。例えば、特許文献1に記載の推定装置は、10[GHz]乃至10[THz]の周波数を有する電磁波を生成し、生成された電磁波を固形廃棄物へ入射させる入射部を備える。更に、推定装置は、電磁波が固形廃棄物へ入射することによって固形廃棄物から出射された電磁波を検出する検出部を備える。加えて、推定装置は、検出された電磁波の強度に基づいて、固形廃棄物を構成する材料を推定する推定部を備える。
【先行技術文献】
【特許文献】
【0004】
特開2021-120625号公報
【発明の概要】
【発明が解決しようとする課題】
【0005】
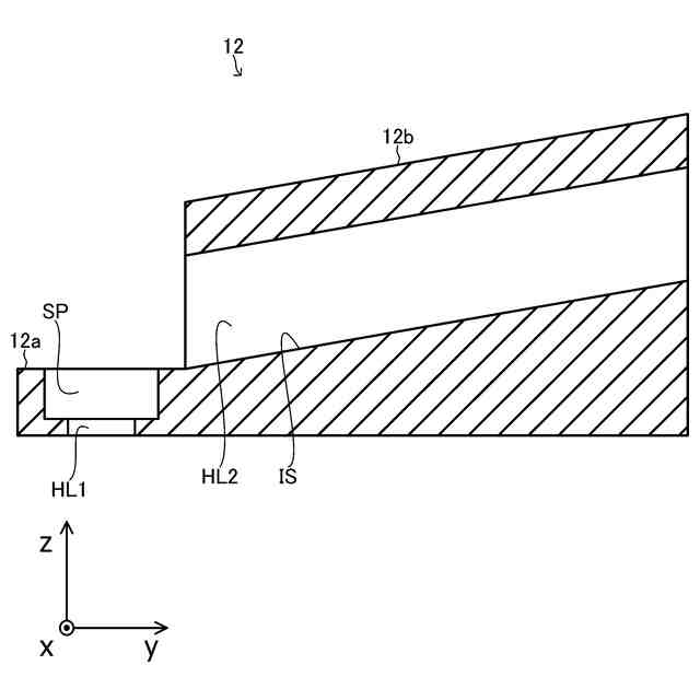
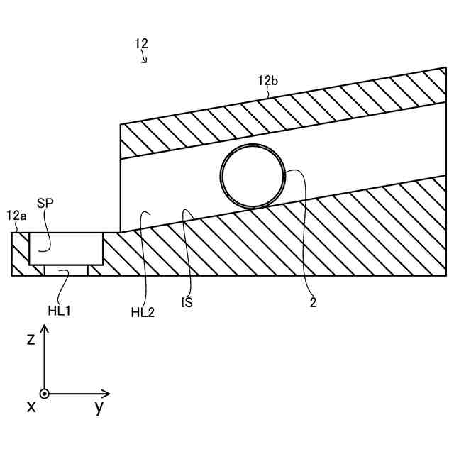
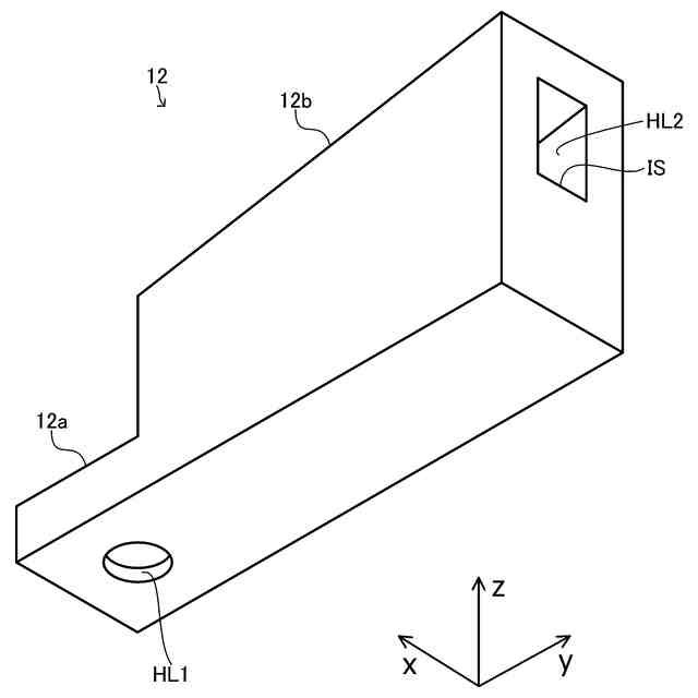
固形廃棄物の中で、容器の口を開閉するように当該容器に取り外し可能に取り付けられる樹脂製のキャップは、中空の円筒状である側面部と、側面部により形成される円筒の底面を構成する円盤状である天面部と、を有する。
【0006】
キャップは、平面に載置される場合、天面部がキャップの鉛直下方における端面を構成する天面下方状態、及び、天面部がキャップの鉛直上方における端面を構成する天面上方状態のいずれの状態においても安定する。
【0007】
ところで、本願の発明者らは、鋭意検討の結果、キャップの鉛直上方から電磁波を入射させる場合、天面下方状態、及び、天面上方状態のいずれの状態であるかに応じて、検出される電磁波の強度が比較的大きく変動する場合があることを見出した。しかしながら、上記推定装置においては、キャップの状態を制御することができない。このため、上記推定装置においては、キャップを構成する材料の推定に対する精度が過度に低くなる虞があった。
【0008】
本発明の目的の一つは、キャップを構成する材料を高い精度にて推定することである。
【課題を解決するための手段】
【0009】
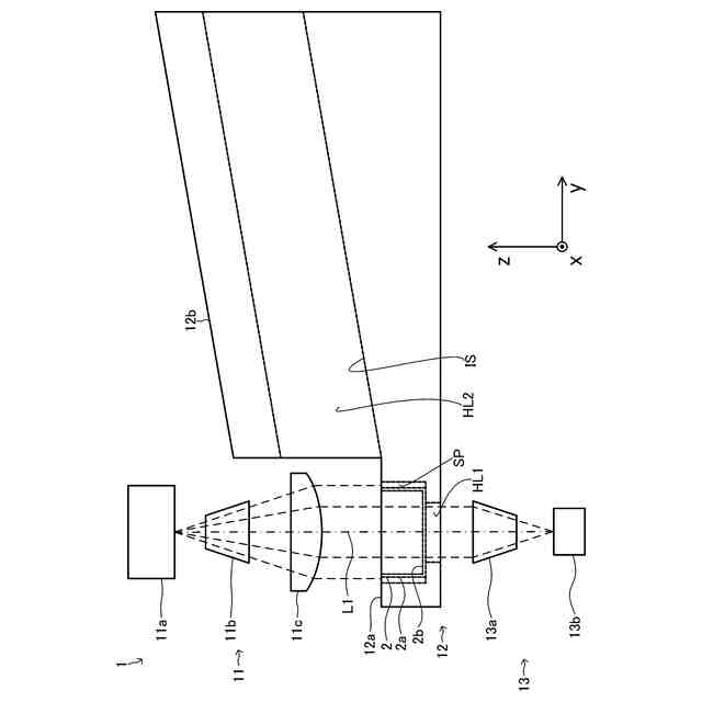
一つの側面では、推定装置は、中空の円筒状である側面部と、側面部により形成される円筒の底面を構成する円盤状である天面部と、を有するとともに、容器の口を開閉するように当該容器に取り外し可能に取り付けられる樹脂製のキャップを構成する材料を推定する。
【0010】
推定装置は、移動部と、入射部と、検出部と、推定部と、を備える。
移動部は、天面部がキャップの鉛直下方における端面を構成する天面下方状態、及び、天面部がキャップの鉛直上方における端面を構成する天面上方状態のうちの、予め定められた一方の状態にてキャップを所定の検出位置へ移動させる。
(【0011】以降は省略されています)
この特許をJ-PlatPat(特許庁公式サイト)で参照する
関連特許
個人
視触覚センサ
2日前
日本精機株式会社
検出装置
1か月前
個人
採尿及び採便具
1か月前
個人
計量機能付き容器
27日前
株式会社ミツトヨ
測定器
1か月前
株式会社カクマル
境界杭
17日前
日本精機株式会社
発光表示装置
10日前
甲神電機株式会社
電流検出装置
1か月前
株式会社トプコン
測量装置
9日前
ユニパルス株式会社
トルク変換器
2日前
ユニパルス株式会社
トルク変換器
2日前
ユニパルス株式会社
トルク変換器
2日前
大成建設株式会社
風洞実験装置
27日前
日本信号株式会社
距離画像センサ
1か月前
個人
計量具及び計量機能付き容器
27日前
愛知電機株式会社
軸部材の外観検査装置
1か月前
大和製衡株式会社
組合せ計量装置
1か月前
個人
非接触による電磁パルスの測定方法
1か月前
大和製衡株式会社
組合せ計量装置
1か月前
日本特殊陶業株式会社
ガスセンサ
25日前
日本特殊陶業株式会社
ガスセンサ
9日前
日本特殊陶業株式会社
ガスセンサ
3日前
双庸電子株式会社
誤配線検査装置
1か月前
日本特殊陶業株式会社
ガスセンサ
2日前
日本特殊陶業株式会社
センサ
1か月前
日置電機株式会社
絶縁抵抗測定装置
2日前
キーコム株式会社
画像作成システム
17日前
個人
液位検視及び品質監視システム
25日前
株式会社タイガーカワシマ
揚穀装置
9日前
本陣水越株式会社
車載式計測標的物
4日前
日東精工株式会社
振動波形検査装置
1か月前
日本特殊陶業株式会社
センサ
11日前
株式会社不二越
X線測定装置
1か月前
ユニパルス株式会社
トルク変換器、調整部材
2日前
株式会社マグネア
磁界検出素子
1か月前
株式会社電巧社
試験装置及び試験方法
1か月前
続きを見る
他の特許を見る