TOP
|
特許
|
意匠
|
商標
特許ウォッチ
Twitter
他の特許を見る
公開番号
2025172432
公報種別
公開特許公報(A)
公開日
2025-11-26
出願番号
2024077934
出願日
2024-05-13
発明の名称
再生骨材の製造方法及び再生骨材製造装置
出願人
日本コンクリート工業株式会社
代理人
個人
,
個人
主分類
C04B
18/167 20230101AFI20251118BHJP(セメント;コンクリート;人造石;セラミックス;耐火物)
要約
【課題】高品質な再生骨材を製造可能な再生骨材の製造方法及び再生骨材製造装置を提供する。
【解決手段】再生骨材3の製造方法は、原コンクリート2を粉砕する粉砕工程と、粉砕工程において粉砕された成分である中間体7を、水洗しつつ分級する分級工程と、分級工程により分級された中間体7を撹拌しつつ界面活性剤Sを添加する添加工程と、を備え、界面活性剤Sにより表面がコーティングされた中間体7を再生骨材3として回収する。
【選択図】図1
特許請求の範囲
【請求項1】
原コンクリートを粉砕する粉砕工程と、
この粉砕工程において粉砕された成分である中間体を、水洗しつつ分級する分級工程と、
この分級工程により分級された前記中間体を撹拌しつつ界面活性剤を添加する添加工程と、を備え、
前記界面活性剤により表面がコーティングされた前記中間体を再生骨材として回収する
ことを特徴とする再生骨材の製造方法。
続きを表示(約 640 文字)
【請求項2】
添加工程では、分級工程において分級された中間体のうち、最も大きい第一中間体と、二番に大きい第二中間体と、を別個に攪拌しつつ界面活性剤を添加する
ことを特徴とする請求項1記載の再生骨材の製造方法。
【請求項3】
原コンクリートを粉砕する粉砕手段と、
この粉砕手段により粉砕された成分である中間体を水洗しつつ分級する分級手段と、
この分級手段により分級された前記中間体を水分とともに収容し撹拌する撹拌手段と、
この撹拌手段に収容された前記中間体に対し界面活性剤を添加する添加手段と、
前記撹拌手段により撹拌され前記界面活性剤により表面がコーティングされた前記中間体を再生骨材として回収する回収手段と、
を備えることを特徴とする再生骨材製造装置。
【請求項4】
攪拌手段は、
分級手段により分級された中間体のうち、最も大きい第一中間体を水分とともに収容する第一撹拌手段と、
前記分級手段により分級された前記中間体のうち、二番目に大きい第二中間体を水分とともに収容する第二撹拌手段と、を有し、
添加手段は、
前記第一撹拌手段に収容された前記第一中間体に対し界面活性剤を添加する第一添加手段と、
前記第二撹拌手段に収容された前記第二中間体に対し界面活性剤を添加する第二添加手段と、を有する
ことを特徴とする請求項3記載の再生骨材製造装置。
発明の詳細な説明
【技術分野】
【0001】
本発明は、原コンクリートから再生骨材を製造する再生骨材の製造方法及び再生骨材製造装置に関する。
続きを表示(約 1,100 文字)
【背景技術】
【0002】
従来、コンクリート配合設計、混錬、打設において使用される再生骨材には、H、M、Lの等級があり、JIS規格により適用範囲が定められ、吸水率の規定が設けられている。品質が高く、安定した強度・耐久性を求めるにはM級、さらにはH級の、吸水率が低い再生骨材が要求される。このような吸水率が低い再生骨材を得るために、原コンクリートであるコンクリートガラを粉砕して分級した成分に対してさらに磨砕を施すことにより、骨材周辺に付着しているセメント分等を除去する必要がある(例えば、特許文献1参照)。
【先行技術文献】
【特許文献】
【0003】
国際公開第2013/114526号
【発明の概要】
【発明が解決しようとする課題】
【0004】
しかしながら、磨砕については、特に粒径5mm以下の細骨材に対して確かな技術がないことから、このような細骨材については殆どがL級として扱われ、配合素材としての評価が低いことから、使用されずに微細砂として産廃処理されることもある。
【0005】
本発明は、このような点に鑑みなされたもので、高品質な再生骨材を製造可能な再生骨材の製造方法及び再生骨材製造装置を提供することを目的とする。
【課題を解決するための手段】
【0006】
本発明の再生骨材の製造方法は、原コンクリートを粉砕する粉砕工程と、この粉砕工程において粉砕された成分である中間体を、水洗しつつ分級する分級工程と、この分級工程により分級された前記中間体を撹拌しつつ界面活性剤を添加する添加工程と、を備え、前記界面活性剤により表面がコーティングされた前記中間体を再生骨材として回収する。
【発明の効果】
【0007】
本発明によれば、高品質な再生骨材を製造可能になる。
【図面の簡単な説明】
【0008】
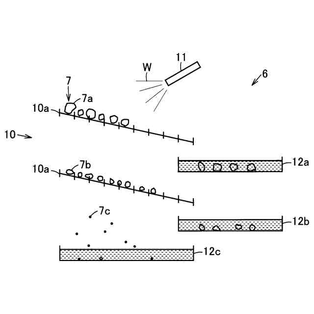
本発明の一実施の形態の再生骨材の製造方法に用いる再生骨材製造装置を示す説明図である。
同上再生骨材製造装置の分級手段の例を模式的に示す説明図である。
同上再生骨材製造装置の一部を模式的に示す説明図である。
【発明を実施するための形態】
【0009】
以下、本発明の一実施の形態について、図面を参照して説明する。
【0010】
図1において、1は再生骨材製造装置である。以下、再生骨材製造装置1を単に製造装置1という。製造装置1は、原コンクリート2を用い、コンクリート用の再生骨材3を製造する。
(【0011】以降は省略されています)
この特許をJ-PlatPat(特許庁公式サイト)で参照する
関連特許
個人
吸収材
21日前
個人
振動吸収材
21日前
個人
空気清浄材
21日前
個人
水質浄化剤
21日前
東ソー株式会社
焼結体
23日前
東ソー株式会社
焼結体
23日前
株式会社トクヤマ
水硬性組成物
2か月前
東ソー株式会社
焼結体の製造方法
1か月前
株式会社トクヤマ
窒化ケイ素基板
3か月前
株式会社トクヤマ
窒化ケイ素基板
2か月前
太平洋マテリアル株式会社
膨張材
1か月前
株式会社トクヤマ
窒化ケイ素基板
1か月前
太平洋マテリアル株式会社
裏込め材
1か月前
有限会社林製作所
無機質成形体
4か月前
太平洋マテリアル株式会社
樹脂モルタル
2か月前
太平洋マテリアル株式会社
吹付モルタル
1か月前
太平洋マテリアル株式会社
樹脂モルタル
2か月前
ノリタケ株式会社
焼成用治具
1か月前
ノリタケ株式会社
焼成用治具
1か月前
ノリタケ株式会社
焼成用治具
1か月前
日本電気硝子株式会社
光学部材の製造方法
1か月前
太平洋マテリアル株式会社
セメント組成物
1か月前
愛媛県
釉薬組成物
3か月前
デンカ株式会社
グラウト材料
3か月前
株式会社トクヤマ
改質フライアッシュの製造方法
1か月前
デンカ株式会社
モルタル材料
1か月前
日本特殊陶業株式会社
セラミック部品
1か月前
TOTO株式会社
構造部材
1か月前
TOTO株式会社
構造部材
1か月前
TOTO株式会社
構造部材
1か月前
TOTO株式会社
複合材料
2か月前
太平洋マテリアル株式会社
軽量繊維層及びその形成方法
1か月前
株式会社西田
コンクリート成形体を製造する方法
29日前
イビデン株式会社
断熱材
1か月前
UBE三菱セメント株式会社
コンクリート組成物
1か月前
株式会社加納
硬化体
21日前
続きを見る
他の特許を見る