TOP
|
特許
|
意匠
|
商標
特許ウォッチ
Twitter
他の特許を見る
公開番号
2025172348
公報種別
公開特許公報(A)
公開日
2025-11-26
出願番号
2024077812
出願日
2024-05-13
発明の名称
室内機および空気調和装置
出願人
三菱電機株式会社
代理人
弁理士法人深見特許事務所
主分類
F24F
11/89 20180101AFI20251118BHJP(加熱;レンジ;換気)
要約
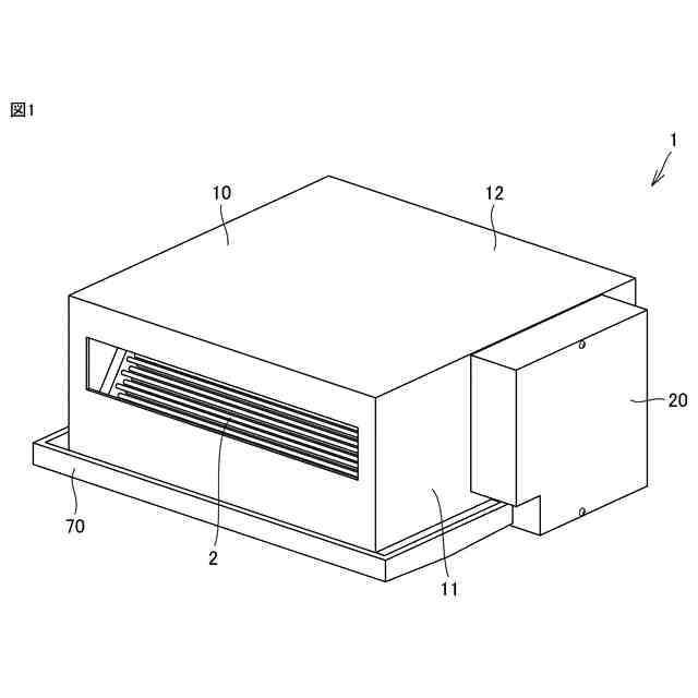
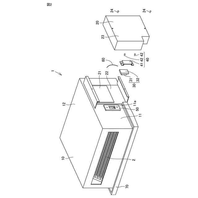
【課題】冷媒漏洩に対する検知性を確保しつつ交換作業性を向上することができる室内機および空気調和装置を提供する。
【解決手段】室内機1は、冷媒が流れる熱交換器2が収容された筐体10と、筐体10に取り付けられ、かつ制御基板21が収容された制御箱20と、制御基板21に着脱可能に接続された冷媒漏洩検知センサ30とを備えている。筐体10は、開口11aが設けられた側板11を含んでいる。制御箱20は、側板11に取り付けられた基台22と、基台22に着脱可能に構成されたカバー23とを含んでいる。冷媒漏洩検知センサ30は、冷媒の検知口31を含み、かつ開口11aを通って筐体10の外側から内側に突き出した状態で検知口31が筐体10の内側に位置するように構成されている。
【選択図】図3
特許請求の範囲
【請求項1】
冷媒が流れる熱交換器が収容された筐体と、
前記筐体に取り付けられ、かつ制御基板が収容された制御箱と、
前記制御基板に着脱可能に接続された冷媒漏洩検知センサとを備え、
前記熱交換器が収容された前記筐体は、開口が設けられた側板を含み、
前記制御箱は、前記側板に取り付けられた基台と、前記基台に着脱可能に構成されたカバーとを含み、
前記基台に前記制御基板が設置されており、
前記カバーは、前記冷媒漏洩検知センサを覆うように構成されており、
前記冷媒漏洩検知センサは、前記冷媒の検知口を含み、かつ前記開口を通って前記筐体の外側から内側に突き出した状態で前記検知口が前記筐体の内側に位置するように構成されている、室内機。
続きを表示(約 540 文字)
【請求項2】
前記筐体に収容され、かつ前記熱交換器へ送風するように構成された送風機をさらに備え、
前記筐体は、前記熱交換器が配置された熱交換器室と、前記送風機が配置された送風機室とを含み、
前記検知口は、前記熱交換器室の内側に位置するように構成されている、請求項1に記載の室内機。
【請求項3】
固定用部材をさらに備え、
前記固定用部材は、前記冷媒漏洩検知センサを前記筐体の前記側板に着脱可能に固定するように構成されている、請求項1に記載の室内機。
【請求項4】
断熱材をさらに備え、
前記断熱材は、前記筐体の前記側板と前記冷媒漏洩検知センサとの間に配置されている、請求項1に記載の室内機。
【請求項5】
信号線をさらに備え、
前記信号線は、前記制御基板と前記冷媒漏洩検知センサとを接続可能に構成されており、かつ前記冷媒漏洩検知センサと着脱可能に構成されており、かつ前記制御基板と着脱可能に構成されている、請求項1に記載の室内機。
【請求項6】
請求項1~5のいずれか1項に記載の前記室内機と、
前記室内機に接続された室外機とを備えた、空気調和装置。
発明の詳細な説明
【技術分野】
【0001】
本開示は、室内機および空気調和装置に関するものである。
続きを表示(約 1,300 文字)
【背景技術】
【0002】
冷媒漏洩検知センサによる冷媒の漏洩検知が必要である。冷媒漏洩検知センサは経年変化により検知精度が低下する。このため、冷媒漏洩検知センサの定期的な交換が必要である。
【0003】
例えば、特開2021-14962号公報(特許文献1)には、ケーシング(筐体)の内部に配置されたガスセンサ(冷媒漏洩検知センサ)を交換可能な冷凍装置の室内機が記載されている。ガスセンサ(冷媒漏洩検知センサ)は、ケーシング(筐体)の側板に形成された開口部を介して着脱可能な位置に設置されている。
【先行技術文献】
【特許文献】
【0004】
特開2021-14962号公報
【発明の概要】
【発明が解決しようとする課題】
【0005】
上記公報に記載された冷凍装置の室内機では、ガスセンサ(冷媒漏洩検知センサ)がケーシング(筐体)の内部に配置されているため、冷媒漏洩に対する検知性は確保されるが、ガスセンサ(冷媒漏洩検知センサ)の交換作業性が悪い。
【0006】
本開示は上記課題に鑑みてなされたものであり、その目的は冷媒漏洩に対する検知性を確保しつつ交換作業性を向上することができる室内機および空気調和装置を提供することである。
【課題を解決するための手段】
【0007】
本開示の室内機は、冷媒が流れる熱交換器が収容された筐体と、筐体に取り付けられ、かつ制御基板が収容された制御箱と、制御基板に着脱可能に接続された冷媒漏洩検知センサとを備えている。熱交換器が収容された筐体は、開口が設けられた側板を含んでいる。制御箱は、側板が取り付けられた基台と、基台に着脱可能に構成されたカバーとを含んでいる。基台に制御基板が設置されている。カバーは、冷媒漏洩検知センサを覆うように構成されている。冷媒漏洩検知センサは、冷媒の検知口を含み、かつ開口を通って筐体の外側から内側に突き出した状態で検知口が筐体の内側に位置するように構成されている。
【発明の効果】
【0008】
本開示の室内機によれば、冷媒漏洩に対する検知性を確保しつつ交換作業性を向上することができる。
【図面の簡単な説明】
【0009】
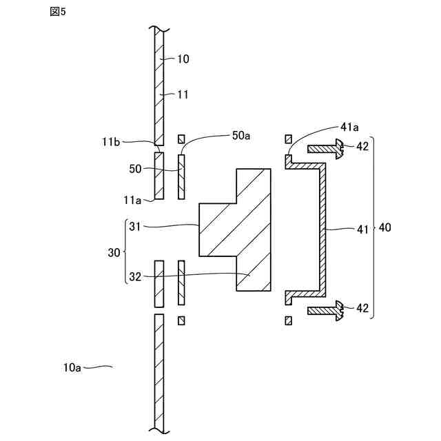
実施の形態1に係る室内機の構成を概略的に示す斜視図である。
実施の形態1に係る室内機の構成を概略的に示す部分分解斜視図である。
実施の形態1に係る室内機の構成を模式的に示す平面図である。
実施の形態1に係る室内機の冷媒漏洩検知センサが側板に取り付けられた状態を概略的に示す端面図である。
実施の形態1に係る室内機の冷媒漏洩検知センサが側板から取り外された状態を概略的に示す端面図である。
実施の形態2に係る空気調和装置の冷媒回路図である。
【発明を実施するための形態】
【0010】
以下、図を参照して実施の形態を説明する。なお、以下においては、同一または相当する部分に同一の符号を付すものとし、重複する説明は繰り返さない。
(【0011】以降は省略されています)
この特許をJ-PlatPat(特許庁公式サイト)で参照する
関連特許
三菱電機株式会社
照明装置
今日
三菱電機株式会社
試験装置
今日
三菱電機株式会社
送風装置
2日前
三菱電機株式会社
送風装置
2日前
三菱電機株式会社
冷凍冷蔵庫
6日前
三菱電機株式会社
半導体装置
今日
三菱電機株式会社
半導体装置
今日
三菱電機株式会社
半導体装置
今日
三菱電機株式会社
半導体装置
2日前
三菱電機株式会社
半導体装置
2日前
三菱電機株式会社
車載通信装置
1日前
三菱電機株式会社
冷凍サイクル装置
1日前
三菱電機株式会社
空調機の製造方法
今日
三菱電機株式会社
移動体管理システム
今日
三菱電機株式会社
機電一体型駆動装置
2日前
三菱電機株式会社
点灯装置および照明器具
今日
三菱電機株式会社
電力変換装置、および異常判定方法
今日
三菱電機株式会社
半導体製造装置及び半導体製造方法
今日
三菱電機株式会社
学習装置、推論装置、通信システム
6日前
三菱電機株式会社
鉄道車両用空調装置の診断システム
1日前
三菱電機株式会社
照明制御装置および照明制御システム
今日
三菱電機株式会社
半導体試験装置および半導体装置の製造方法
6日前
三菱電機株式会社
空調システム、処理装置、および設備管理装置
今日
三菱電機株式会社
開口ユニット、建築物、及び、建築物の建築方法
1日前
三菱電機株式会社
金属積層造形装置および三次元造形物の製造方法
今日
三菱電機株式会社
サービス提供システム、およびサービス提供方法
今日
三菱電機株式会社
ダミーバーの製造装置およびダミーバーの製造方法
2日前
三菱電機株式会社
入札曲線予測装置、入札曲線予測方法、及びプログラム
6日前
三菱電機株式会社
電力需給管理システム、電力需給管理方法、及びプログラム
6日前
三菱電機株式会社
はんだ付けノズル、はんだ付け装置及び回路基板の製造方法
6日前
三菱電機株式会社
データ処理装置、データ処理方法及びデータ処理プログラム
今日
三菱電機株式会社
データ処理装置、データ処理方法及びデータ処理プログラム
今日
三菱電機株式会社
位置推定装置、位置推定システム、位置推定方法及びプログラム
今日
三菱電機ビルソリューションズ株式会社
エレベーターのかご室
今日
三菱電機株式会社
家電通信端末、家電通信システム、家電通信方法及びプログラム
6日前
三菱電機株式会社
電力制御装置、電力制御システム、電力制御方法、及び、プログラム
今日
続きを見る
他の特許を見る