TOP
|
特許
|
意匠
|
商標
特許ウォッチ
Twitter
他の特許を見る
10個以上の画像は省略されています。
公開番号
2025180043
公報種別
公開特許公報(A)
公開日
2025-12-11
出願番号
2024087105
出願日
2024-05-29
発明の名称
データ処理装置、データ処理方法及びデータ処理プログラム
出願人
三菱電機株式会社
代理人
弁理士法人クロスボーダー特許事務所
主分類
G06Q
50/10 20120101AFI20251204BHJP(計算;計数)
要約
【課題】混雑緩和、観光需要の分散及び平準化を実現する。
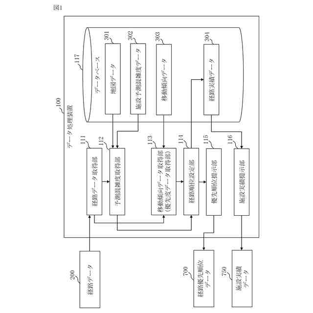
【解決手段】経路データ取得部111は、複数の移動経路が示される経路データ200を取得する。予測混雑度取得部112は、経路データに示される移動経路での立ち寄り先の候補の施設である候補施設で予測される混雑度を候補施設予測混雑度として移動経路ごとに取得する。移動傾向データ取得部113は、各々が施設のカテゴリーである複数の施設カテゴリーの各々の優先度が混雑度の条件である混雑度条件と関連付けて示される移動傾向データ303を取得する。経路順位設定部114は、経路データに示される移動経路ごとに、候補施設予測混雑度と、移動傾向データに示される、候補施設が属する施設カテゴリーの混雑度条件と優先度とを評価して、複数の移動経路に優先順位を設定する。
【選択図】図1
特許請求の範囲
【請求項1】
複数の移動経路が示される経路データを取得する経路データ取得部と、
前記経路データに示される移動経路での立ち寄り先の候補の施設である候補施設で予測される混雑度を候補施設予測混雑度として移動経路ごとに取得する予測混雑度取得部と、
各々が施設のカテゴリーである複数の施設カテゴリーの各々の優先度が混雑度の条件である混雑度条件と関連付けて示される施設優先度データを取得する優先度データ取得部と、
前記経路データに示される移動経路ごとに、前記候補施設予測混雑度と、前記施設優先度データに示される、前記候補施設が属する施設カテゴリーの混雑度条件と優先度とを評価して、前記複数の移動経路に優先順位を設定する経路順位設定部とを有するデータ処理装置。
続きを表示(約 1,500 文字)
【請求項2】
前記予測混雑度取得部は、
前記候補施設への立ち寄りが行われると推定される時間帯に前記候補施設で予測される混雑度を前記候補施設予測混雑度として取得する請求項1に記載のデータ処理装置。
【請求項3】
前記経路データ取得部は、
移動経路ごとに移動経路で用いられる移動手段が示される経路データを取得し、
前記予測混雑度取得部は、
前記経路データに示される移動手段で予測される混雑度を移動手段予測混雑度として移動経路ごとに取得し、
前記優先度データ取得部は、
各々が移動手段のカテゴリーである複数の移動手段カテゴリーの各々の優先度が混雑度の条件である混雑度条件と関連付けて示される移動手段優先度データを取得し、
前記経路順位設定部は、
前記経路データに示される移動経路ごとに、前記候補施設予測混雑度と、前記施設優先度データに示される、前記候補施設が属する施設カテゴリーの混雑度条件と優先度とを評価し、前記移動手段予測混雑度と、前記移動手段優先度データに示される、前記移動手段が属する移動手段カテゴリーの混雑度条件と優先度とを評価して、前記複数の移動経路に優先順位を設定する請求項1に記載のデータ処理装置。
【請求項4】
前記経路データ取得部は、
前記移動手段が用いられると推定される時間帯に前記移動手段で予測される混雑度を前記移動手段予測混雑度として取得する請求項3に記載のデータ処理装置。
【請求項5】
前記予測混雑度取得部は、
前記移動手段予測混雑度として、前記移動手段の内部で予測される混雑度及び前記移動手段が利用する移動路で予測される混雑度の少なくともいずれかを取得し、
前記優先度データ取得部は、
前記移動手段カテゴリーの混雑度条件として、前記移動手段カテゴリーに属する移動手段の内部の混雑度の条件及び前記移動手段カテゴリーに属する移動手段が利用する移動路の混雑度の条件の少なくともいずれかが示される移動手段優先度データを取得する請求項3に記載のデータ処理装置。
【請求項6】
前記データ処理装置は、更に、
前記経路順位設定部により設定された前記複数の移動経路の優先順位を提示する優先順位提示部を有する請求項1に記載のデータ処理装置。
【請求項7】
前記経路順位設定部は、
前記経路データに示される移動経路ごとに、前記候補施設予測混雑度が合致する、前記候補施設が属する施設カテゴリーの混雑度条件を前記施設優先度データから抽出し、抽出した混雑度条件と関連付けられている優先度を前記施設優先度データから抽出し、抽出した優先度を用いて各移動経路に推奨度を設定し、
各移動経路に設定された推奨度に基づき、前記複数の移動経路に優先順位を設定する請求項1に記載のデータ処理装置。
【請求項8】
前記データ処理装置は、更に、
施設ごとに、施設が前記候補施設として扱われた実績を提示する施設実績提示部を有する請求項1に記載のデータ処理装置。
【請求項9】
前記優先度データ取得部は、
ユーザの意向が反映されて生成された施設優先度データを取得する請求項1に記載のデータ処理装置。
【請求項10】
前記優先度データ取得部は、
学習により前記ユーザの意向が反映されて生成された施設優先度データを取得する請求項9に記載のデータ処理装置。
(【請求項11】以降は省略されています)
発明の詳細な説明
【技術分野】
【0001】
本開示は、移動経路に優先順位を設定する技術に関する。
続きを表示(約 2,500 文字)
【背景技術】
【0002】
観光地では、観光客の過度な増加によるオーバーツーリズムが問題となっている。オーバーツーリズムによって、地域住民の生活、自然環境、景観等に対して負の影響が発生する。
交通機関の混雑、交通渋滞、街中の施設の混雑に対し、混雑緩和、観光需要の分散及び平準化に取り組む必要がある。
【0003】
このような状況に対処するために、例えば、特許文献1では、ユーザのプロファイル情報に基づいて、目的地への移動途中の立ち寄り先を提案する技術が開示されている。
より具体的には、特許文献1では、出発地から目的地までの経路上で抽出した特徴地点(注意地点と見所地点)の情報と、ユーザのプロファイル情報に基づいて、移動プランを生成する技術が開示されている。
【先行技術文献】
【特許文献】
【0004】
特開2020-085785号公報
【発明の概要】
【発明が解決しようとする課題】
【0005】
特許文献1の技術は、ユーザの立ち寄り先の混雑状況を考慮するものではない。
このため、特許文献1の技術によっては、混雑緩和、観光需要の分散及び平準化を実現することができないという課題がある。
【0006】
本開示は、このような課題を解決することを主な目的の一つとしている。具体的には、本開示は、混雑緩和、観光需要の分散及び平準化を実現することを主な目的とする。
【課題を解決するための手段】
【0007】
本開示に係るデータ処理装置は、
複数の移動経路が示される経路データを取得する経路データ取得部と、
前記経路データに示される移動経路での立ち寄り先の候補の施設である候補施設で予測される混雑度を候補施設予測混雑度として移動経路ごとに取得する予測混雑度取得部と、
各々が施設のカテゴリーである複数の施設カテゴリーの各々の優先度が混雑度の条件である混雑度条件と関連付けて示される施設優先度データを取得する優先度データ取得部と、
前記経路データに示される移動経路ごとに、前記候補施設予測混雑度と、前記施設優先度データに示される、前記候補施設が属する施設カテゴリーの混雑度条件と優先度とを評価して、前記複数の移動経路に優先順位を設定する経路順位設定部とを有する。
【発明の効果】
【0008】
本開示によれば、混雑緩和、観光需要の分散及び平準化を実現することができる。
【図面の簡単な説明】
【0009】
実施の形態1に係るデータ処理装置の機能構成例を示す図。
実施の形態1に係るデータ処理装置のハードウェア構成例を示す図。
実施の形態1に係る経路データの例を示す図。
実施の形態1に係る施設予測混雑度データの例を示す図。
実施の形態1に係る移動傾向データの例を示す図。
実施の形態1に係るデータ処理装置の動作例を示すフローチャート。
実施の形態1に係る経路店舗データの例を示す図。
実施の形態1に係る経路混雑データの例を示す図。
実施の形態1に係るデータ処理装置の動作例を示すフローチャート。
実施の形態1に係る経路優先度データの例を示す図。
実施の形態1に係る経路推奨度データの例を示す図。
実施の形態2に係るデータ処理装置の機能構成例を示す図。
実施の形態2に係る移動手段予測混雑度データの例を示す図。
実施の形態2に係る移動傾向データの例を示す図。
実施の形態2に係るデータ処理装置の動作例を示すフローチャート。
実施の形態2に係る経路混雑データの例を示す図。
実施の形態2に係るデータ処理装置の動作例を示すフローチャート。
実施の形態2に係るデータ処理装置の動作例を示すフローチャート。
実施の形態2に係る経路優先度データの例を示す図。
実施の形態2に係る経路推奨度データの例を示す図。
実施の形態3に係るデータ処理装置の機能構成例を示す図。
実施の形態3に係る追加抽出範囲データの例を示す図。
実施の形態3に係る施設予測混雑度データの例を示す図。
実施の形態3に係るデータ処理装置の動作例を示すフローチャート。
実施の形態3に係る経路店舗データの例を示す図。
実施の形態3に係る経路混雑データの例を示す図。
実施の形態3に係るデータ処理装置の動作例を示すフローチャート。
実施の形態3に係るデータ処理装置の動作例を示すフローチャート。
実施の形態3に係る経路優先度データの例を示す図。
実施の形態3に係る経路推奨度データの例を示す図。
実施の形態4に係るデータ処理装置の機能構成例を示す図。
実施の形態4に係る移動傾向データの例を示す図。
実施の形態4に係る割引データの例を示す図。
実施の形態4に係るデータ処理装置の動作例を示すフローチャート。
実施の形態4に係るデータ処理装置の動作例を示すフローチャート。
実施の形態4に係るデータ処理装置の動作例を示すフローチャート。
実施の形態4に係る経路優先度データの例を示す図。
実施の形態4に係る経路推奨度データの例を示す図。
実施の形態5に係るデータ処理装置の機能構成例を示す図。
実施の形態5に係るデータ処理装置の動作例を示すフローチャート。
実施の形態5に係るデータ処理装置の動作例を示すフローチャート。
実施の形態5に係る暫定割引データの例を示す図。
【発明を実施するための形態】
【0010】
以下、実施の形態を図を用いて説明する。以下の実施の形態の説明及び図面において、同一の符号を付したものは、同一の部分又は相当する部分を示す。
(【0011】以降は省略されています)
この特許をJ-PlatPat(特許庁公式サイト)で参照する
関連特許
他の特許を見る