TOP
|
特許
|
意匠
|
商標
特許ウォッチ
Twitter
他の特許を見る
10個以上の画像は省略されています。
公開番号
2025170025
公報種別
公開特許公報(A)
公開日
2025-11-14
出願番号
2025141834,2024079892
出願日
2025-08-28,2018-01-18
発明の名称
作業車両
出願人
ヤンマーパワーテクノロジー株式会社
代理人
個人
,
個人
,
個人
主分類
B60R
11/02 20060101AFI20251107BHJP(車両一般)
要約
【課題】作業車両の自律走行等に有効な各種のアンテナ機器を効率良く搭載することができ、且つ、各種のアンテナ機器を頑丈に支持することのできる作業車両を提供する。
【解決手段】作業車両は、キャビン7と、位置情報を受信する受信装置を有するアンテナユニット50と、アンテナユニット50を支持する支持フレーム100と、を備える。キャビン7は、左右一対の前支柱201と、左右一対の前支柱201上に支持されるルーフ190と、を有する。支持フレーム100の左端部は左側の前支柱201に支持され、支持フレーム100の右端部は右側の前支柱201に支持される。支持フレーム100は、左端部及び右端部に対して前方に突出する中央部を有する。アンテナユニット50は、支持フレーム100の中央部に支持される。
【選択図】図4
特許請求の範囲
【請求項1】
キャビンと、
位置情報を受信する受信装置を有するアンテナユニットと、
前記アンテナユニットを支持する支持フレームと、を備え、
前記キャビンは、左右一対の前支柱と、前記左右一対の前支柱上に支持されるルーフと、を有し、
前記支持フレームの左端部は左側の前記前支柱に支持され、
前記支持フレームの右端部は右側の前記前支柱に支持され、
前記支持フレームは、前記左端部及び前記右端部に対して前方に突出する中央部を有し、
前記アンテナユニットは、前記支持フレームの前記中央部に支持される、
作業車両。
続きを表示(約 120 文字)
【請求項2】
前記左右一対の前支柱は、それぞれミラー取付け部を有する、
請求項1記載の作業車両。
【請求項3】
前記ルーフは、前記前支柱の上端部後端よりも前方へ突出する、
請求項1又は2に記載の作業車両。
発明の詳細な説明
【技術分野】
【0001】
本発明は、キャビンを備えた作業車両で、特に、衛星測位システム(GNSS)を利用してトラクタの位置情報を取得しながら、トラクタを目標走行経路に沿って自動走行(自律走行を含む)させるに適した作業車両に関する。
続きを表示(約 2,200 文字)
【背景技術】
【0002】
例えば、自律走行システムを採用した作業車両として、特許文献1に示すトラクタでは、測位衛星からの衛星測位情報を取得するGPSアンテナ(GNSSアンテナ)が、キャビンルーフの上側面部に設けられている。
具体的には、キャビンルーフの上側面部のうち、車体のトレッド幅の略中心部位置の前後方向線と、ホイルベースの略中心部位置の横方向線との交差する部位に、キャビンルーフの上面よりも高位置で略水平面状の取付け座を有する取付けステーが形成され、この取付けステーの取付け座にGPSアンテナが取付けられている。
また、GPSアンテナとして、ジャイロセンサを有するGPSアンテナを使用した場合には、キャビンルーフの傾斜角度をも検出することができる。
【先行技術文献】
【特許文献】
【0003】
特開2016-2874号公報
【発明の概要】
【発明が解決しようとする課題】
【0004】
上述の従来技術には、キャビンルーフの上側面部におけるGPSアンテナの取付け位置を工夫することにより、GPSアンテナの検出精度、又はGPSアンテナとジャイロセンサの検出精度の向上を図る技術が開示されている。
しかしながら、上述の自律走行システムでは、例えば、作業車両に対して各種の指示を行う無線通信端末や作業車両の位置情報を取得するための基地局等、作業車両とは別に各種の外部装置が備えられている。
そのため、作業車両の自律走行等を実際に行うにあたっては、GPSアンテナだけでなく、作業車両と外部装置との間で通信するための各種のアンテナ機器を作業車両に効率良く搭載する必要があり、この面において上述の従来技術には改善の余地がある。
【0005】
しかも、上述の従来技術では、キャビンフレームの上部に設けられるキャビンルーフの上側面部は曲線が多く、しかも、キャビンフレームよりも剛性に劣るため、GPSアンテナを取付ける取付けステーを、キャビンルーフの外観を損なわない状態で補強する必要があり、この面においても改善の余地がある。
【0006】
この実情に鑑み、本発明の主たる課題は、作業車両の自律走行等に有効な各種のアンテナ機器を効率良く搭載することができ、且つ、各種のアンテナ機器を頑丈に支持することのできる作業車両を提供する点にある。
【課題を解決するための手段】
【0007】
本発明の一態様に係る作業車両は、キャビンと、位置情報を受信する受信装置を有するアンテナユニットと、前記アンテナユニットを支持する支持フレームと、を備える。前記キャビンは、左右一対の前支柱と、前記左右一対の前支柱上に支持されるルーフと、を有する。前記支持フレームの左端部は左側の前記前支柱に支持され、前記支持フレームの右端部は右側の前記前支柱に支持される。前記支持フレームは、前記左端部及び前記右端部に対して前方に突出する中央部を有する。前記アンテナユニットは、前記支持フレームの前記中央部に支持される。
【図面の簡単な説明】
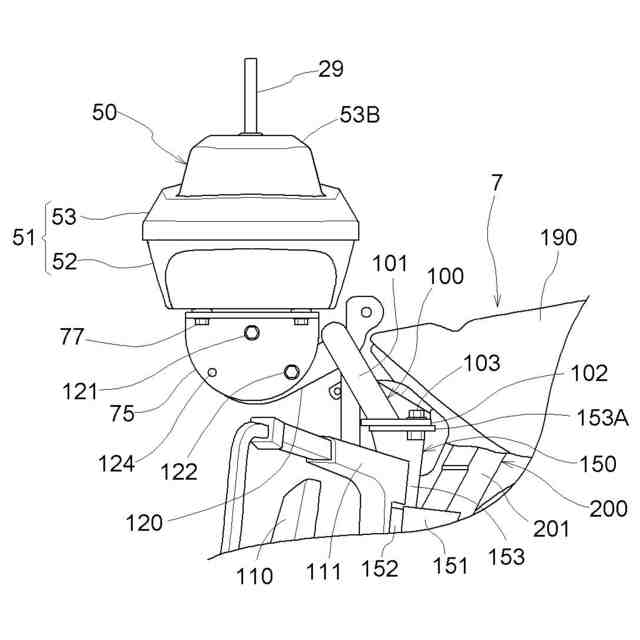
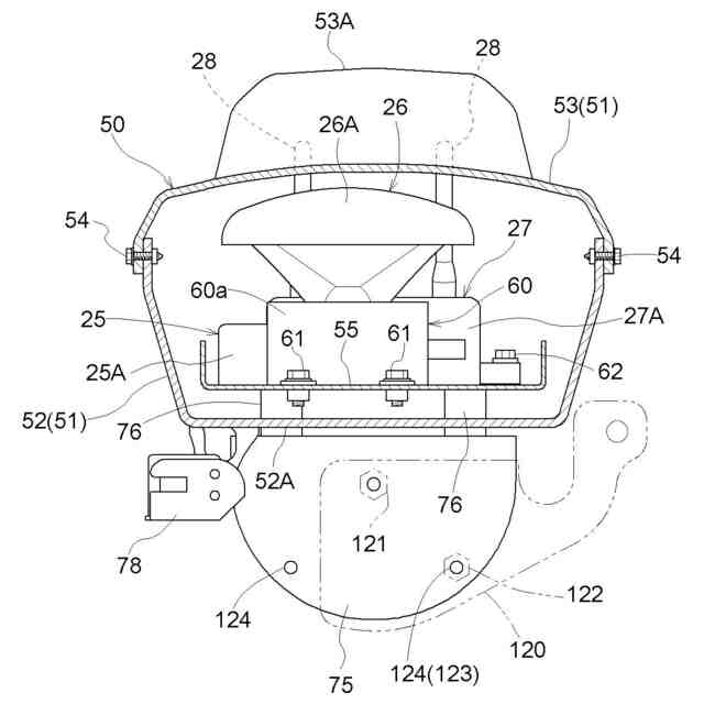
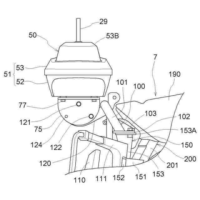
【0008】
トラクタの全体側面図
トラクタ、基準局、及び、無線通信端末の制御ブロック図
トラクタのアンテナユニット取付け部の正面図
トラクタのアンテナユニット取付け部の側面図
アンテナユニットの縦断面図
アンテナユニットの横断面図
アンテナユニットの分解斜視図
アンテナユニット取付け部の仰角斜視図
アンテナユニットを非使用位置に変更したときの側面図
キャビンの仰角斜視図
キャビンの要部の斜視図
ハーネスカバーの拡大端面図
キャビン内の操作配置図
端末支持装置の全体の背面側斜視図
端末支持装置の要部の背面側拡大斜視図
端末支持装置の要部の正面側拡大斜視図
端末支持装置の要部の断面図
【発明を実施するための形態】
【0009】
本発明の実施形態を図面に基づいて説明する。
図1、図2に示す自律走行システムは、目標走行経路を生成し、その生成された目標走行経路に沿って作業車両としてのトラクタ1を自律走行可能に構成されている。この自律走行システムでは、自律走行可能なトラクタ1に加えて、トラクタ1に対して各種の指示等を行う無線通信端末30と、トラクタ1の位置情報を取得するための基準局40とが備えられている。
【0010】
まず、図1に基づいてトラクタ1について説明する。
このトラクタ1は、後方側に対地作業機(図示省略)を装着可能な機体部2を備え、機体部2の前部が左右一対の前輪3で支持され、機体部2の後部が左右一対の後輪4で支持されている。機体部2の前部にはボンネット5が配置され、そのボンネット5内に駆動源としてのエンジン6が収容されている。ボンネット5の後方側には、運転者が搭乗するためのキャビン7が備えられ、そのキャビン7内には、運転者が操向操作するためのステアリングハンドル8、運転者の運転座席9等が備えられている。
(【0011】以降は省略されています)
この特許をJ-PlatPat(特許庁公式サイト)で参照する
関連特許
個人
カーテント
5か月前
個人
タイヤレバー
3か月前
個人
前輪キャスター
2か月前
個人
上部一体型自動車
1か月前
個人
ルーフ付きトライク
3か月前
個人
車輪清掃装置
5か月前
個人
タイヤ脱落防止構造
2か月前
個人
空間形成装置
18日前
個人
ホイルのボルト締結
4か月前
井関農機株式会社
作業車両
5か月前
個人
マスタシリンダ
1か月前
個人
車両通過構造物
3か月前
日本精機株式会社
表示装置
3か月前
日本精機株式会社
表示装置
3か月前
個人
キャンピングトライク
5か月前
日本精機株式会社
表示装置
3か月前
日本精機株式会社
表示装置
3か月前
井関農機株式会社
作業車両
5か月前
日本精機株式会社
照明装置
13日前
個人
乗合路線バスの客室装置
4か月前
個人
車両用スリップ防止装置
4か月前
個人
ワイパーゴム性能保持具
6か月前
個人
常設収納型サンバイザー
24日前
個人
アクセルのソフトウェア
4か月前
個人
キャンピングトレーラー
5か月前
株式会社ニフコ
収納装置
2か月前
日本精機株式会社
車載表示装置
19日前
日本精機株式会社
車載表示装置
2か月前
個人
回転窓ワイパー装置
18日前
株式会社ニフコ
照明装置
2か月前
株式会社豊田自動織機
産業車両
3か月前
個人
音声ガイド、音声サービス
3か月前
株式会社豊田自動織機
産業車両
13日前
日本精機株式会社
車載表示装置
21日前
日本精機株式会社
車載表示装置
26日前
個人
円湾曲ホイール及び球体輪
4か月前
続きを見る
他の特許を見る