TOP
|
特許
|
意匠
|
商標
特許ウォッチ
Twitter
他の特許を見る
10個以上の画像は省略されています。
公開番号
2025168922
公報種別
公開特許公報(A)
公開日
2025-11-12
出願番号
2024073787
出願日
2024-04-30
発明の名称
プログラムおよびシステム
出願人
株式会社コロプラ
代理人
弁理士法人RYUKA国際特許事務所
主分類
A63F
13/69 20140101AFI20251105BHJP(スポーツ;ゲーム;娯楽)
要約
【課題】興趣性を向上させること
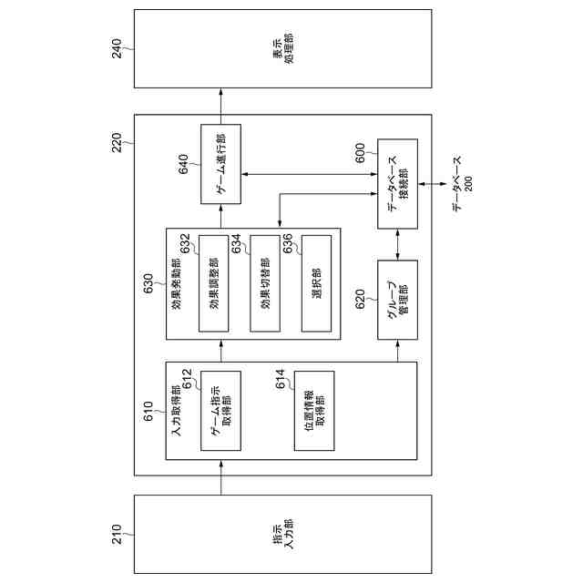
【解決手段】コンピュータを、位置情報ゲームにおいて、複数のユーザにより結成されたグループに含まれるユーザ同士の現実の位置に関する情報に応じて、前記位置情報ゲームを有利に進行可能とするゲーム内効果を発動させる効果発動部として機能させるプログラムを提供する。上記のプログラムにおいて、前記効果発動部は、前記グループに属する第1ユーザと前記グループに属する第2ユーザとの距離に応じて、前記第2ユーザがプレイする前記位置情報ゲーム内で使用したアイテムによる第2ゲーム内効果を、前記第1ユーザがプレイする前記位置情報ゲームの第1ゲーム内効果として反映させる強度または持続時間を調整してよい。
【選択図】図6
特許請求の範囲
【請求項1】
コンピュータを、
位置情報ゲームにおいて、複数のユーザにより結成されたグループに含まれるユーザ同士の現実の位置に関する情報に応じて、前記位置情報ゲームを有利に進行可能とするゲーム内効果を発動させる効果発動部
として機能させるプログラム。
続きを表示(約 1,300 文字)
【請求項2】
前記効果発動部は、前記グループに属する第1ユーザと前記グループに属する第2ユーザとの距離に応じて、前記第2ユーザがプレイする前記位置情報ゲーム内で使用したアイテムによる第2ゲーム内効果を、前記第1ユーザがプレイする前記位置情報ゲームの第1ゲーム内効果として反映させる強度または持続時間を調整する請求項1に記載のプログラム。
【請求項3】
前記効果発動部は、前記グループに含まれるユーザ同士の位置に関する予め定められた条件を満たしているユーザの数に応じて、前記ゲーム内効果の強度または持続時間を調整する請求項1に記載のプログラム。
【請求項4】
前記効果発動部は、前記第1ユーザと前記第2ユーザとの位置に関する情報が予め定められた条件を満たさない場合に、前記第1ゲーム内効果の発動および前記持続時間の消費を停止させ、前記第1ユーザと前記第2ユーザとの位置に関する情報が予め定められた条件を満たす場合に、前記第1ゲーム内効果の発動および前記持続時間の消費を再開させる効果切替部を有する請求項2に記載のプログラム。
【請求項5】
前記効果発動部は、前記グループに属する第1ユーザがプレイする前記位置情報ゲームにおいて、前記第1ユーザと前記グループに属する他のユーザとの位置に関する情報に応じて前記他のユーザの中から選択された第2ユーザのオブジェクトを、前記第1ユーザのプレイに協力させる前記ゲーム内効果を発動させる請求項1に記載のプログラム。
【請求項6】
前記効果発動部は、前記第1ユーザと前記第2ユーザとの位置に関する情報に応じて、前記第2ユーザのオブジェクトを前記第1ユーザのプレイに協力させるタイミングもしくは協力条件、第1ユーザがプレイする前記位置情報ゲーム内における前記第2ユーザのオブジェクトのパラメータ、または、前記第1ユーザのプレイ画面に表示させる前記第2ユーザのオブジェクトの外見のうちの少なくとも1つを調整する効果調整部を有する請求項5に記載のプログラム。
【請求項7】
前記効果発動部は、前記他のユーザのオブジェクトの中から前記第1ユーザに近い順に予め定められた数の前記第2ユーザのオブジェクトを、前記第1ユーザのプレイに協力させる、請求項5に記載のプログラム。
【請求項8】
前記効果発動部は、前記他のユーザのオブジェクトの中から前記オブジェクトが選択される確率を、前記第1ユーザと前記他のユーザとの位置に関する情報に応じて変化させる、請求項5に記載のプログラム。
【請求項9】
前記効果発動部は、前記グループにNPCが含まれる場合と、NPCが含まれない場合とで、異なるゲーム内効果を発動させる、請求項1から8のいずれか一項に記載のプログラム。
【請求項10】
位置情報ゲームにおいて、複数のユーザにより結成されたグループに含まれるユーザ同士の現実の位置に関する情報に応じて、前記位置情報ゲームを有利に進行可能とするゲーム内効果を発動させる効果発動部を備えるシステム。
発明の詳細な説明
【技術分野】
【0001】
本発明は、プログラムおよびシステムに関する。
続きを表示(約 1,500 文字)
【背景技術】
【0002】
特許文献1には、「エントリー処理部112は、複数のゲームステージのうち、自らが指定した参加条件を満たすゲームステージへの参加を希望するゲストプレイヤーの参加登録を受け付ける。」(段落0046)と記載されている。
[先行技術文献]
[特許文献]
[特許文献1] 特開2016-150244号公報
【発明の概要】
【0003】
本発明の第1の態様においては、コンピュータを、位置情報ゲームにおいて、複数のユーザにより結成されたグループに含まれるユーザ同士の現実の位置に関する情報に応じて、前記位置情報ゲームを有利に進行可能とするゲーム内効果を発動させる効果発動部として機能させるプログラムを提供する。
【0004】
上記のプログラムにおいて、前記効果発動部は、前記グループに属する第1ユーザと前記グループに属する第2ユーザとの距離に応じて、前記第2ユーザがプレイする前記位置情報ゲーム内で使用したアイテムによる第2ゲーム内効果を、前記第1ユーザがプレイする前記位置情報ゲームの第1ゲーム内効果として反映させる強度または持続時間を調整してよい。
【0005】
上記のいずれかのプログラムにおいて、前記効果発動部は、前記グループに含まれるユーザ同士の位置に関する予め定められた条件を満たしているユーザの数に応じて、前記ゲーム内効果の強度または持続時間を調整してよい。
【0006】
上記のいずれかのプログラムにおいて、前記効果発動部は、前記第1ユーザと前記第2ユーザとの位置に関する情報が予め定められた条件を満たさない場合に、前記第1ゲーム内効果の発動および前記持続時間の消費を停止させ、前記第1ユーザと前記第2ユーザとの位置に関する情報が予め定められた条件を満たす場合に、前記第1ゲーム内効果の発動および前記持続時間の消費を再開させる効果切替部を有してよい。
【0007】
上記のいずれかのプログラムにおいて、前記効果発動部は、前記グループに属する第1ユーザがプレイする前記位置情報ゲームにおいて、前記第1ユーザと前記グループに属する他のユーザとの位置に関する情報に応じて前記他のユーザの中から選択された第2ユーザのオブジェクトを、前記第1ユーザのプレイに協力させる前記ゲーム内効果を発動させてよい。
【0008】
上記のいずれかのプログラムにおいて、前記効果発動部は、前記第1ユーザと前記第2ユーザとの位置に関する情報に応じて、前記第2ユーザのオブジェクトを前記第1ユーザのプレイに協力させるタイミングもしくは協力条件、第1ユーザがプレイする前記位置情報ゲーム内における前記第2ユーザのオブジェクトのパラメータ、または、前記第1ユーザのプレイ画面に表示させる前記第2ユーザのオブジェクトの外見のうちの少なくとも1つを調整する効果調整部を有してよい。
【0009】
上記のいずれかのプログラムにおいて、前記効果発動部は、前記他のユーザのオブジェクトの中から前記第1ユーザに近い順に予め定められた数の前記第2ユーザのオブジェクトを、前記第1ユーザのプレイに協力させてよい。
【0010】
上記のいずれかのプログラムにおいて、前記効果発動部は、前記他のユーザのオブジェクトの中から前記オブジェクトが選択される確率を、前記第1ユーザと前記他のユーザとの位置に関する情報に応じて変化させてよい。
(【0011】以降は省略されています)
特許ウォッチbot のツイートを見る
この特許をJ-PlatPat(特許庁公式サイト)で参照する
関連特許
株式会社コロプラ
プログラム
19日前
株式会社コロプラ
プログラム
1か月前
株式会社コロプラ
プログラム
1か月前
株式会社コロプラ
プログラム
22日前
株式会社コロプラ
プログラム
19日前
株式会社コロプラ
プログラム及びシステム
14日前
株式会社コロプラ
プログラム及びシステム
1か月前
株式会社コロプラ
プログラム及びシステム
1か月前
株式会社コロプラ
プログラムおよびシステム
1か月前
株式会社コロプラ
プログラムおよびシステム
6日前
株式会社コロプラ
プログラムおよびシステム
1か月前
株式会社コロプラ
プログラム、およびシステム
1か月前
株式会社コロプラ
プログラム、およびシステム
1か月前
株式会社コロプラ
プログラム、情報処理システム
1か月前
株式会社コロプラ
プログラム及び情報処理システム
4日前
株式会社コロプラ
プログラム及び情報処理システム
4日前
株式会社コロプラ
プログラム及び情報処理システム
1か月前
株式会社コロプラ
プログラムおよび情報処理システム
1か月前
株式会社コロプラ
プログラムおよび情報処理システム
1か月前
株式会社コロプラ
プログラムおよび情報処理システム
1か月前
株式会社コロプラ
プログラムおよび情報処理システム
1か月前
株式会社コロプラ
プログラムおよび情報処理システム
1か月前
株式会社コロプラ
プログラム、及び情報処理システム
1か月前
株式会社コロプラ
プログラム、及び情報処理システム
1か月前
株式会社コロプラ
プログラムおよび情報処理システム
1か月前
株式会社コロプラ
ゲーム用プログラム
1か月前
株式会社コロプラ
プログラム及びシステム
4日前
株式会社コロプラ
プログラム及びシステム
14日前
株式会社コロプラ
プログラム、およびシステム
1か月前
株式会社コロプラ
プログラム、及び、システム
1か月前
株式会社コロプラ
プログラム及び情報処理システム
4日前
株式会社コロプラ
プログラムおよび情報処理システム
1か月前
株式会社コロプラ
プログラムおよび情報処理システム
21日前
株式会社コロプラ
プログラムおよび情報処理システム
11日前
株式会社コロプラ
プログラムおよび情報処理システム
11日前
株式会社コロプラ
プログラム、及び情報処理システム
1か月前
続きを見る
他の特許を見る