TOP
|
特許
|
意匠
|
商標
特許ウォッチ
Twitter
他の特許を見る
10個以上の画像は省略されています。
公開番号
2025151990
公報種別
公開特許公報(A)
公開日
2025-10-09
出願番号
2024053672
出願日
2024-03-28
発明の名称
プログラムおよび情報処理システム
出願人
株式会社コロプラ
代理人
弁理士法人信栄事務所
主分類
A63F
13/69 20140101AFI20251002BHJP(スポーツ;ゲーム;娯楽)
要約
【課題】ユーザの興趣性を向上させる。
【解決手段】プログラムは、抽選によって選択された獲得オブジェクトが、ユーザが既に所持し、かつ特定の条件を満たす第1のオブジェクトと共通である場合、第1のアイテムを前記ユーザに付与し、前記獲得オブジェクトが、前記ユーザが既に所持し、かつ特定の条件を満たさない第2のオブジェクトと共通である場合、第2のアイテムを前記ユーザに付与する付与手段として機能させ、前記第1のアイテムは、前記第1のオブジェクトに使用可能であり、前記第1のオブジェクト以外のオブジェクトに対しては使用が制限され、前記第2のアイテムは、前記第2のオブジェクト、および前記第2のオブジェクト以外のオブジェクトに対して使用可能である。
【選択図】図11
特許請求の範囲
【請求項1】
コンピュータを、
抽選によって選択された獲得オブジェクトが、ユーザが既に所持し、かつ特定の条件を満たす第1のオブジェクトと共通である場合、第1のアイテムを前記ユーザに付与し、
前記獲得オブジェクトが、前記ユーザが既に所持し、かつ特定の条件を満たさない第2のオブジェクトと共通である場合、第2のアイテムを前記ユーザに付与する付与手段として機能させ、
前記第1のアイテムは、前記第1のオブジェクトに使用可能であり、前記第1のオブジェクト以外のオブジェクトに対しては使用が制限され、
前記第2のアイテムは、前記第2のオブジェクト、および前記第2のオブジェクト以外のオブジェクトに対して使用可能である、プログラム。
続きを表示(約 580 文字)
【請求項2】
前記特定の条件を満たす場合には、前記第1のオブジェクトに第1の属性が付与されていることが含まれる、請求項1に記載のプログラム。
【請求項3】
前記第1のアイテムは、前記第1のオブジェクトのパラメータを変動させるために所定数消費される、請求項1に記載のプログラム。
【請求項4】
前記抽選の対象となる複数のオブジェクトには、前記第1のオブジェクトおよび前記第2のオブジェクトの両方が含まれる、請求項1に記載のプログラム。
【請求項5】
1または複数の情報処理装置を備える情報処理システムであって、
抽選によって選択された獲得オブジェクトが、ユーザが既に所持し、かつ特定の条件を満たす第1のオブジェクトと共通である場合、第1のアイテムを前記ユーザに付与し、
前記獲得オブジェクトが、前記ユーザが既に所持し、かつ特定の条件を満たさない第2のオブジェクトと共通である場合、第2のアイテムを前記ユーザに付与し、
前記第1のアイテムは、前記第1のオブジェクトに使用可能であり、前記第1のオブジェクト以外のオブジェクトに対しては使用が制限され、
前記第2のアイテムは、前記第2のオブジェクト、および前記第2のオブジェクト以外のオブジェクトに対して使用可能である、情報処理システム。
発明の詳細な説明
【技術分野】
【0001】
本開示は、プログラムおよび情報処理システムに関する。
続きを表示(約 2,300 文字)
【背景技術】
【0002】
従来、ゲームにおいてプレイヤが抽選処理を行うことにより、当該ゲームにおいて利用可能なオブジェクトを取得することができるゲームが知られている。例えば、特許文献1では、抽選処理によって取得されたオブジェクトが、既に所持されているオブジェクトと同じである場合、当該オブジェクトのパラメータを変動させるゲームプログラムが開示されている。
【先行技術文献】
【特許文献】
【0003】
特開2019-88989号公報
【発明の概要】
【発明が解決しようとする課題】
【0004】
本開示は、ユーザの興趣性を向上させることを目的とする。
【課題を解決するための手段】
【0005】
本開示に示す一実施形態に係るプログラムは、
コンピュータを、
抽選によって選択された獲得オブジェクトが、ユーザが既に所持し、かつ特定の条件を満たす第1のオブジェクトと共通である場合、第1のアイテムを前記ユーザに付与し、
前記獲得オブジェクトが、前記ユーザが既に所持し、かつ特定の条件を満たさない第2のオブジェクトと共通である場合、第2のアイテムを前記ユーザに付与する付与手段として機能させ、
前記第1のアイテムは、前記第1のオブジェクトに使用可能であり、前記第1のオブジェクト以外のオブジェクトに対しては使用が制限され、
前記第2のアイテムは、前記第2のオブジェクト、および前記第2のオブジェクト以外のオブジェクトに対して使用可能である。
【0006】
本開示に示す一実施形態に係る情報処理システムは、
1または複数の情報処理装置を備える情報処理システムであって、
抽選によって選択された獲得オブジェクトが、ユーザが既に所持し、かつ特定の条件を満たす第1のオブジェクトと共通である場合、第1のアイテムを前記ユーザに付与し、
前記獲得オブジェクトが、前記ユーザが既に所持し、かつ特定の条件を満たさない第2のオブジェクトと共通である場合、第2のアイテムを前記ユーザに付与し、
前記第1のアイテムは、前記第1のオブジェクトに使用可能であり、前記第1のオブジェクト以外のオブジェクトに対しては使用が制限され、
前記第2のアイテムは、前記第2のオブジェクト、および前記第2のオブジェクト以外のオブジェクトに対して使用可能である。
【発明の効果】
【0007】
本開示によれば、ユーザの興趣性を向上させることができる。
【図面の簡単な説明】
【0008】
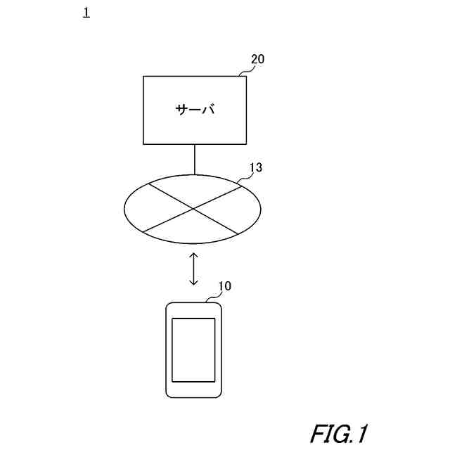
図1は、本開示の実施形態に係る情報処理システムの構成を示す図である。
図2は、本開示の第1の実施形態に係るサーバの構成を示すブロック図である。
図3は、抽選処理の後にゲーム媒体の付与が行われる際の制御部の動作の流れを示すフローチャートである。
図4は、図2に示す付与部により獲得オブジェクトが付与される際に表示されるゲーム画面の一例を示す図である。
図5は、図2に示す付与部により変動アイテムが付与される際に表示されるゲーム画面の一例を示す図である。
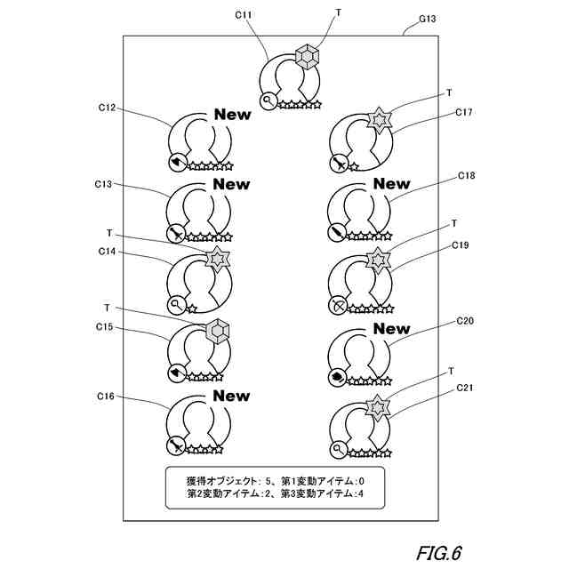
図6は、図2に示す抽選部による抽選処理が連続して実行された場合における、抽選処理の結果を示すゲーム画面の一例を示す図である。
図7は、図2に示すパラメータ変動部により所持オブジェクトのパラメータの変動が実行される際の操作画面の一例を示す図(その1)である。
図8は、図2に示すパラメータ変動部により所持オブジェクトのパラメータの変動が実行される際の操作画面の一例を示す図(その2)である。
図9は、パラメータ変動部によるパラメータの変動量と、パラメータの段階との関係の一例を示す図である。
図10は、オブジェクトの属性を変更するための操作画面の一例を示す図である。
図11は、本開示の第2の実施形態に係るサーバの構成を示すブロック図である。
図12は、第2の実施形態に係る、抽選処理の後にゲーム媒体の付与が行われる際の付与部の動作の流れを示すフローチャートである。
図13は、第2の実施形態に係る付与部によって固有変動アイテムが付与される場合における、抽選処理の結果を示すゲーム画面を示す図である。
図14は、本開示の第3の実施形態に係るサーバの構成を示すブロック図である。
図15は、第3の実施形態に係る、抽選処理の後にゲーム媒体の付与が行われる際の付与部の動作の流れを示すフローチャートである。
図16は、図14に示すパラメータ変動部によるパラメータの変動処理の方法を説明するための図である。
【発明を実施するための形態】
【0009】
以下、この技術的思想の実施形態について図面を参照しながら詳細に説明する。以下の説明では、同一の部品等には同一の符号を付してある。それらの名称および機能も同じである。したがって、それらについての詳細な説明は繰り返さない。
【0010】
<第1の実施形態>
[情報処理システムの構成]
図1は、本開示の第1の実施形態に係る情報処理システム1の構成を示す図である。図1に示すように、情報処理システム1は、ユーザが使用する端末10と、サーバ(コンピュータ)20とを含み、これらの装置がネットワーク13を介して互いに通信可能に接続されている。
(【0011】以降は省略されています)
この特許をJ-PlatPat(特許庁公式サイト)で参照する
関連特許
株式会社コロプラ
プログラム
1か月前
株式会社コロプラ
プログラム
5日前
株式会社コロプラ
プログラム
5日前
株式会社コロプラ
プログラム
28日前
株式会社コロプラ
プログラム
8日前
株式会社コロプラ
プログラム
19日前
株式会社コロプラ
プログラム
26日前
株式会社コロプラ
プログラム及びシステム
今日
株式会社コロプラ
プログラム及びシステム
28日前
株式会社コロプラ
プログラム及びシステム
28日前
株式会社コロプラ
プログラム及びシステム
25日前
株式会社コロプラ
プログラムおよびシステム
26日前
株式会社コロプラ
プログラムおよびシステム
26日前
株式会社コロプラ
プログラム、およびシステム
26日前
株式会社コロプラ
プログラム、およびシステム
27日前
株式会社コロプラ
プログラム、情報処理システム
26日前
株式会社コロプラ
プログラム及び情報処理システム
26日前
株式会社コロプラ
プログラム及び情報処理システム
28日前
株式会社コロプラ
プログラム、及び情報処理システム
26日前
株式会社コロプラ
プログラムおよび情報処理システム
26日前
株式会社コロプラ
プログラム、及び情報処理システム
26日前
株式会社コロプラ
プログラムおよび情報処理システム
26日前
株式会社コロプラ
プログラムおよび情報処理システム
26日前
株式会社コロプラ
プログラムおよび情報処理システム
26日前
株式会社コロプラ
プログラムおよび情報処理システム
26日前
株式会社コロプラ
プログラムおよび情報処理システム
26日前
株式会社コロプラ
ゲーム用プログラム
19日前
株式会社コロプラ
プログラム及びシステム
今日
株式会社コロプラ
プログラム、およびシステム
21日前
株式会社コロプラ
プログラム、及び、システム
21日前
株式会社コロプラ
プログラム、及び、システム
1か月前
株式会社コロプラ
プログラム、情報処理システム
1か月前
株式会社コロプラ
プログラム、及び情報処理システム
21日前
株式会社コロプラ
プログラムおよび情報処理システム
21日前
株式会社コロプラ
プログラムおよび情報処理システム
7日前
個人
玩具
4か月前
続きを見る
他の特許を見る