TOP
|
特許
|
意匠
|
商標
特許ウォッチ
Twitter
他の特許を見る
公開番号
2025146881
公報種別
公開特許公報(A)
公開日
2025-10-03
出願番号
2025123177,2024082367
出願日
2025-07-23,2023-10-31
発明の名称
プログラム、及び、システム
出願人
株式会社コロプラ
代理人
弁理士法人武和国際特許事務所
主分類
A63F
13/69 20140101AFI20250926BHJP(スポーツ;ゲーム;娯楽)
要約
【課題】ゲームで扱うアイテム等のゲーム内要素に関する設定作業の負荷を軽減させる。
【解決手段】プログラムは、コンピュータを、ストーリデータ、及び、ログデータを含む学習データを用いて学習した学習済みモデルに対し、ゲーム内におけるプレイヤの操作に関するログデータが入力されると、ゲーム内要素に関する出力データを生成する生成手段と、前記出力データに基づき、前記ゲーム内要素を前記ゲーム内に登場させ、前記ゲーム内要素を用いて前記ゲームを進行可能とする進行手段として機能させるして機能させる。
【選択図】図11
特許請求の範囲
【請求項1】
コンピュータを、
所定の学習データを用いて学習した学習済みモデルに対し、ゲームのストーリに関するストーリデータ、ゲーム内におけるプレイヤのキャラクタデータ、及び、ゲーム内におけるプレイヤの行動に関するログデータが入力データとして入力されると、ゲーム内要素に関する出力データを新たに生成する生成手段と、
新たに生成された前記出力データに基づき、前記ゲーム内要素を前記ゲーム内に登場させ、当該ゲーム内要素を用いて前記ゲームを進行可能とする進行手段と、して機能させ、
前記生成手段は、
前記キャラクタデータの内容が所定の場合に、当該キャラクタデータの内容に対応した種類の前記ゲーム内要素を生成可能とする、プログラム。
続きを表示(約 320 文字)
【請求項2】
所定の学習データを用いて学習した学習済みモデルに対し、ゲームのストーリに関するストーリデータ、ゲーム内におけるプレイヤのキャラクタデータ、及び、ゲーム内におけるプレイヤの行動に関するログデータが入力データとして入力されると、ゲーム内要素に関する出力データを新たに生成する生成手段と、
新たに生成された前記出力データに基づき、前記ゲーム内要素を前記ゲーム内に登場させ、当該ゲーム内要素を用いて前記ゲームを進行可能とする進行手段と、を備え、
前記生成手段は、
前記キャラクタデータの内容が所定の場合に、当該キャラクタデータの内容に対応した種類の前記ゲーム内要素を生成可能とする、システム。
発明の詳細な説明
【技術分野】
【0001】
本発明は、プログラム、及び、システムに関する。
続きを表示(約 1,300 文字)
【背景技術】
【0002】
従来、コンピュータを利用したゲーム(以下単に「ゲーム」という。)内において、ゲーム内で使用するアイテム(item)をユーザのプレイに応じて付与する技術が知られている。
【0003】
例えば、ゲーム内、すなわち、仮想空間にあるカジノにおいて、カジノゲームで勝利すると、プレイヤは仮想通貨を取得する。そして、仮想通貨の量が所定量を超えると、プレイヤに通知がされる。そして、仮想通貨は、ゲーム内における交換所で、ゲーム内で使用可能なアイテムと交換が可能である。このようにして、プレイヤに仮想通貨を獲得させるモチベーションを持たせる技術が知られている(例えば、特許文献1等である)。
【先行技術文献】
【特許文献】
【0004】
特開2016-29957号公報
【発明の概要】
【発明が解決しようとする課題】
【0005】
しかしながら、従来の技術は、アイテム等のゲーム内要素を登場、交換、使用、付与、売買、改良、又は、取得等とするような状況において、これらの各状況に応じた事前の設定をゲームの開発段階で規定しておく必要がある。つまり、一のゲーム内要素について、各状況に対応する挙動を1つ1つ設定する必要があり、状況が増えれば増えるほどゲーム内要素を事前に設定する作業負荷が増加していくことになっていた。
【0006】
本発明は、ゲームで扱うアイテム等のゲーム内要素に関する設定作業の負荷を軽減させることを目的とする。
【課題を解決するための手段】
【0007】
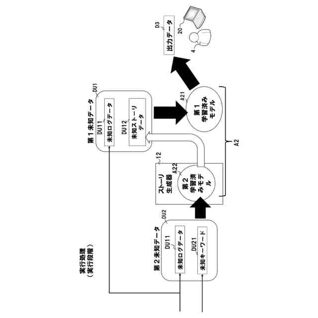
本発明によって上記の課題を解決するため、プログラムは、コンピュータを、ストーリデータ、及び、ログデータを含む学習データを用いて学習した学習済みモデルに対し、ゲーム内におけるプレイヤの操作に関するログデータが入力されると、ゲーム内要素に関する出力データを生成する生成手段と、前記出力データに基づき、前記ゲーム内要素を前記ゲーム内に登場させ、前記ゲーム内要素を用いて前記ゲームを進行可能とする進行手段として機能させる。
【発明の効果】
【0008】
本発明によれば、ゲームで扱うアイテム等のゲーム内要素に関する設定作業の負荷を軽減できる。
【図面の簡単な説明】
【0009】
本実施形態に係るシステム構成例を示す図である。
事前処理例を示す図である。
実行処理例を示す図である。
AIの学習、及び、実行の全体処理例を示す図である。
情報処理装置のハードウェア構成例を示す図である。
AIの構成例を示すネットワーク図である。
RPGにおける第1学習モデルの学習処理の例を示す図である。
RPGにおける第2学習モデルの学習処理の例を示す図である。
RPGにおける実行処理の例を示す図である。
全体処理例を示す図である。
機能構成例を示す図である。
補助装置を用いる構成例を示す図である。
【発明を実施するための形態】
【0010】
以下、実施形態を図面に基づいて説明する。
(【0011】以降は省略されています)
この特許をJ-PlatPat(特許庁公式サイト)で参照する
関連特許
株式会社コロプラ
プログラム
1か月前
株式会社コロプラ
プログラム
7日前
株式会社コロプラ
プログラム
7日前
株式会社コロプラ
プログラム
1か月前
株式会社コロプラ
プログラム
10日前
株式会社コロプラ
プログラム
21日前
株式会社コロプラ
プログラム
28日前
株式会社コロプラ
プログラム及びシステム
2日前
株式会社コロプラ
プログラム及びシステム
1か月前
株式会社コロプラ
プログラム及びシステム
1か月前
株式会社コロプラ
プログラム及びシステム
27日前
株式会社コロプラ
プログラムおよびシステム
28日前
株式会社コロプラ
プログラムおよびシステム
28日前
株式会社コロプラ
プログラム、およびシステム
28日前
株式会社コロプラ
プログラム、およびシステム
29日前
株式会社コロプラ
プログラム、情報処理システム
28日前
株式会社コロプラ
プログラム及び情報処理システム
28日前
株式会社コロプラ
プログラム及び情報処理システム
1か月前
株式会社コロプラ
プログラム、及び情報処理システム
28日前
株式会社コロプラ
プログラムおよび情報処理システム
28日前
株式会社コロプラ
プログラム、及び情報処理システム
28日前
株式会社コロプラ
プログラムおよび情報処理システム
28日前
株式会社コロプラ
プログラムおよび情報処理システム
28日前
株式会社コロプラ
プログラムおよび情報処理システム
28日前
株式会社コロプラ
プログラムおよび情報処理システム
28日前
株式会社コロプラ
プログラムおよび情報処理システム
28日前
株式会社コロプラ
ゲーム用プログラム
21日前
株式会社コロプラ
プログラム及びシステム
2日前
株式会社コロプラ
プログラム、およびシステム
23日前
株式会社コロプラ
プログラム、及び、システム
23日前
株式会社コロプラ
プログラム、及び、システム
1か月前
株式会社コロプラ
プログラム、情報処理システム
1か月前
株式会社コロプラ
プログラム、及び情報処理システム
23日前
株式会社コロプラ
プログラムおよび情報処理システム
23日前
株式会社コロプラ
プログラムおよび情報処理システム
9日前
個人
玩具
1か月前
続きを見る
他の特許を見る