TOP
|
特許
|
意匠
|
商標
特許ウォッチ
Twitter
他の特許を見る
10個以上の画像は省略されています。
公開番号
2025151544
公報種別
公開特許公報(A)
公開日
2025-10-09
出願番号
2024053035
出願日
2024-03-28
発明の名称
プログラムおよびシステム
出願人
株式会社コロプラ
代理人
弁理士法人RYUKA国際特許事務所
主分類
A63F
13/795 20140101AFI20251002BHJP(スポーツ;ゲーム;娯楽)
要約
【課題】興趣性を向上させること。
【解決手段】コンピュータを、参加条件を満たすユーザが端末を介して参加可能なイベントの処理を実行するイベント実行部と、前記参加条件の少なくとも一部を満たさない第1ユーザを、前記第1ユーザと予め定められた関係を結んでいる第2ユーザが前記イベントに参加することを参加条件として、前記イベントへ参加させる参加決定部として機能させるプログラムを提供する。上記のプログラムは、前記コンピュータを、複数のユーザにより結成されるグループを管理するグループ管理部として機能させ、前記参加決定部は、前記第1ユーザが前記第2ユーザと同一の前記グループに属する場合に、前記第2ユーザが前記第1ユーザと前記予め定められた関係を結んでいると判定してよい。
【選択図】図6
特許請求の範囲
【請求項1】
コンピュータを、
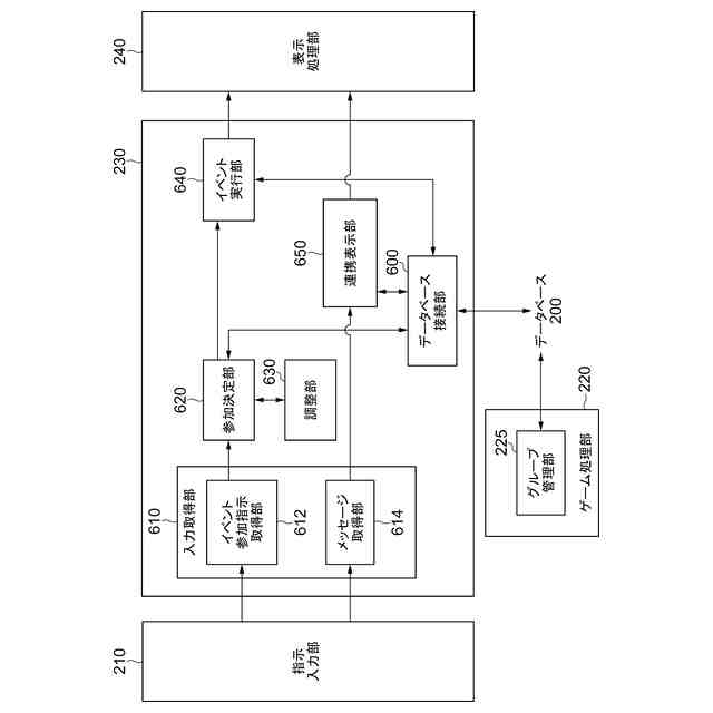
参加条件を満たすユーザが端末装置を介して参加可能なイベントの処理を実行するイベント実行部と、
前記参加条件の少なくとも一部を満たさない第1ユーザを、前記第1ユーザと予め定められた関係を結んでいる第2ユーザが前記イベントに参加することを参加条件として、前記イベントへ参加させる参加決定部と
して機能させるプログラム。
続きを表示(約 1,200 文字)
【請求項2】
前記コンピュータを、複数のユーザにより結成されるグループを管理するグループ管理部として機能させ、
前記参加決定部は、前記第1ユーザが前記第2ユーザと同一の前記グループに属する場合に、前記第2ユーザが前記第1ユーザと前記予め定められた関係を結んでいると判定する請求項1に記載のプログラム。
【請求項3】
前記グループ管理部は、予め定められたグループ解消条件が満たされたことに応じて、前記グループを解消させる請求項2に記載のプログラム。
【請求項4】
前記参加決定部は、前記イベントへの参加人数が上限に達している場合において、前記第2ユーザが前記イベントに参加することを条件として前記第1ユーザを前記イベントへ参加させる請求項1に記載のプログラム。
【請求項5】
前記コンピュータを、参加人数が上限に達している前記イベントに前記第1ユーザが参加することに応じて、前記イベントに参加するノンプレイヤキャラクタの数を減らし、または前記イベントに参加予定若しくは参加中の他のユーザを別のイベントへの参加に切り替える調整部として機能させる請求項4に記載のプログラム。
【請求項6】
前記参加決定部は、前記イベントの参加募集が終了している場合において、前記第2ユーザが前記イベントに参加していることを条件として前記第1ユーザを前記イベントへ参加させる請求項1に記載のプログラム。
【請求項7】
前記イベントは、ゲーム内における敵キャラクタ、敵ユーザ、または敵ユーザのグループとの競争または戦闘であり、
前記参加決定部は、前記第1ユーザのパラメータが前記イベントの参加パラメータ条件を満たさない場合において、前記第2ユーザが前記イベントに参加することを条件として前記第1ユーザを前記イベントへ参加させる請求項1に記載のプログラム。
【請求項8】
前記参加決定部は、前記参加パラメータ条件を満たさずに前記イベントに参加する前記第1ユーザに対し、前記イベントで要求される制約の少なくとも一部を緩和する請求項7に記載のプログラム。
【請求項9】
前記コンピュータを、前記イベントに参加している前記第2ユーザの、前記イベント内での状態、または前記第2ユーザの端末装置に入力されたメッセージを、前記第1ユーザの端末装置に表示させる連携表示部として機能させる請求項1に記載のプログラム。
【請求項10】
参加条件を満たすユーザが端末装置を介して参加可能なイベントの処理を実行するイベント実行部と、
前記参加条件の少なくとも一部を満たさない第1ユーザを、前記第1ユーザと予め定められた関係を結んでいる第2ユーザが前記イベントに参加することを参加条件として、前記イベントへ参加させる参加決定部と
を備えるシステム。
発明の詳細な説明
【技術分野】
【0001】
本発明は、プログラムおよびシステムに関する。
続きを表示(約 1,500 文字)
【背景技術】
【0002】
特許文献1には、「受付部101は、ユーザから、ステップS20で検索された1以上のユーザグループの中から、加入を希望するユーザグループの選択を受付ける。」(段落0047)と記載されている。特許文献2には、「対象プレイヤがゲストとしてイベントに参加しようとする場合、ホストである他のプレイヤを、対象プレイヤが接近する第1ゲートの出現地点の周辺にて探索して、その範囲でホストが見つからない場合には探索範囲を広げて再度探索する。」(段落0099)と記載されている。
[先行技術文献]
[特許文献]
[特許文献1] 特開2023-152620号公報
[特許文献2] 特開2022-44716号公報
【発明の概要】
【0003】
本発明の第1の態様においては、コンピュータを、参加条件を満たすユーザが端末装置を介して参加可能なイベントの処理を実行するイベント実行部と、前記参加条件の少なくとも一部を満たさない第1ユーザを、前記第1ユーザと予め定められた関係を結んでいる第2ユーザが前記イベントに参加することを参加条件として、前記イベントへ参加させる参加決定部として機能させるプログラムを提供する。
【0004】
上記のプログラムは、前記コンピュータを、複数のユーザにより結成されるグループを管理するグループ管理部として機能させ、前記参加決定部は、前記第1ユーザが前記第2ユーザと同一の前記グループに属する場合に、前記第2ユーザが前記第1ユーザと前記予め定められた関係を結んでいると判定してよい。
【0005】
上記のプログラムにおいて、前記グループ管理部は、予め定められたグループ解消条件が満たされたことに応じて、前記グループを解消させてよい。
【0006】
上記のいずれかのプログラムにおいて、前記参加決定部は、前記イベントへの参加人数が上限に達している場合において、前記第2ユーザが前記イベントに参加することを条件として前記第1ユーザを前記イベントへ参加させてよい。
【0007】
上記のいずれかのプログラムは、前記コンピュータを、参加人数が上限に達している前記イベントに前記第1ユーザが参加することに応じて、前記イベントに参加するノンプレイヤキャラクタの数を減らし、または前記イベントに参加予定若しくは参加中の他のユーザを開催中の別のイベントへの参加に切り替える調整部として機能させてよい。
【0008】
上記のいずれかのプログラムにおいて、前記参加決定部は、前記イベントの参加募集が終了している場合において、前記第2ユーザが前記イベントに参加していることを条件として前記第1ユーザを前記イベントへ参加させてよい。
【0009】
上記のいずれかのプログラムにおいて、前記イベントは、ゲーム内における敵キャラクタ、敵ユーザ、または敵ユーザのグループとの競争または戦闘であり、前記参加決定部は、前記第1ユーザのパラメータが前記イベントの参加パラメータ条件を満たさない場合において、前記第2ユーザが前記イベントに参加することを条件として前記第1ユーザを前記イベントへ参加させてよい。
【0010】
上記のいずれかのプログラムにおいて、前記参加決定部は、前記参加パラメータ条件を満たさずに前記イベントに参加する前記第1ユーザに対し、前記イベントで要求される制約の少なくとも一部を緩和してよい。
(【0011】以降は省略されています)
この特許をJ-PlatPat(特許庁公式サイト)で参照する
関連特許
株式会社コロプラ
プログラム
5日前
株式会社コロプラ
プログラム
5日前
株式会社コロプラ
プログラム
1か月前
株式会社コロプラ
プログラム
8日前
株式会社コロプラ
プログラム
1か月前
株式会社コロプラ
プログラム
19日前
株式会社コロプラ
プログラム
1か月前
株式会社コロプラ
プログラム
28日前
株式会社コロプラ
プログラム
26日前
株式会社コロプラ
プログラム及びシステム
1か月前
株式会社コロプラ
プログラム及びシステム
今日
株式会社コロプラ
プログラム及びシステム
1か月前
株式会社コロプラ
プログラム及びシステム
25日前
株式会社コロプラ
プログラム及びシステム
28日前
株式会社コロプラ
プログラム及びシステム
28日前
株式会社コロプラ
プログラムおよびシステム
26日前
株式会社コロプラ
プログラムおよびシステム
1か月前
株式会社コロプラ
プログラムおよびシステム
26日前
株式会社コロプラ
プログラム、およびシステム
26日前
株式会社コロプラ
プログラム、およびシステム
27日前
株式会社コロプラ
プログラム、情報処理システム
1か月前
株式会社コロプラ
プログラム、情報処理システム
26日前
株式会社コロプラ
プログラム及び情報処理システム
26日前
株式会社コロプラ
プログラム及び情報処理システム
28日前
株式会社コロプラ
プログラムおよび情報処理システム
26日前
株式会社コロプラ
プログラムおよび情報処理システム
1か月前
株式会社コロプラ
プログラムおよび情報処理システム
1か月前
株式会社コロプラ
プログラムおよび情報処理システム
1か月前
株式会社コロプラ
プログラムおよび情報処理システム
26日前
株式会社コロプラ
プログラムおよび情報処理システム
26日前
株式会社コロプラ
プログラムおよび情報処理システム
26日前
株式会社コロプラ
プログラム、及び情報処理システム
26日前
株式会社コロプラ
プログラム、及び情報処理システム
26日前
株式会社コロプラ
プログラムおよび情報処理システム
26日前
株式会社コロプラ
プログラムおよび情報処理システム
26日前
株式会社コロプラ
プログラム
1か月前
続きを見る
他の特許を見る