TOP
|
特許
|
意匠
|
商標
特許ウォッチ
Twitter
他の特許を見る
10個以上の画像は省略されています。
公開番号
2025140197
公報種別
公開特許公報(A)
公開日
2025-09-29
出願番号
2024039412
出願日
2024-03-13
発明の名称
プログラム及びシステム
出願人
株式会社コロプラ
代理人
弁理士法人武和国際特許事務所
主分類
A63F
13/65 20140101AFI20250919BHJP(スポーツ;ゲーム;娯楽)
要約
【課題】興趣性を向上させることができるプログラムを提供する。
【解決手段】プログラムは、コンピュータに、所定期間において、プレイヤが目的地として第1のタイミングで選択可能な候補地を、第1のタイミングよりも時系列が後の第2のタイミングで選択可能な候補地と比較して、プレイヤの現在地を含む設置不可領域の近傍に多く設置させる。
【選択図】図9
特許請求の範囲
【請求項1】
コンピュータに、所定期間において、プレイヤが目的地として第1のタイミングで選択可能な候補地を、前記第1のタイミングよりも時系列が後の第2のタイミングで選択可能な前記候補地と比較して、前記プレイヤの現在地を含む設置不可領域の近傍に多く設置させる、プログラム。
続きを表示(約 1,300 文字)
【請求項2】
請求項1に記載のプログラムにおいて、
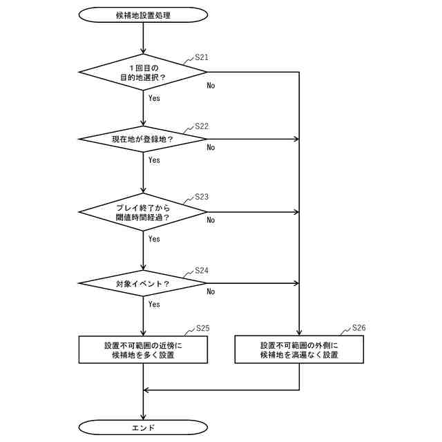
前記コンピュータに、前記現在地が予め登録された登録地から所定の範囲内である場合に、1回目に選択可能な前記候補地を、2回目に選択可能な前記候補地と比較して、前記設置不可領域の近傍に多く設置させる、プログラム。
【請求項3】
請求項1に記載のプログラムにおいて、
前記コンピュータに、直近にプレイを終了してからの経過時間が閾値時間を超えている場合に、1回目に選択可能な前記候補地を、2回目に選択可能な前記候補地と比較して、前記設置不可領域の近傍に多く設置させる、プログラム。
【請求項4】
請求項1に記載のプログラムにおいて、
前記コンピュータに、
複数のイベントのうちから前記プレイヤが選択した前記イベントを進行させる場所として、複数の前記候補地のうちから前記プレイヤに前記目的地を選択させ、
前記プレイヤが対象イベントを選択した場合に、1回目に選択可能な前記候補地を、2回目に選択可能な前記候補地と比較して、前記設置不可領域の近傍に多く設置させる、プログラム。
【請求項5】
請求項1に記載のプログラムにおいて、
前記コンピュータに、前記所定期間において、1回目に選択した第1目的地に対して所定の位置条件を満たした場合に、前記現在地からの距離が前記第1目的地と同じで且つ2回目に選択した第2目的地に対して前記所定の位置条件を満たした場合より、多くの報酬を前記プレイヤに付与させる、プログラム。
【請求項6】
請求項1に記載のプログラムにおいて、
前記コンピュータに、前記所定期間内の1回目からm(m≧2)回目までの前記目的地の選択において、前記目的地の選択回数が増加する程、前記設置不可領域の近傍に設置される前記候補地の割合を徐々に減少させる、プログラム。
【請求項7】
請求項6に記載のプログラムにおいて、
前記コンピュータに、前記所定期間内のn(n≧m+1)回目以降の前記目的地の選択において、前記目的地の選択回数が増加する程、前記設置不可領域の近傍に設置される前記候補地の割合を徐々に増加させる、プログラム。
【請求項8】
請求項1に記載のプログラムにおいて、
前記コンピュータに、前記現在地の天気に応じて、前記設置不可領域の近傍に設置される前記候補地の割合を変更させる、プログラム。
【請求項9】
請求項8に記載のプログラムにおいて、
前記コンピュータに、前記現在地が晴れの場合に、前記現在地が晴れ以外の場合と比較して、前記設置不可領域の近傍に設置される前記候補地の割合を減少させる、プログラム。
【請求項10】
請求項9に記載のプログラムにおいて、
前記コンピュータに、前記現在地の気温が第1閾値以上である場合に、前記現在地の気温が前記第1閾値未満の場合と比較して、屋内の前記候補地の割合を増加させる、プログラム。
(【請求項11】以降は省略されています)
発明の詳細な説明
【技術分野】
【0001】
本発明は、プログラム及びシステムに関する。
続きを表示(約 1,600 文字)
【背景技術】
【0002】
従来より、現実空間の位置に対応付けられたフィールド上に目的地を設置し、プレイヤが目的地に到達したことに応じてイベントを進行させる、所謂「位置情報ゲーム」が知られている(例えば、特許文献1を参照)。
【先行技術文献】
【特許文献】
【0003】
特開2023-23157号公報
【発明の概要】
【発明が解決しようとする課題】
【0004】
位置情報ゲームでは、プレイヤの現在地を含む所定の範囲に目的地を設置できないのが一般的である。そのため、自宅などにいるプレイヤは、ゲームを開始するために外出する必要がある。その結果、最初の目的地に向かうハードルが高くなって、興趣性の向上に改善の余地がある。
【0005】
本発明は、上記の事情に鑑みてなされたものであり、その目的は、興趣性を向上させることができるプログラムを提供することにある。
【課題を解決するための手段】
【0006】
前記課題を解決するため、本発明に係るプログラムは、コンピュータに、所定期間において、プレイヤが目的地として第1のタイミングで選択可能な候補地を、前記第1のタイミングよりも時系列が後の第2のタイミングで選択可能な前記候補地と比較して、前記プレイヤの現在地を含む設置不可領域の近傍に多く設置させる。
【発明の効果】
【0007】
本発明によれば、興趣性が向上する。
【図面の簡単な説明】
【0008】
本実施形態に係るシステムの概要を示す図である。
サーバのハードウェア構成図である。
ユーザ端末のハードウェア構成図である。
フィールド上の候補地の配置例を示す図である。
候補地テーブル(A)及び登録地情報(B)の例である。
位置情報ゲーム制御処理のフローチャートである。
イベント選択画面(A)及び目的地選択画面(B)の表示例である。
第1実施形態に係る候補地設置処理のフローチャートである。
第1実施形態に係る候補地設置処理で候補地が設置されたフィールドの例である。
変形例1に係る候補地設置処理で候補地を設置する方法を説明する図である。
目的地の選択回数(または、プレイ時間)に応じた候補地の変遷を示すグラフである。
第2実施形態に係る候補地設置パターンの例である。
晴れの日のフィールドの例である。
降雨または降雪の日のフィールドの例である。
積雪または雷の日のフィールドの例である。
【発明を実施するための形態】
【0009】
以下、実施形態に係るシステム1を図面に基づいて説明する。なお、以下に記載する本発明の実施形態は、本発明を具体化する際の一例を示すものであって、本発明の範囲を実施形態の記載の範囲に限定するものではない。従って、本発明は、実施形態に種々の変更を加えて実施することができる。
【0010】
[システム1の概要]
図1は、本実施形態に係るシステム1の概要を示す図である。図1に示すように、システム1は、サーバ10と、ユーザ端末20A、20B、20C、20D(以下、これらを総称して、「ユーザ端末20」と表記することがある。)とを主に備える。なお、図1には4つのユーザ端末20が図示されているが、システム1に含まれるユーザ端末20の例はこれに限定されない。サーバ10及びユーザ端末20は、通信ネットワーク2を介して相互通信可能に接続されている。通信ネットワーク2の具体例は特に限定されないが、例えば、インターネット、移動体通信システム(例えば、4G、5Gなど)、Wi-Fi(登録商標)などの無線ネットワーク、またはこれらの組み合わせで構成される。
(【0011】以降は省略されています)
この特許をJ-PlatPat(特許庁公式サイト)で参照する
関連特許
株式会社コロプラ
プログラム
6日前
株式会社コロプラ
プログラム
6日前
株式会社コロプラ
プログラム
9日前
株式会社コロプラ
プログラム
20日前
株式会社コロプラ
プログラム及びシステム
1日前
株式会社コロプラ
プログラム及びシステム
26日前
株式会社コロプラ
ゲーム用プログラム
20日前
株式会社コロプラ
プログラム及びシステム
1日前
株式会社コロプラ
プログラム、及び、システム
22日前
株式会社コロプラ
プログラム、およびシステム
22日前
株式会社コロプラ
プログラムおよび情報処理システム
8日前
株式会社コロプラ
プログラムおよび情報処理システム
22日前
株式会社コロプラ
プログラム、及び情報処理システム
22日前
個人
玩具
4か月前
個人
玩具
1か月前
個人
自走玩具
1か月前
個人
小型卓球台
8日前
個人
ゲーム玩具
5か月前
個人
運動補助具
3か月前
個人
パズル
9日前
個人
打撃練習用具
27日前
株式会社三共
遊技機
1か月前
株式会社三共
遊技機
1か月前
株式会社三共
遊技機
1か月前
株式会社三共
遊技機
1か月前
株式会社三共
遊技機
1か月前
株式会社三共
遊技機
1か月前
株式会社三共
遊技機
1か月前
株式会社三共
遊技機
1か月前
株式会社三共
遊技機
1か月前
株式会社三共
遊技機
1か月前
株式会社三共
遊技機
1か月前
株式会社三共
遊技機
1か月前
株式会社三共
遊技機
1か月前
株式会社三共
遊技機
1か月前
株式会社三共
遊技機
1か月前
続きを見る
他の特許を見る