TOP
|
特許
|
意匠
|
商標
特許ウォッチ
Twitter
他の特許を見る
10個以上の画像は省略されています。
公開番号
2025156430
公報種別
公開特許公報(A)
公開日
2025-10-14
出願番号
2025127289,2024076529
出願日
2025-07-30,2023-09-28
発明の名称
プログラム、及び、システム
出願人
株式会社コロプラ
代理人
弁理士法人武和国際特許事務所
主分類
A63F
13/216 20140101AFI20251002BHJP(スポーツ;ゲーム;娯楽)
要約
【課題】位置情報取得の状態による不具合が生じるのを防ぐ。
【解決手段】プログラムは、コンピュータに、ユーザが利用するアカウントに関連付けられた第1位置情報によりイベントを進行させ、前記第1位置情報が取得できない場合、操作用のGUIを出力し、前記操作用のGUIで前記ユーザが入力する情報により、前記イベントを進行させ、前記操作用のGUIによるイベントの進行を制限することを可能にさせる。
【選択図】図12
特許請求の範囲
【請求項1】
コンピュータを、
ユーザの現実空間の位置情報を利用することでゲーム上の仮想空間のキャラクタを移動させることが可能なゲームにおいて、
ユーザが利用するアカウントに関連付けられた端末の現在の現実空間のユーザの位置情報によりキャラクタを移動させる第1の進行手段と、
前記ゲーム上に表示した操作用のGUIをユーザが使用する端末のタッチパネルを操作することで前記仮想空間に配置されているキャラクタを移動させる第2の進行手段として機能させ、
前記第1の進行手段を使用中は、前記キャラクタの移動量に関する制限がなく、前記ユーザの現実空間の位置情報に応じて前記キャラクタを移動させ、かつ、前記第1の進行手段を使用している最中に進行可能なゲームの複数のイベントを進行させることが可能であり、
前記第2の進行手段を使用中は、前記キャラクタの移動量に関する制限があり、前記ユーザが操作する前記操作用のGUIの操作に応じて前記キャラクタを移動させ、かつ、前記第1の進行手段を使用している最中に進行可能な前記複数のイベントの少なくとも1つ以上に対して進行の制限をする、
プログラム。
続きを表示(約 850 文字)
【請求項2】
前記第2の進行手段で前記キャラクタの移動を開始する場合、前記第1の進行手段で進行させた位置から引き継いで前記キャラクタを移動させる、請求項1に記載のプログラム。
【請求項3】
前記第2の進行手段で前記キャラクタの移動を開始する場合、前記第1の進行手段で進行させていた進行方向を引き継いで前記キャラクタを移動させる、請求項2に記載のプログラム。
【請求項4】
前記第2の進行手段を使用中のゲームの進行結果に応じた報酬は、前記第1の進行手段によるゲームの進行に切り替えるまで報酬の付与を保留させる、請求項1に記載のプログラム。
【請求項5】
前記報酬は、ゲームの進行結果を統計処理した統計結果に応じて付与される、請求項4に記載のプログラム。
【請求項6】
ユーザの現実空間の位置情報を利用することでゲーム上の仮想空間のキャラクタを移動させることが可能なゲームにおいて、
ユーザが利用するアカウントに関連付けられた端末の現在の現実空間のユーザの位置情報によりキャラクタを移動させる第1の進行手段と、
前記ゲーム上に表示した操作用のGUIをユーザが使用する端末のタッチパネルを操作することで前記仮想空間に配置されているキャラクタを移動させる第2の進行手段とを備え、
前記第1の進行手段を使用中は、前記キャラクタの移動量に関する制限がなく、前記ユーザの現実空間の位置情報に応じて前記キャラクタを移動させ、かつ、前記第1の進行手段を使用している最中に進行可能なゲームの複数のイベントを進行させることが可能であり、
前記第2の進行手段を使用中は、前記キャラクタの移動量に関する制限があり、前記ユーザが操作する前記操作用のGUIの操作に応じて前記キャラクタを移動させ、かつ、前記第1の進行手段を使用している最中に進行可能な前記複数のイベントの少なくとも1つ以上に対して進行の制限をする、システム。
発明の詳細な説明
【技術分野】
【0001】
本発明は、プログラム、及び、システムに関する。
続きを表示(約 1,200 文字)
【背景技術】
【0002】
従来、Global Navigation Satellite System(GNSS)等の位置情報を利用したゲーム、又は、アプリケーションソフトウェアが知られている。具体的には、ユーザが操作する操作端末が、位置情報を取得する。そして、ユーザの位置情報に基づき、仮想マップ上でオブジェクトの位置を変更する技術が知られている(例えば、特許文献1等である)。
【先行技術文献】
【特許文献】
【0003】
特許6075489号公報
【発明の概要】
【発明が解決しようとする課題】
【0004】
本発明は、位置情報を利用するゲームにおいて、複数の進行手段でゲームを進行させることを目的とする。
【課題を解決するための手段】
【0005】
本発明は、前記課題を解決するため、プログラムは、
コンピュータに、
ユーザが利用するアカウントに関連付けられた第1位置情報によりイベントを進行させ、
前記第1位置情報が取得できない場合、操作用のGUIを出力し、前記操作用のGUIで前記ユーザが入力する情報により、前記イベントを進行させ、
前記操作用のGUIによるイベントの進行を制限することを可能にさせる。
【発明の効果】
【0006】
本発明によれば、位置情報を利用するゲームにおいて、複数の進行手段でゲームを進行させることができる。
【図面の簡単な説明】
【0007】
システムの構成例を示す図である。
情報処理装置のハードウェア構成例を示す図である。
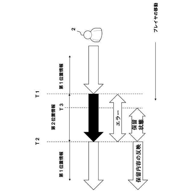
イベントの進行例を示す図である。
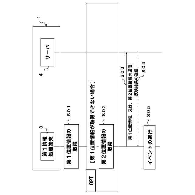
全体処理例を示すシーケンス図である。
第2位置情報の使用例である。
移動履歴情報の例を示す図である。
第2位置情報の使用の通知例を示す図である。
報酬の例を示す図である。
報酬の保留例を示す図である。
バーチャルパットの例を示す図である。
第2情報処理端末を用いる変形例を示す図である。
機能構成例を示す図である。
【発明を実施するための形態】
【0008】
以下、実施形態を図面に基づいて説明する。
【0009】
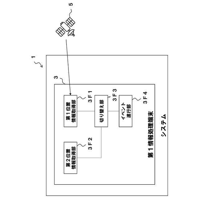
[システム構成例]
図1は、システムの構成例を示す図である。例えば、システム1は、第1情報処理端末3、及び、サーバ4等を有する構成である。
【0010】
第1情報処理端末3は、例えば、スマートフォン、パーソナルコンピューター、ゲーム機、スマートグラス(眼鏡型の端末である。)、リストバンド型の端末、又は、その他身体に取り付けるウェアラブルデバイス等である。
(【0011】以降は省略されています)
特許ウォッチbot のツイートを見る
この特許をJ-PlatPat(特許庁公式サイト)で参照する
関連特許
株式会社コロプラ
プログラム
26日前
株式会社コロプラ
プログラム
5日前
株式会社コロプラ
プログラム
5日前
株式会社コロプラ
プログラム
8日前
株式会社コロプラ
プログラム
28日前
株式会社コロプラ
プログラム
19日前
株式会社コロプラ
プログラム
1か月前
株式会社コロプラ
プログラム
1か月前
株式会社コロプラ
プログラム
1か月前
株式会社コロプラ
プログラム及びシステム
28日前
株式会社コロプラ
プログラム及びシステム
28日前
株式会社コロプラ
プログラム及びシステム
今日
株式会社コロプラ
プログラム及びシステム
1か月前
株式会社コロプラ
プログラム及びシステム
1か月前
株式会社コロプラ
プログラム及びシステム
1か月前
株式会社コロプラ
プログラム及びシステム
25日前
株式会社コロプラ
プログラムおよびシステム
1か月前
株式会社コロプラ
プログラムおよびシステム
1か月前
株式会社コロプラ
プログラムおよびシステム
26日前
株式会社コロプラ
プログラムおよびシステム
26日前
株式会社コロプラ
プログラム、およびシステム
26日前
株式会社コロプラ
プログラム、およびシステム
27日前
株式会社コロプラ
プログラム、情報処理システム
26日前
株式会社コロプラ
プログラム、情報処理システム
1か月前
株式会社コロプラ
プログラム及び情報処理システム
26日前
株式会社コロプラ
プログラム及び情報処理システム
28日前
株式会社コロプラ
プログラムおよび情報処理システム
1か月前
株式会社コロプラ
プログラムおよび情報処理システム
1か月前
株式会社コロプラ
プログラムおよび情報処理システム
1か月前
株式会社コロプラ
プログラムおよび情報処理システム
1か月前
株式会社コロプラ
プログラム、及び情報処理システム
2か月前
株式会社コロプラ
プログラムおよび情報処理システム
26日前
株式会社コロプラ
プログラムおよび情報処理システム
26日前
株式会社コロプラ
プログラム、及び情報処理システム
26日前
株式会社コロプラ
プログラムおよび情報処理システム
26日前
株式会社コロプラ
プログラムおよび情報処理システム
26日前
続きを見る
他の特許を見る