TOP
|
特許
|
意匠
|
商標
特許ウォッチ
Twitter
他の特許を見る
公開番号
2025143857
公報種別
公開特許公報(A)
公開日
2025-10-02
出願番号
2024043320
出願日
2024-03-19
発明の名称
プログラムおよび情報処理システム
出願人
株式会社コロプラ
代理人
個人
,
個人
,
個人
,
個人
主分類
A63F
13/79 20140101AFI20250925BHJP(スポーツ;ゲーム;娯楽)
要約
【課題】サービスの興趣性を向上させる。
【解決手段】プログラムは、コンピュータを、第1ユーザから依頼を受けた第2ユーザの現実空間における位置を示す位置情報を用いてゲームを進行させるゲーム制御手段と、第2ユーザの現実空間における移動に基づいて得た結果を第1ユーザに付与する付与手段と、として機能させる。
【選択図】図2
特許請求の範囲
【請求項1】
コンピュータを、
第1ユーザから依頼を受けた第2ユーザの現実空間における位置を示す位置情報を用いてゲームを進行させるゲーム制御手段と、
前記第2ユーザの現実空間における移動に基づいて得た結果を前記第1ユーザに付与する付与手段と、として機能させる
プログラム。
続きを表示(約 1,100 文字)
【請求項2】
コンピュータを、
前記依頼に基づき、前記第1ユーザのキャラクタを前記第2ユーザに貸与する貸与手段として機能させる
請求項1に記載のプログラム。
【請求項3】
前記付与手段は、前記第2ユーザの現実空間における移動に基づいて得た結果が前記第1ユーザに付与されることに基づき、前記第2ユーザに報酬を付与する
請求項1に記載のプログラム。
【請求項4】
コンピュータを、
前記第2ユーザの現実空間における位置を示す位置情報を用いて進行される前記ゲームの、前記第2ユーザによるプレイを視聴する視聴画面を前記第1ユーザに提供する提供手段として機能させる
請求項1~3のいずれか1項に記載のプログラム。
【請求項5】
コンピュータを、
前記ゲーム内のオブジェクトであって、前記視聴画面に表示されるオブジェクトに対する前記第1ユーザの操作を受け付ける操作受付手段として機能させる
請求項4に記載のプログラム。
【請求項6】
前記ゲーム制御手段は、前記第2ユーザの現実空間における位置を示す位置情報を用いて進行される前記ゲームを、前記第1ユーザの操作に基づいて進行可能である
請求項1~3のいずれか1項に記載のプログラム。
【請求項7】
コンピュータを、
前記第2ユーザの現実空間における位置を示す位置情報を用いて進行される前記ゲームをプレイする前記第2ユーザのプレイ画面に、前記依頼の達成条件を表示させる達成条件表示手段として機能させる
請求項1~3のいずれか1項に記載のプログラム。
【請求項8】
コンピュータを、
前記依頼に係るコード情報を発行する発行手段と、
前記第2ユーザによる前記コード情報を入力する操作を、前記依頼の受託に係る操作として受け付ける操作受付手段として機能させる
請求項1~3のいずれか1項に記載のプログラム。
【請求項9】
コンピュータを、
複数のユーザが表示されるリストの中から前記第2ユーザを選択する前記第1ユーザの操作を、依頼先のユーザを指定する操作として受け付ける操作受付手段として機能させる
請求項1~3のいずれか1項に記載のプログラム。
【請求項10】
コンピュータを、
前記第2ユーザの現実空間における位置を示す位置情報を用いて進行される前記ゲームにおいて前記第2ユーザが所定の条件を満たしたことを前記第1ユーザに通知する通知手段として機能させる
請求項1~3のいずれか1項に記載のプログラム。
(【請求項11】以降は省略されています)
発明の詳細な説明
【技術分野】
【0001】
本発明は、プログラムに関する。
続きを表示(約 1,200 文字)
【背景技術】
【0002】
従来、他のユーザにプレイを代行してもらうことが可能なゲームが知られている(例えば、特許文献1参照)。
【先行技術文献】
【特許文献】
【0003】
特開2018-011632号公報
【発明の概要】
【発明が解決しようとする課題】
【0004】
ところで、ゲーム等のサービスにおいては、興趣性を向上させることが求められている。
【0005】
本発明は、サービスの興趣性を向上させることを目的とする。
【課題を解決するための手段】
【0006】
本開示に示す一実施形態によれば、
コンピュータを、
第1ユーザから依頼を受けた第2ユーザの現実空間における位置を示す位置情報を用いてゲームを進行させるゲーム制御手段と、
前記第2ユーザの現実空間における移動に基づいて得た結果を前記第1ユーザに付与する付与手段と、として機能させる
プログラムが提供される。
【発明の効果】
【0007】
本発明によれば、サービスの興趣性を向上させることができる。
【図面の簡単な説明】
【0008】
情報処理システムの概略構成を示す図である。
情報処理システムの機能的構成を示すブロック図である。
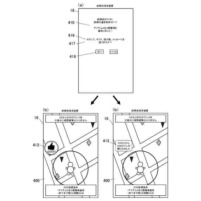
通常のプレイにおけるプレイ画面の一例を示す図である。
代行依頼に係る画面の一例を示す図である。
代行依頼に係る画面の一例を示す図である。
代行依頼に係る画面の一例を示す図である。
代行プレイにおけるプレイ画面の一例を示す図である。
代行プレイ中のコミュニケーションについて説明するための図である。
代行プレイの詳細の設定に係る画面の一例を示す図である。
代行プレイの中止に係る画面の一例を示す図である。
代行プレイを視聴する視聴画面の一例を示す図である。
代行プレイの配信を視聴する配信視聴画面の一例を示す図である。
代行プレイに係る複数のオファーがあった場合について説明するための図である。
代行プレイの中止に係る処理について説明するための図である。
代行依頼に係る処理の一例を示すフローチャートである。
代行プレイの進行に係る処理の一例を示すフローチャートである。
【発明を実施するための形態】
【0009】
以下、図面を参照しながら本発明の実施形態について説明する。
【0010】
<システムのハードウェア構成>
図1に示すように、本実施形態の情報処理システム1は、複数の端末装置10と、サーバ20とを備えている。
(【0011】以降は省略されています)
特許ウォッチbot のツイートを見る
この特許をJ-PlatPat(特許庁公式サイト)で参照する
関連特許
株式会社コロプラ
プログラム
6日前
株式会社コロプラ
プログラム
6日前
株式会社コロプラ
プログラム
9日前
株式会社コロプラ
プログラム
20日前
株式会社コロプラ
プログラム及びシステム
1日前
株式会社コロプラ
ゲーム用プログラム
20日前
株式会社コロプラ
プログラム及びシステム
1日前
株式会社コロプラ
プログラム、及び、システム
22日前
株式会社コロプラ
プログラム、およびシステム
22日前
株式会社コロプラ
プログラムおよび情報処理システム
8日前
株式会社コロプラ
プログラムおよび情報処理システム
22日前
株式会社コロプラ
プログラム、及び情報処理システム
22日前
個人
玩具
1か月前
個人
玩具
4か月前
個人
自走玩具
1か月前
個人
運動補助具
3か月前
個人
ゲーム玩具
5か月前
個人
小型卓球台
8日前
個人
パズル
9日前
個人
打撃練習用具
27日前
株式会社三共
遊技機
1か月前
株式会社三共
遊技機
1か月前
株式会社三共
遊技機
1か月前
株式会社三共
遊技機
1か月前
株式会社三共
遊技機
1か月前
株式会社三共
遊技機
1か月前
株式会社三共
遊技機
1か月前
株式会社三共
遊技機
1か月前
株式会社三共
遊技機
1か月前
株式会社三共
遊技機
1か月前
株式会社三共
遊技機
1か月前
株式会社三共
遊技機
1か月前
株式会社三共
遊技機
1か月前
株式会社三共
遊技機
1か月前
株式会社三共
遊技機
1か月前
株式会社三共
遊技機
1か月前
続きを見る
他の特許を見る