TOP
|
特許
|
意匠
|
商標
特許ウォッチ
Twitter
他の特許を見る
10個以上の画像は省略されています。
公開番号
2025168008
公報種別
公開特許公報(A)
公開日
2025-11-07
出願番号
2024073092
出願日
2024-04-26
発明の名称
プレキャスト柱梁部材及び梁部材の接合方法
出願人
株式会社安藤・間
代理人
個人
,
個人
,
個人
,
個人
主分類
E04B
1/21 20060101AFI20251030BHJP(建築物)
要約
【課題】 現場への搬入を容易にして、現場におけるプレキャスト柱梁接合部材とプレキャスト梁部材とを効率よく接合する。
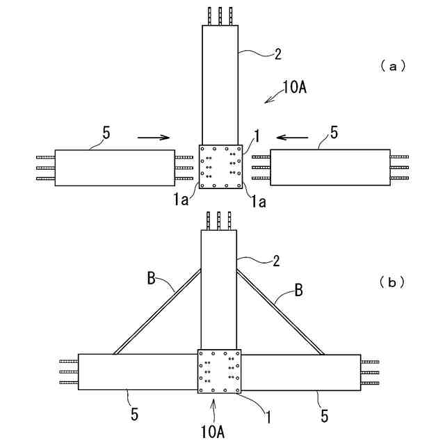
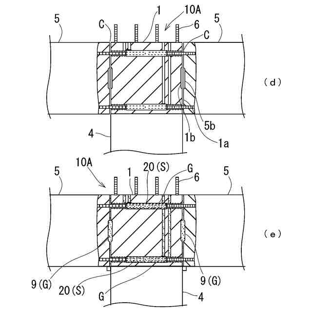
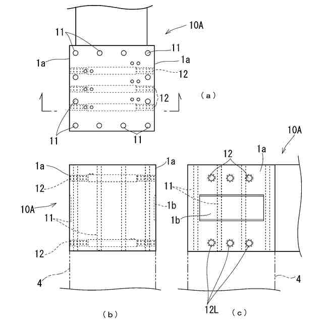
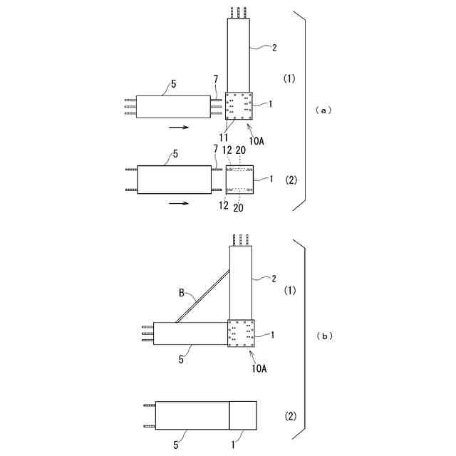
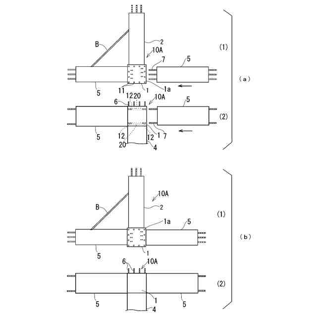
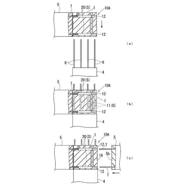
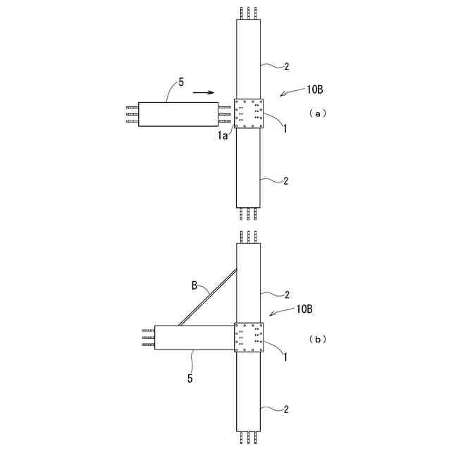
【解決手段】 プレキャスト柱梁接合部材10Aは、梁部材2と、梁部材2と一体的に接合され、立設された柱4上に設置され、梁部材2と直交する少なくとも一側面に、他のプレキャスト梁部材5を接合可能な柱梁接合部材1とからなり、柱梁接合部材1は、内部に柱4の柱主筋6を貫通可能な柱主筋貫通孔11と、他のプレキャスト梁部材5の梁主筋7の端部が挿入可能な梁主筋貫通孔12とが形成され、梁主筋貫通孔12と連通し梁主筋7の端部を定着可能なグラウト充填継手20が埋設された。
【選択図】 図5
特許請求の範囲
【請求項1】
梁部材と、
前記梁部材と一体的に接合され、立設された柱上に設置され、前記梁部材と直交する少なくとも一側面に、他のプレキャスト梁部材を接合可能な柱梁接合部材とからなるプレキャスト柱梁部材であって、
前記柱梁接合部材は、内部に前記柱の柱主筋を貫通可能な柱主筋貫通孔と、前記他のプレキャスト梁部材の梁主筋の端部が挿入可能な梁主筋貫通孔とが形成され、前記梁主筋貫通孔と連通し前記梁主筋の端部を定着可能なグラウト充填継手が埋設されたことを特徴とするプレキャスト柱梁部材。
続きを表示(約 630 文字)
【請求項2】
前記梁部材は、前記柱梁接合部材を挟んで一直線状をなして2本が前記柱梁接合部材の対向する二側面に接合された請求項1に記載のプレキャスト柱梁部材。
【請求項3】
地上で前記他のプレキャスト梁部材が前記柱梁接合部材の側面に仮接合され、仮接合状態が保持されて施工階に搬入される請求項1または請求項2に記載のプレキャスト柱梁部材。
【請求項4】
施工階で前記柱上に設置された状態で、前記柱主筋貫通孔と、前記梁主筋貫通孔と、前記グラウト充填継手内とに充填材が充填される請求項1または請求項2に記載のプレキャスト柱梁部材。
【請求項5】
前記梁部材、前記他のプレキャスト梁部材の梁長は、前記立設された柱間の梁スパンの1/2より短い請求項1または請求項2に記載のプレキャスト柱梁部材。
【請求項6】
地上において、請求項1または請求項2記載に記載されたプレキャスト柱梁部材の前記柱梁接合部材の一側面にプレキャスト梁部材を仮接合し、仮接合状態を保持して前記プレキャスト柱梁部材を、施工階まで揚重し、施工階に立設された柱上に設置し、前記柱主筋貫通孔と、前記梁主筋貫通孔と、前記グラウト充填継手内とに充填材を充填して前記プレキャスト柱梁部材を安定させ、前記柱梁接合部の側面に新たなプレキャスト梁部材を接合することを繰り返し、当該施工階において梁架構を構築することを特徴とするプレキャスト梁部材の接合方法。
発明の詳細な説明
【技術分野】
【0001】
本発明はプレキャスト柱梁部材及び梁部材の接合方法に係り、プレキャスト鉄筋コンクリート造の柱梁接合部材、梁部材及び梁部材を効率よく接合するためのプレキャスト柱梁部材及び梁部材の接合方法に関する。
続きを表示(約 1,400 文字)
【背景技術】
【0002】
従来、工場製作されたプレキャスト製の柱梁接合部材、柱部材及び梁部材を現場に搬入し、梁部材を接合して梁架構を構築する場合、用途に応じた運搬車両や揚重機が配備される。たとえば揚重機の揚重能力以内で、柱梁接合部に接合される梁の数が多い平面形状であるほど施工効率が向上する。そこで、プレキャスト鉄筋コンクリート造(本明細書では、単にプレキャストと略記する。)からなる柱梁接合部材や様々な形状のプレキャスト梁部材を現場に搬入し、効率よく梁架構を構築できるようにした各種のプレキャスト部材が提案されている(特許文献1、特許文献2)。
【0003】
特許文献1の第3図には柱梁接合部材が開示されている。この柱梁接合部材は、柱梁接合部材から四方に向けて梁部材の一部となる突部が形成された、平面視略十字形をなしている。そして各突部の端部からは十分な長さの梁主筋が複数本突出している。
【0004】
特許文献2には、立設されたプレキャスト柱材間に架設されるプレキャスト梁部材が開示されている。このプレキャスト梁部材の両端部には、柱部材上で合体することで柱梁仕口を構成する分割柱梁仕口部が設けられている。
【先行技術文献】
【特許文献】
【0005】
特開平2-101237号公報
特開2015-229855号公報
【発明の概要】
【発明が解決しようとする課題】
【0006】
ところで、特許文献1に開示された柱梁接合部材を、トラック等に載せて運搬する際、複雑な形状のため運搬や保管に支障が生じる場合がある。また、トラックに積載可能な部材寸法に制約があるために、積載可能な寸法にするために、鉄筋継手の個所が増加してしまい、現場での施工上効率的な形状とはならない可能性もある。
【0007】
同様に、特許文献2に開示されたプレキャスト梁部材は、分割柱梁仕口部となる梁端部の形状が複雑で、製作が難しく、梁スパンが大きいため運搬時の問題がある。また梁架構を構築する際、柱梁接合部において、架設されたプレキャスト梁部材と直交方向のプレキャスト梁部材の接合が行えないという施工上、構造上の問題もある。
【0008】
そこで、本発明の目的は上述した従来の技術が有する問題点を解消し、プレキャスト部材の運搬に支障なく、プレキャスト柱梁接合部材、梁部材及び梁部材を効率よく接合して梁架構を構築できるようにしたプレキャスト柱梁部材及び梁部材の接合方法を提供することにある。
【課題を解決するための手段】
【0009】
本発明のプレキャスト柱梁部材は、梁部材と、前記梁部材と一体的に接合され、立設された柱上に設置され、前記梁部材と直交する少なくとも一側面に、他のプレキャスト梁部材を接合可能な柱梁接合部材とからなるプレキャスト柱梁部材であって、前記柱梁接合部材は、内部に前記柱の柱主筋を貫通可能な柱主筋貫通孔と、前記他のプレキャスト梁部材の梁主筋の端部が挿入可能な梁主筋貫通孔とが形成され、前記梁主筋貫通孔と連通し前記梁主筋の端部を定着可能なグラウト充填継手が埋設されたことを特徴とする。
【0010】
前記梁部材は、前記柱梁接合部材を挟んで一直線状をなして2本が前記柱梁接合部材の対向する二側面に接合されたことが好ましい。
(【0011】以降は省略されています)
この特許をJ-PlatPat(特許庁公式サイト)で参照する
関連特許
株式会社安藤・間
橋梁健全度評価システム
16日前
株式会社安藤・間
昇降型セグメント組立装置
2か月前
株式会社安藤・間
アルカリ金属イオンの抽出方法
24日前
株式会社安藤・間
床面測定装置、及び床面測定方法
19日前
株式会社安藤・間
曲がり計測装置、曲がり計測方法
1か月前
株式会社安藤・間
データ通信システム、及びデータ通信方法
1か月前
株式会社安藤・間
プレキャスト柱梁部材及び梁部材の接合方法
2日前
株式会社安藤・間
柱梁接合部のグラウト充填構造及びグラウト充填方法
2日前
株式会社安藤・間
ボーリング孔監視システム、及びボーリング孔監視方法
1か月前
株式会社安藤・間
混和材料、セメント組成物、セメント硬化体およびセメント硬化体の製造方法
1か月前
株式会社安藤・間
セメント硬化体形成用組成物及びその製造方法、並びに、セメント硬化体及びその製造方法
1か月前
株式会社安藤・間
セメント組成物への添加用の混和材、セメント組成物、セメント硬化体およびセメント硬化体からの有害元素の溶出抑制方法
1か月前
個人
接合構造
1か月前
個人
タッチミー
1か月前
個人
屋台
1か月前
個人
野良猫ハウス
2か月前
個人
フェンス
2か月前
個人
転落防止用手摺
2か月前
個人
安心補助てすり
17日前
個人
ベンリナアングル
1か月前
個人
地下型マンション
4か月前
積水樹脂株式会社
柵体
2か月前
個人
居住車両用駐車場
2か月前
ニチハ株式会社
建築板
2か月前
個人
筋交自動設定装置
1か月前
個人
鋼管結合資材
4か月前
株式会社タナクロ
テント
4か月前
個人
熱抵抗多層断熱建材
2か月前
個人
補強部材
2か月前
個人
柵
3か月前
鹿島建設株式会社
壁体
2か月前
成友建設株式会社
建物
2か月前
株式会社シンケン
住宅
18日前
個人
身体用シェルター
1か月前
個人
防災建築物
23日前
個人
身体用シェルター
1か月前
続きを見る
他の特許を見る