TOP
|
特許
|
意匠
|
商標
特許ウォッチ
Twitter
他の特許を見る
10個以上の画像は省略されています。
公開番号
2025168007
公報種別
公開特許公報(A)
公開日
2025-11-07
出願番号
2024073091
出願日
2024-04-26
発明の名称
柱梁接合部のグラウト充填構造及びグラウト充填方法
出願人
株式会社安藤・間
代理人
個人
,
個人
,
個人
,
個人
主分類
E04B
1/58 20060101AFI20251030BHJP(建築物)
要約
【課題】 柱梁接合部にプレキャスト梁部材を確実かつ効率よく接合させる。
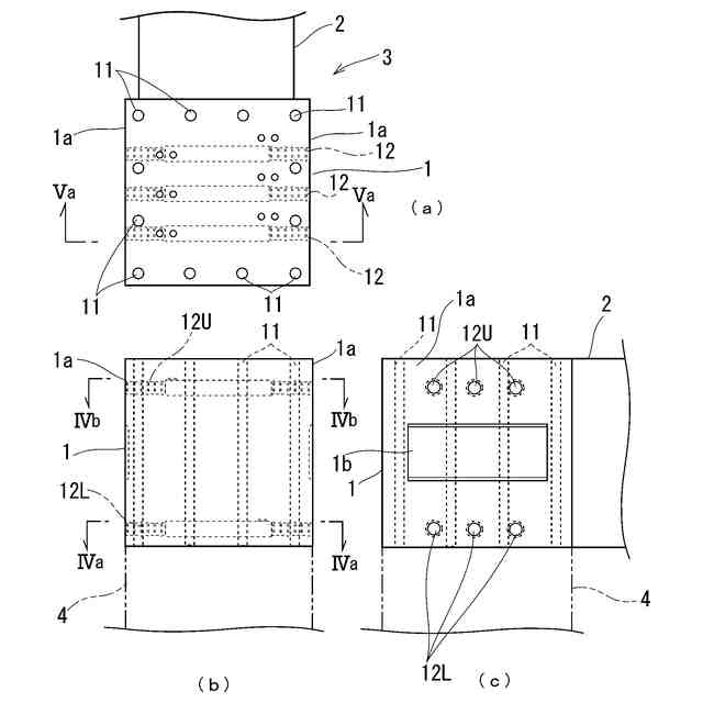
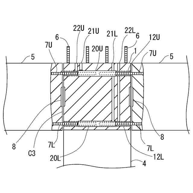
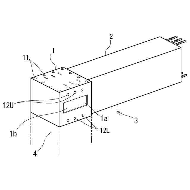
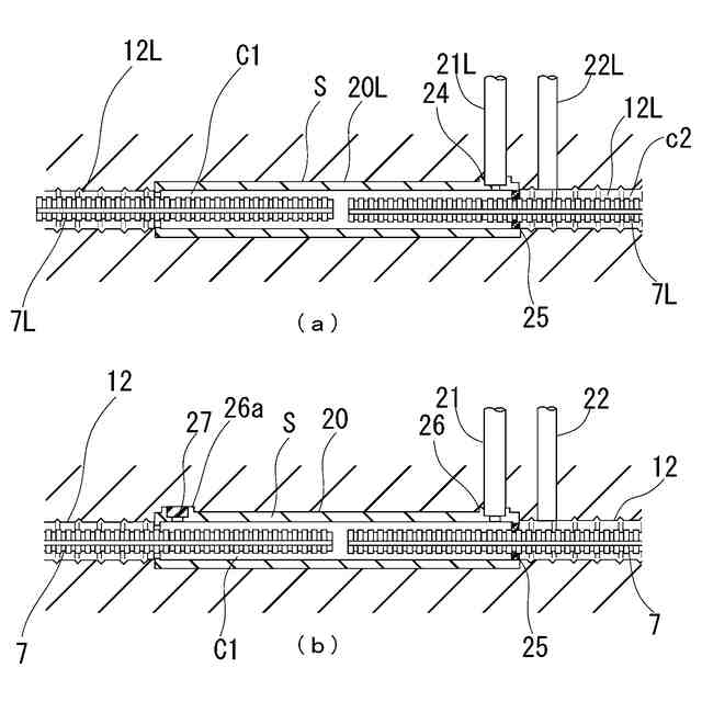
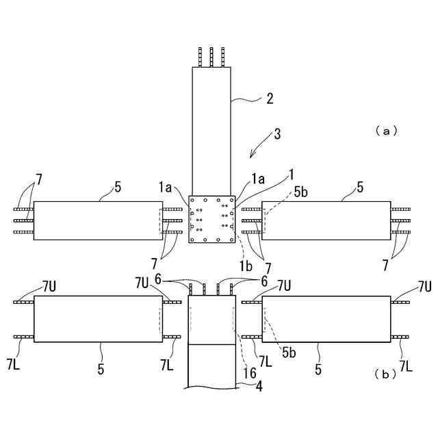
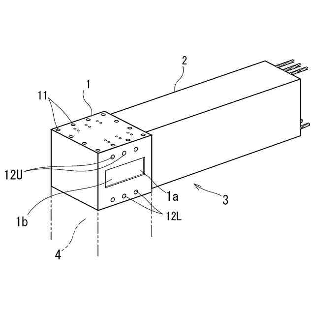
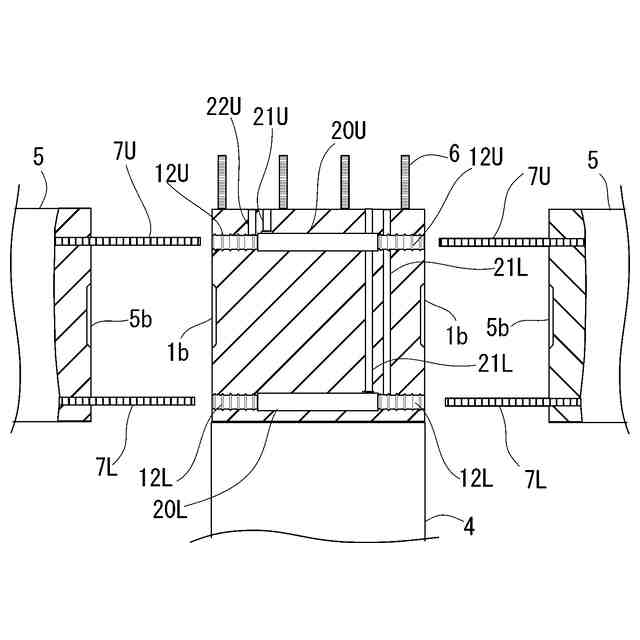
【解決手段】 側面から接合されるプレキャスト梁部材5の梁主筋の端部同士を接合するスリーブSが埋設された柱梁接合部内1内にグラウト充填構造10を設ける。スリーブSに接続された第1のグラウト注入管21を通じて梁主筋7が挿入されたスリーブS内から梁主筋貫通孔12内と、プレキャスト梁部材5との間の目地空間C3とにグラウト材Gを順次充填させる第1の充填経路と、梁主筋貫通孔12に接続された第2のグラウト注入管22を通じて梁主筋7が挿入された梁主筋貫通孔12内と、プレキャスト梁部材5との間の目地空間C3とにグラウト材Gを順次充填させる第2の充填経路とを柱梁接合部材1内に備えた。
【選択図】 図1
特許請求の範囲
【請求項1】
立設された柱部材上に設置され、対向して側面から接合されるプレキャスト梁部材の上側梁主筋及び下側梁主筋のそれぞれの端部同士を接合するグラウト充填継手が埋設された柱梁接合部内に設けられた、前記グラウト充填継手のスリーブ内、前記スリーブに連通する梁主筋貫通孔内及び前記プレキャスト梁部材との間に設けられた目地空間とにグラウト材を充填する柱梁接合部のグラウト充填構造であって、
前記スリーブに接続された第1のグラウト注入管を通じて前記梁主筋が挿入された前記スリーブ内から前記梁主筋貫通孔内と、前記プレキャスト梁部材との間の目地空間とに前記グラウト材を順次充填させる第1の充填経路と、
前記梁主筋貫通孔に接続された第2のグラウト注入管を通じて前記梁主筋が挿入された梁主筋貫通孔内と、前記プレキャスト梁部材との間の目地空間とに前記グラウト材を順次充填させる第2の充填経路とを、
前記上側梁主筋及び前記下側梁主筋の各配筋位置に備えたことを特徴とする柱梁接合部のグラウト充填構造。
続きを表示(約 660 文字)
【請求項2】
前記第1及び第2のグラウト注入管の一端は、前記柱梁接合部の上面に位置するグラウト注入口である請求項1に記載の柱梁接合部のグラウト充填構造。
【請求項3】
前記第1のグラウト注入管の他端は、前記スリーブの閉塞端近傍の前記スリーブに接続された請求項1に記載の柱梁接合部のグラウト充填構造。
【請求項4】
前記第2のグラウト注入管の他端は、前記スリーブの閉塞端近傍の前記梁主筋貫通孔に接続された請求項1に記載の柱梁接合部のグラウト充填構造。
【請求項5】
前記スリーブは、前記梁主筋が内部に挿入された状態で、一端がその内周面と前記梁主筋との間が閉塞されて閉塞端となり、他端が開口端である請求項3または請求項4に記載の柱梁接合部のグラウト充填構造。
【請求項6】
請求項1に記載されたグラウト充填構造を用い、前記下側梁主筋側に接続された第1の充填経路と第2の充填経路を通じて前記下側梁主筋が配筋された位置の梁主筋貫通孔及びグラウト充填継手内および前記プレキャスト梁部材との間の目地空間の一部までグラウト材を充填し、
次いで、前記上側梁主筋側に接続された前記第1の充填経路と前記第2の充填経路を通じて前記上側梁主筋が配筋された位置の梁主筋貫通孔及びグラウト充填継手内および前記プレキャスト梁部材との間の前記目地空間内の充填された部位から前記柱梁接合部の上面まで、グラウト材を充填することを特徴とする柱梁接合部のグラウト充填方法。
発明の詳細な説明
【技術分野】
【0001】
本発明は柱梁接合部のグラウト充填構造及びグラウト充填方法に係り、プレキャストコンクリート柱梁接合部内に設けられたグラウト充填継手内、梁主筋貫通孔内と、接合部材間の目地空間とに効率よくグラウト充填を行うためのグラウト充填構造及びグラウト充填方法に関する。
続きを表示(約 1,600 文字)
【背景技術】
【0002】
プレキャスト鉄筋コンクリート造(以下、単にプレキャストと記す。)架構では、プレキャスト架構の構築の合理化を図るため、プレキャスト柱梁接合部材とプレキャスト梁とを一体化させた複合部材が製作されている。さらに、その複合部材と他のプレキャスト梁部材とを合理的に接合させるために、柱梁接合部材内に梁主筋の継手部材(機械式継手)を埋設した柱梁接合構造の構築方法も提案されている(特許文献1)。
【0003】
特許文献1に開示された機械式継手を用いた柱梁接合部構造の構築方法では、機械式継手の長手方向の中央位置に充填材の注入口が設けられている。柱梁接合部にプレキャスト梁部材が取り付けられ、梁主筋の端部が機械式継手内に位置した状態で、注入口から機械式継手内に充填材を充填し、さらに充填することで、継手両端に接続されたシース管内まで充填材が満たされ、プレキャスト梁部材の梁主筋が柱梁接合部で定着され、梁主筋同士が接合されるようになっている。
【先行技術文献】
【特許文献】
【0004】
特開2019-167689号公報
【発明の概要】
【発明が解決しようとする課題】
【0005】
ところで、特許文献1の柱梁接合部構造の構築方法に開示された充填材の充填経路では、注入口が機械式継手の長手方向の中央部に位置するため、所定の注入圧で注入口から注入された充填材は継手の両端部に向けて2方向に分流し、梁主筋が挿入された継手内の隙間空間が両端部に向けて充填され、さらに継手と連通するように継手端部に接続されたシース管内の隙間空間まで充填されるようになっている。
【0006】
このように設定された充填経路では、充填材は継手内で両端部に向けて2方向に分流するため、充填材の注入圧が大きく減少してしまい、シース管の奥端部まで十分に行き渡せて充填させることが困難である。また、柱梁接合部と梁端との間に生じる目地空間を充填するようになっていないため、別途目地空間の充填作業を行う必要がある。
【0007】
そこで、本発明の目的は上述した従来の技術が有する問題点を解消し、柱は接合部内に設けられた梁主筋定着のためのグラウト充填継手から梁主筋貫通孔、及び柱梁接合部材と梁部材端面との間の目地部に至るまで充填材を確実に充填させるようにした柱梁接合部のグラウト充填構造及びグラウト充填方法を提供することにある。
【課題を解決するための手段】
【0008】
本発明の柱梁接合部のグラウト充填構造は、立設された柱部材上に設置され、対向して側面から接合されるプレキャスト梁部材の上側梁主筋及び下側梁主筋のそれぞれの端部同士を接合するグラウト充填継手が埋設された柱梁接合部内に設けられた、前記グラウト充填継手のスリーブ内、前記スリーブに連通する前記梁主筋貫通孔内及び前記プレキャスト梁部材との間に設けられた目地空間とにグラウト材を充填する柱梁接合部のグラウト充填構造であって、前記スリーブに接続された第1のグラウト注入管を通じて前記梁主筋が挿入された前記スリーブ内から前記梁主筋貫通孔内と、前記プレキャスト梁部材との間の目地空間とに前記グラウト材を順次充填させる第1の充填経路と、前記梁主筋貫通孔に接続された第2のグラウト注入管を通じて前記梁主筋が挿入された梁主筋貫通孔内と、前記プレキャスト梁部材との間の目地空間とに前記グラウト材を順次充填させる第2の充填経路とを、前記上側梁主筋及び前記下側梁主筋の各配筋位置に備えたことを特徴とする。
【0009】
前記第1及び第2のグラウト注入管の一端は、前記柱梁接合部の上面に位置するグラウト注入口であることが好ましい。
【0010】
前記第1のグラウト注入管の他端は、前記スリーブの閉塞端近傍の前記スリーブに接続されたことが好ましい。
(【0011】以降は省略されています)
この特許をJ-PlatPat(特許庁公式サイト)で参照する
関連特許
株式会社安藤・間
構造要素表示システム
13日前
株式会社安藤・間
橋梁健全度評価システム
1か月前
株式会社安藤・間
アルカリ金属イオンの抽出方法
1か月前
株式会社安藤・間
床面測定装置、及び床面測定方法
1か月前
株式会社安藤・間
プレキャスト柱梁部材及び梁部材の接合方法
26日前
株式会社安藤・間
柱梁接合部のグラウト充填構造及びグラウト充填方法
26日前
株式会社安藤・間
混和材料、セメント組成物、セメント硬化体およびセメント硬化体の製造方法
2か月前
株式会社安藤・間
セメント硬化体形成用組成物及びその製造方法、並びに、セメント硬化体及びその製造方法
1か月前
株式会社安藤・間
セメント組成物への添加用の混和材、セメント組成物、セメント硬化体およびセメント硬化体からの有害元素の溶出抑制方法
2か月前
個人
接合構造
1か月前
個人
屋台
2か月前
個人
タッチミー
1か月前
個人
野良猫ハウス
3か月前
個人
転落防止用手摺
2か月前
個人
フェンス
3か月前
個人
安心補助てすり
1か月前
ニチハ株式会社
建築板
3か月前
個人
居住車両用駐車場
3か月前
個人
筋交自動設定装置
2か月前
積水樹脂株式会社
柵体
2か月前
個人
ベンリナアングル
1か月前
個人
熱抵抗多層断熱建材
3か月前
個人
補強部材
3か月前
個人
柵
3か月前
成友建設株式会社
建物
3か月前
個人
身体用シェルター
2か月前
株式会社シンケン
住宅
1か月前
個人
防災建築物
1か月前
個人
身体用シェルター
2か月前
鹿島建設株式会社
壁体
3か月前
三協立山株式会社
構造体
2か月前
三協立山株式会社
構造体
2か月前
三協立山株式会社
構造体
2か月前
イワブチ株式会社
組立柱
2か月前
三協立山株式会社
構造体
2か月前
三協立山株式会社
構造体
2か月前
続きを見る
他の特許を見る