TOP
|
特許
|
意匠
|
商標
特許ウォッチ
Twitter
他の特許を見る
10個以上の画像は省略されています。
公開番号
2025162654
公報種別
公開特許公報(A)
公開日
2025-10-28
出願番号
2024065973
出願日
2024-04-16
発明の名称
雨漏り検査用具、及び雨漏り検査方法
出願人
個人
代理人
個人
,
個人
主分類
E04G
23/02 20060101AFI20251021BHJP(建築物)
要約
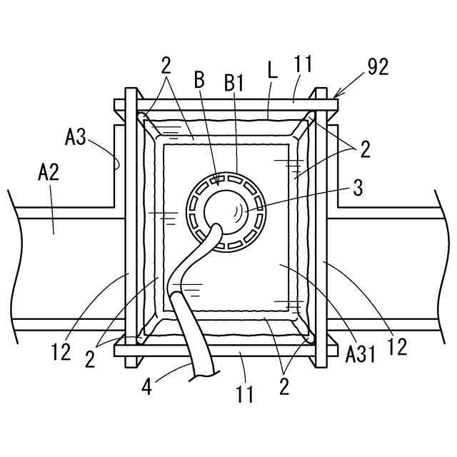
【課題】目に見えない細いクラックからの雨水の侵入箇所を、設置が容易な低コストの検査具を用いて特定する。
【解決手段】本発明の雨漏り検査用具100は、雨水の侵入箇所を特定するために用いられる。雨漏り検査用具100は、少なくとも2枚の止水板とパテ材とを備える。止水板は、長方形の板状をなし、長辺から垂直に切れ込む切込部を少なくとも1つ備える。止水板どうしや止水板と止水板を載置する検査対象面Aとの接合部は、止水材により止水する。
【選択図】図1
特許請求の範囲
【請求項1】
雨水の侵入箇所を特定するために用いられる雨漏り検査用具であって、
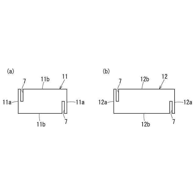
長方形の板状をなし、長辺から垂直に切れ込む切込部を少なくとも1つ備える複数の止水板と、
前記止水板どうし、及び/又は前記止水板と前記止水板を載置する検査対象面との接合部を止水する止水材とを備える雨漏り検査用具。
続きを表示(約 1,000 文字)
【請求項2】
前記複数の止水板を用いて形成した、ドレン排水口の入り口を囲繞する井桁と、
前記ドレン排水口内で膨らませて前記ドレン排水口内への検査液の流出を防止する風船と、
該風船に空気を流入するエアホースと、
前記エアホースを介して前記風船に空気を流送する空気流送手段と
を備え、
前記風船は、前記ドレン排水口に設けられる円筒状の口金具と前記口金具の下方に連続するドレン配管との連結部の位置で膨らませることが可能な請求項1に記載の雨漏り検査用具。
【請求項3】
前記止水板に沿って前記検査対象面に貼設される防水テープと、
片面に粘着力を有する粘着テープ、及び前記粘着テープから前記粘着テープの幅方向に延出するシート部を有するマスカーと
を備え、
前記防水テープの上面に前記粘着テープを貼着し、前記シート部により、前記止水板と前記検査対象面の接合部、及び前記止水板を覆うよう構成されている請求項1、又は請求項2に記載の雨漏り検査用具。
【請求項4】
雨水の侵入箇所を特定するために用いられる雨漏り検査方法であって、
長方形の板状をなし、長辺から垂直に切れ込む切込部を少なくとも1つ備える複数の止水板を用い、雨水の侵入が疑われる箇所を区画する区画形成工程と、
前記止水板どうし、及び/又は止水板と検査対象面の接合部を止水材により止水する止水工程と、
前記区画内に検査液を貯留する検査液貯留工程と
を備えることを特徴とする雨漏り検査方法。
【請求項5】
ドレン排水口内に風船を収容し、前記風船をドレン排水口内で膨らませて、ドレン排水口の入り口に設けられる円筒状の口金具と、前記口金具に連続して前記口金具に流入した排水を流下させるドレン配管との連結部を止水するドレン排水口封止工程を備える請求項4に記載の雨漏り検査方法。
【請求項6】
前記止水板に沿って前記検査対象面に防水テープを貼設し、片面に粘着力を有する粘着テープ、及び前記粘着テープから前記粘着テープの幅方向に延出するシート部を有するマスカーを用い、
前記防水テープの上面に前記粘着テープを貼着し、前記シート部により、前記止水板と前記検査対象面の接合部、及び前記止水板を覆う止水板被覆工程を備える請求項4に記載の雨漏り検査方法。
発明の詳細な説明
【技術分野】
【0001】
この発明は、建造物の雨漏り調査において雨水の侵入箇所を特定する技術に関し、特に建造物の屋上等に区画を設け、区画ごとに異なる色の検査液を用いることで、雨水の侵入箇所を特定する雨漏り検査用具、及び雨漏り検査方法に関する。
続きを表示(約 2,000 文字)
【背景技術】
【0002】
従来、建造物の雨漏り調査において、雨水の侵入箇所を特定するために、雨水の侵入の疑われる個所を仕切りで囲繞し、該仕切り内に検査液の散水や貯留を行って、該区画内の雨水侵入箇所に検査液を侵入させるようにした雨漏り検査方法が知られている(例えば、特許文献1、又は特許文献2参照)。
【0003】
例えば、特許文献1では、コンクリート建造物の屋上等、雨漏りの侵入が疑われる個所を複数の区画に分割し、赤、青、黄の三原色のうち区画ごとに異なる検査液を散水することにより雨漏りの侵入個所を特定する、漏水検査工法が開示されている。特許文献1の漏水検査工法では、区画の境界を仕切りで堰止めすることにより、区画ごとに散布した色付きの検査液が混じるのを防ぐようにしている。
【0004】
また、特許文献2では、床面のひび割れ等を粘土材により設けた壁で囲繞して、該粘土壁内に検査液を貯留するようにした雨漏り検査方法が開示されている。特許文献2の雨漏り検査方法では、粘土壁の内側に検査液を貯留することで、壁面のひび割れに水圧をかけ、雨水の侵入を促すようにしている。
【先行技術文献】
【特許文献】
【0005】
特開2004-354124号公報
特開2010-133708号公報
【発明の概要】
【発明が解決しようとする課題】
【0006】
しかし、特許文献1の漏水検査工法では、特許文献2の雨漏り検査方法のように、特定の個所を部分的に検査するのではなく、広い範囲を区画で仕切って全体を満遍なく検査できるという利点がある一方で、散水するのみであるため目に見えないような細いクラックには検査液が浸透しないという問題があり、仮に、特許文献2のように区画内に検査液を貯留した場合、剥離ができる程度の粘着力しかないシールに止水板を立てるため、止水板が倒れてしまうという問題がある。
また、目に見えない細かいクラックや防水シートの剥離部等からの雨水の侵入を検査する場合、雨水の侵入の可能性のある範囲を広く検査する必要があるところ、特許文献2の雨漏り検査方法では、粘土壁を用いて広い範囲を囲繞するには、材料費と手間がかかるという問題がある。
本発明は上記課題に鑑みてなされたものであり、安価で簡単に取り付け可能で、かつ細いクラックからの雨水の侵入箇所を高い確率で特定可能な雨漏り検査用具、及び雨漏り検査方法の提供を目的とする。
【課題を解決するための手段】
【0007】
上記課題を解決するためになされた発明は、雨水の侵入箇所を特定するために用いられる雨漏り検査用具であって、長方形の板状をなし、長辺から垂直に切れ込む切込部を少なくとも1つ備える複数の止水板と、前記止水板どうし、及び/又は前記止水板と前記止水板を載置する検査対象面との接合部を止水する止水材とを備える。
ここで、「止水材」とは、パテやコーキング材、テープ、マスカー、接着剤、剥離シール等をいう。
【0008】
本発明の雨漏り検査用具は、このように2枚の止水板がそれぞれ長辺から垂直に切れ込む1つの切込部を備えるので、互いの切込部を嵌合して2枚の止水板を垂直に連結することで、床面上に安定して載置できる。そして、本発明の雨漏り調査具は、井桁におけると止水板どうしの接合部や検査対象面との接合部を止水材で埋めることにより容易に止水できる。
【0009】
本発明の雨漏り検査用具は、前記複数の止水板を用いて形成した、ドレン排水口の入り口を囲繞する井桁と、前記ドレン排水口内で膨らませて前記ドレン排水口内への検査液の流出を防止する風船と、該風船に空気を流入するエアホースと、前記エアホースを介して前記風船に空気を流送する空気流送手段とを備え、前記風船は、前記ドレン排水口に設けられる円筒状の口金具と前記口金具の下方に連続するドレン配管との連結部の位置で膨らませることが可能なことが好ましい。こうすることで、検査液がドレン配管を流下することと、口金具とドレン配管の連結部から検査液がドレン配管の外側へ漏出することを同時に防止できる。
【0010】
本発明の雨漏り検査用具は、前記止水板に沿って前記検査対象面に貼設される防水テープと、片面に粘着力を有する粘着テープ、及び前記粘着テープから前記粘着テープの幅方向に延出するシート部を有するマスカーとを備え、前記防水テープの上面に前記粘着テープを貼着し、前記シート部により前記止水板と前記検査対象面の接合部及び前記止水板を覆うよう構成されていることが好ましい。こうすることで、止水板としてベニヤ板やコンクリートパネルを用いた場合に、検査液が止水板に浸透することを抑制できる。
(【0011】以降は省略されています)
この特許をJ-PlatPat(特許庁公式サイト)で参照する
関連特許
個人
接合構造
1か月前
個人
屋台
2か月前
個人
タッチミー
1か月前
個人
野良猫ハウス
2か月前
個人
転落防止用手摺
2か月前
個人
安心補助てすり
28日前
ニチハ株式会社
建築板
2か月前
積水樹脂株式会社
柵体
2か月前
個人
居住車両用駐車場
2か月前
個人
ベンリナアングル
1か月前
個人
筋交自動設定装置
1か月前
個人
熱抵抗多層断熱建材
2か月前
個人
補強部材
2か月前
成友建設株式会社
建物
2か月前
個人
身体用シェルター
1か月前
個人
防災建築物
1か月前
個人
身体用シェルター
1か月前
株式会社シンケン
住宅
29日前
鹿島建設株式会社
壁体
2か月前
三協立山株式会社
構造体
1か月前
三協立山株式会社
構造体
1か月前
三協立山株式会社
構造体
13日前
三協立山株式会社
構造体
1か月前
三協立山株式会社
構造体
1か月前
イワブチ株式会社
組立柱
2か月前
三協立山株式会社
構造体
1か月前
三協立山株式会社
構造体
29日前
個人
可搬型供養墓
1か月前
株式会社熊谷組
吊り治具
1か月前
三協立山株式会社
構造体
1か月前
三協立山株式会社
構造体
8日前
株式会社大林組
接合構造
24日前
株式会社熊谷組
木質材料
2か月前
三洋工業株式会社
床構造
29日前
株式会社熊谷組
床構成材
1か月前
ミサワホーム株式会社
住戸
1か月前
続きを見る
他の特許を見る