TOP
|
特許
|
意匠
|
商標
特許ウォッチ
Twitter
他の特許を見る
10個以上の画像は省略されています。
公開番号
2025161702
公報種別
公開特許公報(A)
公開日
2025-10-24
出願番号
2024158334,2024063960
出願日
2024-09-12,2024-04-11
発明の名称
反射型フォトマスクブランク、反射型フォトマスク及び反射型フォトマスクの製造方法
出願人
テクセンドフォトマスク株式会社
代理人
個人
,
個人
主分類
G03F
1/24 20120101AFI20251017BHJP(写真;映画;光波以外の波を使用する類似技術;電子写真;ホログラフイ)
要約
【課題】本発明は、極端紫外領域の波長の光を光源としたパターニング転写用の反射型フォトマスクの射影効果を抑制または軽減し、且つ磁性体を使用していながら吸収層上に形成されたレジスト膜に対して電子線描画を行った際に生じ得る描画精度の低下を抑制することで転写性能を高めることができる反射型フォトマスクブランク、反射型フォトマスク及び反射型フォトマスクの製造方法を提供する。
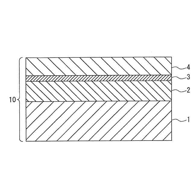
【解決手段】本発明の実施形態に係る反射型フォトマスクブランク10は、極端紫外線を光源としたパターン転写用の反射型フォトマスク20を作製するための反射型フォトマスクブランクであって、基板1と、反射層2と、吸収層4と、を有し、吸収層4は、ニッケル(Ni)と酸素(O)とを、吸収層4の全原子数に対して合計50原子%以上含み、且つニッケル(Ni)に対する酸素(O)の原子数比(O/Ni)が0.5以上である。
【選択図】図1
特許請求の範囲
【請求項1】
極端紫外線を光源としたパターン転写用の反射型フォトマスクを作製するための反射型フォトマスクブランクであって、
基板と、
前記基板上に形成された多層膜を含む反射層と、
前記反射層の上に形成された吸収層と、を有し、
前記吸収層は、ニッケル(Ni)と酸素(O)とを、前記吸収層の全原子数に対して合計50原子%以上含み、且つ前記ニッケル(Ni)に対する前記酸素(O)の原子数比(O/Ni)が0.5以上である反射型フォトマスクブランク。
続きを表示(約 960 文字)
【請求項2】
前記吸収層は、タンタル(Ta)、イリジウム(Ir)、タングステン(W)、パラジ
ウム(Pd)、クロム(Cr)、ルテニウム(Ru)、モリブデン(Mo)、又は珪素(Si)を、前記吸収層の全原子数に対して5原子%以上50原子%以下の範囲内で含む請求項1に記載の反射型フォトマスクブランク。
【請求項3】
前記吸収層は、タンタル(Ta)又はイリジウム(Ir)を、前記吸収層の全原子数に
対して5原子%以上50原子%以下の範囲内で含む請求項1に記載の反射型フォトマスクブランク。
【請求項4】
前記ニッケル(Ni)に対する前記酸素(O)の原子数比(O/Ni)が1.0以上である請求項1に記載の反射型フォトマスクブランク。
【請求項5】
前記吸収層は、前記ニッケル(Ni)を、前記吸収層の全原子数に対して50原子%以上含む請求項1に記載の反射型フォトマスクブランク。
【請求項6】
前記吸収層の膜密度は、4.0g/cm
3
以上であり、
前記吸収層の膜厚は、17nm以上45nm以下の範囲内である請求項1に記載の反射型フォトマスクブランク。
【請求項7】
前記吸収層の膜厚は、19nm以上40nm以下の範囲内である請求項1に記載の反射型フォトマスクブランク。
【請求項8】
前記吸収層の上にエッチングマスク層をさらに有する請求項1に記載の反射型フォトマスクブランク。
【請求項9】
前記エッチングマスク層の膜厚は、30nm以下である請求項8に記載の反射型フォトマスクブランク。
【請求項10】
極端紫外線を光源としたパターン転写用の反射型フォトマスクであって、
基板と、
前記基板上に形成された多層膜を含む反射層と、
前記反射層の上に形成された吸収層と、を有し、
前記吸収層は、ニッケル(Ni)と酸素(O)とを、前記吸収層の全原子数に対して合計50原子%以上含み、且つ前記ニッケル(Ni)に対する前記酸素(O)の原子数比(O/Ni)が0.5以上である反射型フォトマスク。
(【請求項11】以降は省略されています)
発明の詳細な説明
【技術分野】
【0001】
本発明は、半導体デバイス等の製造において使用される反射型フォトマスクブランク、反射型フォトマスク及び反射型フォトマスクの製造方法に関する。
続きを表示(約 1,800 文字)
【背景技術】
【0002】
半導体デバイスの製造プロセスにおいては、半導体デバイスの微細化に伴い、フォトリソグラフィ技術の微細化に対する要求が高まっている。フォトリソグラフィにおける転写パターンの最小解像寸法は、露光光源の波長に大きく依存し、波長が短いほど最小解像寸法を小さくできる。このため、露光光源は、従来の波長193nmのArFエキシマレーザー光から、波長13.5nmのEUV(Extreme Ultra Violet:極端紫外線)領域の光に置き換わってきている。
【0003】
EUV領域の光は、ほとんどの物質で高い割合で吸収されるため、EUV露光用のフォトマスク(EUVマスク)としては、反射型のフォトマスクが使用される(例えば、特許文献1参照)。特許文献1には、ガラス基板上にモリブデン(Mo)層及びシリコン(Si)層を交互に積層した多層膜からなる反射層を形成し、その上にタンタル(Ta)を主成分とする光吸収層を形成し、この光吸収層にパターンを形成することで得られたEUVフォトマスクが開示されている。
【0004】
また、EUVリソグラフィは、前記のように、光の透過を利用する屈折光学系が使用できないことから、露光機の光学系部材もレンズではなく、反射型(ミラー)となる。このため、反射型フォトマスク(EUVマスク)への入射光と反射光が同軸上に設計できない問題があり、通常、EUVリソグラフィでは、光軸をEUVマスクの垂直方向から6度傾けて入射し、マイナス6度の角度で反射する反射光を半導体基板に導く手法が採用されている。
【0005】
このように、EUVリソグラフィではミラーを介し光軸を傾斜することから、EUVマスクに入射するEUV光がEUVマスクのマスクパターン(パターン化された光吸収層)の影をつくる、いわゆる「射影効果」と呼ばれる問題が発生することがある。
【0006】
現在のEUVマスクブランクでは、光吸収層として膜厚60~90nmのタンタル(Ta)を主成分とした膜が用いられている。このマスクブランクを用いて作製したEUVマスクでパターン転写の露光を行った場合、EUV光の入射方向とマスクパターンの向きとの関係によっては、マスクパターンの影となるエッジ部分で、コントラストの低下を引き起こす恐れがある。これに伴い、半導体基板上の転写パターンのラインエッジラフネスの増加や、線幅が狙った寸法に形成できないなどの問題が生じ、転写性能が悪化することがある。
【0007】
そこで、光吸収層をタンタル(Ta)からEUV光に対する吸収性(消衰係数)が高い材料への変更や、タンタル(Ta)に吸収性の高い材料を加えた反射型フォトマスクブランクが検討されている。例えば、特許文献1では、光吸収層を、Taを主成分として50原子%(at%)以上含み、さらにTe、Sb、Pt、I、Bi、Ir、Os、W、Re、Sn、In、Po、Fe、Au、Hg、Ga及びAlから選ばれた少なくとも一種の元素を含む材料で構成した反射型フォトマスクブランクが記載されている。
【0008】
また、NiやCoといった材料も消衰係数が高いため、光吸収層の材料の候補となる。
しかしながら、NiやCo、あるいはFe等は磁性を有する材料であり、光吸収層上に形成されたレジスト膜に対して電子線描画を行うと、描画精度が低下する懸念がある。
【先行技術文献】
【特許文献】
【0009】
特許第4926523号
【発明の概要】
【発明が解決しようとする課題】
【0010】
本発明は、極端紫外領域の波長の光を光源としたパターニング転写用の反射型フォトマスクの射影効果を抑制または軽減でき、且つ磁性体を使用していながら光吸収層上に形成されたレジスト膜に対して電子線描画を行った際に生じ得る描画精度の低下を抑制することで転写性能を高めることができる反射型フォトマスクブランク、その反射型フォトマスクブランクを用いて作製された反射型フォトマスク及びその反射型フォトマスクの製造方法を提供することを目的とする。
【課題を解決するための手段】
(【0011】以降は省略されています)
この特許をJ-PlatPat(特許庁公式サイト)で参照する
関連特許
個人
表示装置
20日前
個人
雨用レンズカバー
18日前
株式会社シグマ
絞りユニット
1か月前
キヤノン株式会社
撮像装置
2か月前
平和精機工業株式会社
雲台
2か月前
日本精機株式会社
車両用投射装置
26日前
キヤノン株式会社
撮像装置
11日前
キヤノン株式会社
撮像装置
11日前
キヤノン株式会社
撮像装置
1か月前
キヤノン株式会社
撮像装置
11日前
キヤノン株式会社
撮像装置
1か月前
株式会社リコー
画像形成装置
3か月前
株式会社リコー
画像形成装置
8日前
株式会社リコー
画像形成装置
2か月前
株式会社リコー
画像形成装置
2か月前
株式会社リコー
画像形成装置
5日前
株式会社リコー
画像形成装置
2か月前
株式会社リコー
画像形成装置
5日前
株式会社リコー
画像形成装置
1か月前
株式会社リコー
画像形成装置
1か月前
キヤノン株式会社
画像形成装置
2か月前
ブラザー工業株式会社
再生方法
2か月前
キヤノン株式会社
画像形成装置
2か月前
株式会社オプトル
プロジェクタ
2か月前
キヤノン株式会社
トナー
27日前
キヤノン株式会社
画像形成装置
3か月前
キヤノン株式会社
画像形成装置
7日前
キヤノン株式会社
画像形成装置
2か月前
シャープ株式会社
画像形成装置
2か月前
キヤノン株式会社
トナー
2か月前
キヤノン株式会社
トナー
1か月前
キヤノン株式会社
画像形成装置
21日前
キヤノン株式会社
トナー
14日前
キヤノン株式会社
画像形成装置
3か月前
キヤノン株式会社
画像形成装置
3か月前
キヤノン株式会社
画像形成装置
3か月前
続きを見る
他の特許を見る