TOP
|
特許
|
意匠
|
商標
特許ウォッチ
Twitter
他の特許を見る
10個以上の画像は省略されています。
公開番号
2025158126
公報種別
公開特許公報(A)
公開日
2025-10-16
出願番号
2025112853
出願日
2025-07-03
発明の名称
端末、無線通信方法及び基地局
出願人
株式会社NTTドコモ
代理人
インフォート弁理士法人
主分類
H04W
56/00 20090101AFI20251008BHJP(電気通信技術)
要約
【課題】UL送信のタイミングを適切に制御すること。
【解決手段】本開示の一態様に係る端末は、タイミングアドバンスオフセットに関するパラメータと、2つのタイミングアドバンス(TA)がサポートされる特定のシナリオに関する設定とを受信する受信部と、2つのタイミングアドバンス(TA)がサポートされる特定のシナリオが設定されるか否かに基づいて前記2つのTAを適用したUL送信をサポートするか否かを判断する制御部と、を有し、前記特定のシナリオは、パスロス(PL)オフセットを伴うセル内シナリオ、あるいはPLオフセットを伴わないセル間シナリオである。
【選択図】図11
特許請求の範囲
【請求項1】
タイミングアドバンスオフセットに関するパラメータと、2つのタイミングアドバンス(TA)がサポートされる特定のシナリオに関する設定とを受信する受信部と、
2つのタイミングアドバンス(TA)がサポートされる特定のシナリオが設定されるか否かに基づいて前記2つのTAを適用したUL送信をサポートするか否かを判断する制御部と、を有し、
前記特定のシナリオは、パスロス(PL)オフセットを伴うセル内シナリオ、あるいはPLオフセットを伴わないセル間シナリオである、端末。
続きを表示(約 860 文字)
【請求項2】
前記制御部は、サービングセル内の任意の送信設定指示(TCI)状態において前記PLオフセットが設定されるか否かに基づいて適用するTAの数を判断する、請求項1に記載の端末。
【請求項3】
制御リソースセット(CORESET)プールインデックスが提供されず、且つサービングセル内のいずれの送信設定指示(TCI)においても前記PLオフセットが提供されない場合、前記受信部は、2つのタイミングアドバンスオフセット値を受信する、請求項1に記載の端末。
【請求項4】
第2制御リソースセット(CORESET)に対してCORESETプールインデックス値1が提供される場合、前記受信部は、2つのタイミングアドバンスオフセット値を受信する、請求項1に記載の端末。
【請求項5】
タイミングアドバンスオフセットに関するパラメータと、2つのタイミングアドバンス(TA)がサポートされる特定のシナリオに関する設定とを受信するステップと、
2つのタイミングアドバンス(TA)がサポートされる特定のシナリオが設定されるか否かに基づいて前記2つのTAを適用したUL送信をサポートするか否かを判断するステップと、を有し、
前記特定のシナリオは、パスロス(PL)オフセットを伴うセル内シナリオ、あるいはPLオフセットを伴わないセル間シナリオである、端末の無線通信方法。
【請求項6】
タイミングアドバンスオフセットに関するパラメータと、2つのタイミングアドバンス(TA)がサポートされる特定のシナリオに関する設定とを送信する送信部と、
2つのタイミングアドバンス(TA)がサポートされる特定のシナリオが設定されるか否かに基づいて端末が前記2つのTAを適用したUL送信の受信を制御する制御部と、を有し、
前記特定のシナリオは、パスロス(PL)オフセットを伴うセル内シナリオ、あるいはPLオフセットを伴わないセル間シナリオである、基地局。
発明の詳細な説明
【技術分野】
【0001】
本開示は、次世代移動通信システムにおける端末、無線通信方法及び基地局に関する。
続きを表示(約 2,300 文字)
【背景技術】
【0002】
Universal Mobile Telecommunications System(UMTS)ネットワークにおいて、更なる高速データレート、低遅延などを目的としてLong Term Evolution(LTE)が仕様化された(非特許文献1)。また、LTE(Third Generation Partnership Project(3GPP(登録商標)) Release(Rel.)8、9)の更なる大容量、高度化などを目的として、LTE-Advanced(3GPP Rel.10-14)が仕様化された。
【0003】
LTEの後継システム(例えば、5th generation mobile communication system(5G)、5G+(plus)、6th generation mobile communication system(6G)、New Radio(NR)、3GPP Rel.15以降などともいう)も検討されている。
【先行技術文献】
【非特許文献】
【0004】
3GPP TS 36.300 V8.12.0 “Evolved Universal Terrestrial Radio Access (E-UTRA) and Evolved Universal Terrestrial Radio Access Network (E-UTRAN); Overall description; Stage 2 (Release 8)”、2010年4月
【発明の概要】
【発明が解決しようとする課題】
【0005】
将来の無線通信システム(例えば、NR)において、ULカバレッジの拡大のために、一般的な送受信ポイントに加えて、UL受信ポイントを設けることが検討されている。また、マクロBase Station(BS)とマイクロBSを用いたHeterogeneous Network(HetNet)などが検討されている。
【0006】
しかしながら、端末(ユーザ端末(user terminal)、User Equipment(UE))がUL送信を行う場合のUL受信ポイント(またはマイクロBS)に対するタイミングアドバンス(TA)をどのように決定するかが明確になっていない。TAを正しく決定できないと、UL送信のタイミングを適切に制御できないおそれがある。
【0007】
そこで、本開示は、UL送信のタイミングを適切に制御することができる端末、無線通信方法及び基地局を提供することを目的の1つとする。
【課題を解決するための手段】
【0008】
本開示の一態様に係る端末は、タイミングアドバンスオフセットに関するパラメータと、2つのタイミングアドバンス(TA)がサポートされる特定のシナリオに関する設定とを受信する受信部と、2つのタイミングアドバンス(TA)がサポートされる特定のシナリオが設定されるか否かに基づいて前記2つのTAを適用したUL送信をサポートするか否かを判断する制御部と、を有し、前記特定のシナリオは、パスロス(PL)オフセットを伴うセル内シナリオ、あるいはPLオフセットを伴わないセル間シナリオであることを特徴とする。
【発明の効果】
【0009】
本開示の一態様によれば、UL送信のタイミングを適切に制御することができる。
【図面の簡単な説明】
【0010】
図1Aは、一般的な送受信ポイントの配置例を示す図である。図1Bは、UL高密度配置例を示す図である。
図2は、Heterogeneous Network(HetNet)のDL/ULカバレッジの例を示す図である。
図3Aは、RSインデックスとPL値の関連付けの例を示す図である。図3Bは、RSインデックスとデルタPL値の関連付けの例を示す図である。
図4は、UL高密度配置におけるオプション1の例を示す図である。
図5は、UL高密度配置におけるオプション2の例を示す図である。
図6は、セルに対するTAGの設定例を示す図である。
図7Aおよび図7Bは、タイミングアドバンスコマンド用のMAC CEの例を示す図である。
図8は、2TAがサポートされる非対象マルチTRPシナリオにおいて、DL TRPのみがDL信号を送信する場合の例を示す図である。
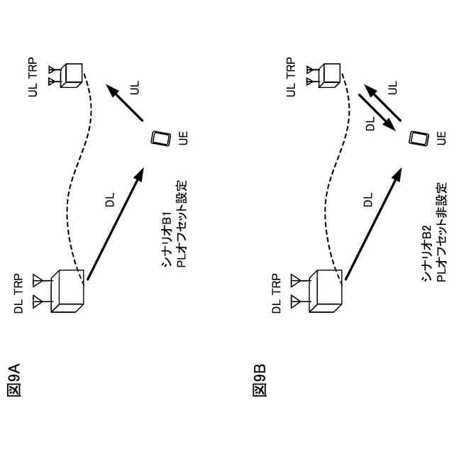
図9A及び図9Bは、2TAがサポートされる非対象マルチTRPシナリオにおいて、PLオフセットが設定されるケースとPLオフセットが設定されないケースの一例を示す図である。
図10A及び図10Bは、PLオフセットが設定されるケースのUL送信制御とPLオフセットが設定されないケースのUL送信制御の一例を示す図である。
図11は、第1の実施形態に係る2つのTAをサポートする場合のUE動作の一例を示す図である。
図12は、本開示の一実施形態に係る無線通信システムの概略構成の一例を示す図である。
図13は、本開示の一実施形態に係る基地局の構成の一例を示す図である。
図14は、本開示の一実施形態に係る端末の構成の一例を示す図である。
図15は、本開示の一実施形態に係る基地局及び端末のハードウェア構成の一例を示す図である。
【発明を実施するための形態】
(【0011】以降は省略されています)
この特許をJ-PlatPat(特許庁公式サイト)で参照する
関連特許
株式会社NTTドコモ
推定装置
20日前
株式会社NTTドコモ
携帯端末
20日前
株式会社NTTドコモ
情報処理装置
22日前
株式会社NTTドコモ
移動通信端末
13日前
株式会社NTTドコモ
情報処理装置
20日前
株式会社NTTドコモ
端末及び通信方法
今日
株式会社NTTドコモ
端末及び通信方法
28日前
株式会社NTTドコモ
端末及び通信方法
28日前
株式会社NTTドコモ
端末及び通信方法
2日前
株式会社NTTドコモ
端末及び通信方法
2日前
株式会社NTTドコモ
端末及び通信方法
5日前
株式会社NTTドコモ
端末及び通信方法
28日前
株式会社NTTドコモ
端末及び通信方法
26日前
株式会社NTTドコモ
端末及び通信方法
26日前
株式会社NTTドコモ
端末及び通信方法
1日前
株式会社NTTドコモ
情報処理装置及び方法
14日前
株式会社NTTドコモ
情報処理装置及び方法
14日前
株式会社NTTドコモ
管理装置及び管理方法
5日前
株式会社NTTドコモ
管理装置及び管理方法
5日前
株式会社NTTドコモ
管理装置及び管理方法
5日前
株式会社NTTドコモ
端末、基地局及び通信方法
26日前
株式会社NTTドコモ
生成システム及び生成方法
12日前
株式会社NTTドコモ
情報処理装置及び情報処理方法
26日前
株式会社NTTドコモ
測位支援装置及び測位支援方法
7日前
株式会社NTTドコモ
電力監視装置、及び、電力監視方法
7日前
株式会社NTTドコモ
最適化支援装置および最適化支援方法
20日前
株式会社NTTドコモ
基地局、ネットワークノード及び端末
26日前
株式会社NTTドコモ
ネットワークノード、端末及び通信方法
28日前
株式会社NTTドコモ
端末装置、プログラム、及び情報処理方法
27日前
株式会社NTTドコモ
端末
7日前
株式会社NTTドコモ
太陽電池の配置支援装置及び太陽電池の配置支援方法
5日前
株式会社NTTドコモ
端末
1日前
株式会社NTTドコモ
端末及び通信方法
14日前
株式会社NTTドコモ
端末及び通信方法
14日前
株式会社NTTドコモ
端末及び無線通信方法
28日前
株式会社NTTドコモ
通信制御方法、端末、通信制御装置、通信制御システム、通信制御プログラム
12日前
続きを見る
他の特許を見る