TOP
|
特許
|
意匠
|
商標
特許ウォッチ
Twitter
他の特許を見る
10個以上の画像は省略されています。
公開番号
2025160236
公報種別
公開特許公報(A)
公開日
2025-10-22
出願番号
2025116810
出願日
2025-07-10
発明の名称
端末及び通信方法
出願人
株式会社NTTドコモ
代理人
弁理士法人ITOH
主分類
H04W
12/10 20210101AFI20251015BHJP(電気通信技術)
要約
【課題】LTM(Lower layer Triggered Mobility)におけるセキュリティを向上させること。
【解決手段】端末は、LTM(Lower layer Triggered Mobility)を実行中にハンドオーバ障害を検出する制御部と、セキュリティに係る障害であることを示す情報を含む、ハンドオーバ障害を報告するメッセージを基地局に送信する送信部とを有する。
【選択図】図6
特許請求の範囲
【請求項1】
LTM(Lower layer Triggered Mobility)を実行中にハンドオーバ障害を検出する制御部と、
セキュリティに係る障害であることを示す情報を含む、ハンドオーバ障害を報告するメッセージを基地局に送信する送信部とを有する端末。
続きを表示(約 530 文字)
【請求項2】
前記送信部は、ハンドオーバ障害の報告が利用可能であるか否かを示す情報を含むメッセージを前記基地局に送信する請求項1記載の端末。
【請求項3】
前記送信部は、使用したNCC(Next hop chaining counter)値を前記ハンドオーバ障害を報告するメッセージに含めて前記基地局に送信する請求項1記載の端末。
【請求項4】
前記送信部は、使用したskカウンタ値を前記ハンドオーバ障害を報告するメッセージに含めて前記基地局に送信する請求項1記載の端末。
【請求項5】
前記送信部は、使用したNCC(Next hop chaining counter)値又は使用したskカウンタ値が無効であることを示す情報を前記ハンドオーバ障害を報告するメッセージに含めて前記基地局に送信する請求項1記載の端末。
【請求項6】
LTM(Lower layer Triggered Mobility)を実行中にハンドオーバ障害を検出する手順と、
セキュリティに係る障害であることを示す情報を含む、ハンドオーバ障害を報告するメッセージを基地局に送信する手順とを端末が実行する通信方法。
発明の詳細な説明
【技術分野】
【0001】
本発明は、通信システムにおける端末及び通信方法に関する。
続きを表示(約 1,700 文字)
【背景技術】
【0002】
3GPP(登録商標)(3rd Generation Partnership Project)では、システム容量の更なる大容量化、データ伝送速度の更なる高速化、無線区間における更なる低遅延化等を実現するために、5GあるいはNR(New Radio)と呼ばれる無線通信方式(以下、当該無線通信方式を「5G」あるいは「NR」という。)の検討が進んでいる。5Gでは、10Gbps以上のスループットを実現しつつ無線区間の遅延を1ms以下にするという要求条件を満たすために、様々な無線技術の検討が行われている。
【0003】
NRでは、LTE(Long Term Evolution)のネットワークアーキテクチャにおけるコアネットワークであるEPC(Evolved Packet Core)に対応する5GC(5G Core Network)及びLTEのネットワークアーキテクチャにおけるRAN(Radio Access Network)であるE-UTRAN(Evolved Universal Terrestrial Radio Access Network)に対応するNG-RAN(Next Generation - Radio Access Network)を含むネットワークアーキテクチャが検討されている(例えば非特許文献1)。
【0004】
また、リリース19ではモビリティ強化として、インターCU(inter-Central Unit)LTM(Lower layer Triggered Mobility)、及びDC(Dual connectivity)を維持したままLTMを行うケースをサポートするための機能拡張が行われる見込みである(例えば非特許文献2)。
【0005】
また、MDT(Minimization of Drive Test)、SON(Self-Organizing Networks)が検討されている。例えば、MRO(Mobility Robustness Optimisation、モビリティロバスト性の最適化)の強化として、インターCU-LTM及びイントラCU条件付きLTMが検討されている。
【先行技術文献】
【非特許文献】
【0006】
3GPP TS 23.501 V18.8.0 (2024-12)
3GPP TSG-RAN Meeting #101 RP-232618, Bengaluru, India, 11-15 September 2023
3GPP TS 38.401 V18.4.0 (2024-12)
3GPP TS 38.331 V18.4.0 (2024-12)
【発明の概要】
【発明が解決しようとする課題】
【0007】
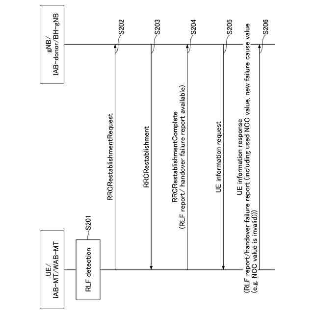
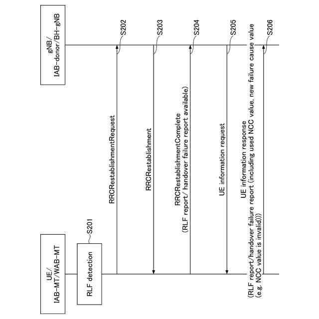
LTMにおけるセルスイッチコマンドにNCC(NH(Next hop) chaining counter)値が含まれる。しかしながら、LTMにおけるセルスイッチコマンドはセキュリティで保護されていないレイヤにおいて送信されるため、改ざんされる可能性がある。
【0008】
本発明は上記の点に鑑みてなされたものであり、LTM(Lower layer Triggered Mobility)におけるセキュリティを向上させることを目的とする。
【課題を解決するための手段】
【0009】
開示の技術によれば、LTM(Lower layer Triggered Mobility)を実行中にハンドオーバ障害を検出する制御部と、セキュリティに係る障害であることを示す情報を含む、ハンドオーバ障害を報告するメッセージを基地局に送信する送信部とを有する端末が提供される。
【発明の効果】
【0010】
開示の技術によれば、LTM(Lower layer Triggered Mobility)におけるセキュリティを向上させることができる。
【図面の簡単な説明】
(【0011】以降は省略されています)
特許ウォッチbot のツイートを見る
この特許をJ-PlatPat(特許庁公式サイト)で参照する
関連特許
他の特許を見る