TOP
|
特許
|
意匠
|
商標
特許ウォッチ
Twitter
他の特許を見る
公開番号
2025153393
公報種別
公開特許公報(A)
公開日
2025-10-10
出願番号
2024055859
出願日
2024-03-29
発明の名称
二酸化炭素の固定利用方法及び固定利用システム
出願人
国立大学法人東北大学
代理人
個人
,
個人
,
個人
,
個人
,
個人
主分類
B01D
53/62 20060101AFI20251002BHJP(物理的または化学的方法または装置一般)
要約
【課題】簡易な方法及び低消費エネルギーでも、二酸化炭素を吸収し、有機尿素化合物を生成する二酸化炭素の固定利用方法及び固定利用システムを提供する。
【解決手段】本発明の二酸化炭素の固定利用方法は、固体触媒を充填した気液反応器において、排ガス中の二酸化炭素をアミン化合物と反応させて、有機尿素化合物として固定する二酸化炭素の固定利用方法である。前記気液反応器を煙突内に設置し、前記排ガスを前記気液反応器内で上昇させるためのエネルギーの少なくとも一部に煙突効果を利用することが好ましい。前記気液反応器の中部において、前記気液反応器の液下流側から液上流側までの順において、酸性物質除去部と、二酸化炭素捕捉反応部を有する。
【選択図】図1
特許請求の範囲
【請求項1】
固体触媒を充填した気液反応器において、排ガス中の二酸化炭素をアミン化合物と反応させて、有機尿素化合物として固定する二酸化炭素の固定利用方法であって、
前記排ガスを導入する気相原料導入部を有し、
前記気液反応器の液上流側において、前記アミン化合物含有液を導入する液相原料導入部を有し、
前記気液反応器が、前記固体触媒を充填した二酸化炭素捕捉反応部を有し、
前記二酸化炭素捕捉反応部と前記気相原料導入部との間において、酸性物質除去部を有し、
前記気相原料導入部において、前記排ガスを導入し、下から上向きに流動し、前記酸性物質除去部と、前記二酸化炭素捕捉反応部と、をその順で通過する工程と、
前記液相原料導入部において、前記アミン化合物含有液を導入し、前記アミン化合物含有液が、上から下向きに流動し、前記二酸化炭素捕捉反応部と、前記酸性物質除去部と、をその順で通過する工程と、
前記酸性物質除去部において、上から流入した前記アミン化合物含有液と、下から流入した前記排ガスと接触させ、前記排ガスに含まれている酸性物質を除去する工程と、
前記酸性物質を除去された排ガスを前記二酸化炭素捕捉反応部に流入し、前記排ガスに含まれている二酸化炭素と、上から流入した前記アミン化合物とを、全体固体触媒を存在下で、反応させ、前記有機尿素化合物を生成する工程と、
前記有機尿素化合物を含む生成物混合液が、前記気液反応器の液下流側にある貯留部に留まり、前記気液反応器から排出させる工程と、を含むことを特徴とする二酸化炭素の固定利用方法。
続きを表示(約 900 文字)
【請求項2】
前記気液反応器がカスケードトリクルベッド反応器であり、
前記二酸化炭素捕捉反応部において、前記固体触媒を設置し、
前記酸性物質除去部において、無機充填材を設置する、請求項1に記載の二酸化炭素の固定利用方法。
【請求項3】
前記固体触媒が酸化セリウムである、請求項1に記載の二酸化炭素の固定利用方法。
【請求項4】
前記無機充填材が、ラシヒリングである、請求項2に記載の二酸化炭素の固定利用方法。
【請求項5】
前記気相原料導入部は、前記気液反応器の液下流側に配置されている、請求項1~4のいずれか1項に記載の二酸化炭素の固定利用方法。
【請求項6】
前記気液反応器を煙突内に設置し、前記排ガスを前記気液反応器内で上昇させるためのエネルギーの少なくとも一部に煙突効果を利用する請求項1~4のいずれか1項に記載の二酸化炭素の固定利用方法。
【請求項7】
前記排ガスが、煙道ガスであり、反応に必要なエネルギーの少なくとも一部に前記煙道ガスが有する燃焼熱を利用することを特徴とする請求項1~4のいずれか1項に記載の二酸化炭素の固定利用方法。
【請求項8】
前記酸性物質が、硫黄酸化物、窒素酸化物からなる群から選択される少なく1種である、請求項1~4のいずれか1項に記載の二酸化炭素の固定利用方法。
【請求項9】
前記アミン化合物がエチレンジアミン(EDA)、N,N’-ジメチルエチレンジアミン(NNDMEDA)、及びモノエタノールアミン(MEA)からなる群から選択される少なくとも1種である、請求項1~4のいずれか1項に記載の二酸化炭素の固定利用方法。
【請求項10】
前記有機尿素化合物が、2-イミダゾリジノン、1,3-ジメチル-2-イミダゾリジノン又は1,3-ビス(2-ヒドロキシエチル)ウレアからなる群から選択される少なくとも1種である、請求項1~4のいずれか1項に記載の二酸化炭素の固定利用方法。
(【請求項11】以降は省略されています)
発明の詳細な説明
【技術分野】
【0001】
本発明は、二酸化炭素の固定利用方法及び固定利用システムに関する。
続きを表示(約 3,600 文字)
【背景技術】
【0002】
地球温暖化の原因の一つとして、温室効果ガスの排出が挙げられる。温室効果ガスとしては、二酸化炭素の影響が最も大きく、二酸化炭素の削減が緊急の課題となっている。
【0003】
大気中に排出される二酸化炭素の大部分は燃焼に起因する。その燃焼排ガス中に含まれている二酸化炭素を除去する吸収装置が報告されている(特許文献1)。一方、プラントから排出される二酸化炭素を原料として使用し、N,N’-ジアルキル尿素を合成する方法が報告されている(特許文献2)。また、二酸化炭素とエチレンジアミンなどの特定のジアミン化合物を反応させて2-イミダゾリジノン等の環状ウレア化合物を製造する方法が報告されている(特許文献3)。
【先行技術文献】
【特許文献】
【0004】
特開平4-271809号公報
特開2021-113157号公報
特開2021-187765号公報
【発明の概要】
【発明が解決しようとする課題】
【0005】
ところで、二酸化炭素を単に固定利用できても、その製造過程でエネルギーを多く消費する場合、二酸化炭素の低減効果を相殺され、望ましくない。二酸化炭素の固定利用方法において、ライフサイクルを通じた環境負荷に着目し、低コスト、低消費エネルギーが必須である。そのため、簡易な方法及び低消費エネルギーでも、二酸化炭素を吸収し、有用な有機材料に転換利用方法が期待されている。
【0006】
上記事情に鑑み、本発明は、簡易な方法及び低消費エネルギーでも、二酸化炭素を吸収し、有機尿素化合物を生成る二酸化炭素の固定利用方法及び固定利用システムを提供することを目的としている。
【課題を解決するための手段】
【0007】
本発明の実施態様は以下である。
[1] 固体触媒を充填した気液反応器において、排ガス中の二酸化炭素をアミン化合物と反応させて、有機尿素化合物として固定する二酸化炭素の固定利用方法であって、
前記排ガスを導入する気相原料導入部を有し、
前記気液反応器の液上流側において、前記アミン化合物含有液を導入する液相原料導入部を有し、
前記気液反応器が、前記固体触媒を充填した二酸化炭素捕捉反応部を有し、
前記二酸化炭素捕捉反応部と気相原料導入部との間において、酸性物質除去部を有し、
前記気相原料導入部において、前記排ガスを導入し、下から上向きに流動し、前記酸性物質除去部と、前記二酸化炭素捕捉反応部と、をその順で通過する工程と、
前記液相原料導入部において、前記アミン化合物含有液を導入し、前記アミン化合物含有液が、上から下向きに流動し、前記二酸化炭素捕捉反応部と、前記酸性物質除去部と、をその順で通過する工程と、
前記酸性物質除去部において、上から流入した前記アミン化合物含有液と、下から流入した前記排ガスと接触させ、前記排ガスに含まれている酸性物質を除去する工程と、
前記酸性物質を除去された排ガスを前記二酸化炭素捕捉反応部に流入し、前記排ガスに含まれている二酸化炭素と、上から流入した前記アミン化合物とを、全体固体触媒を存在下で、反応させ、前記有機尿素化合物を生成する工程と、
前記有機尿素化合物を含む生成物混合液が、前記気液反応器の液下流側にある貯留部に留まり、前記気液反応器から排出させる工程と、を含むことを特徴とする二酸化炭素の固定利用方法。
[2] 前記気液反応器がカスケードトリクルベッド反応器であり、
前記二酸化炭素捕捉反応部において、前記固体触媒を設置し、
前記酸性物質除去部において、無機充填材を設置する、[1]に記載の二酸化炭素の固定利用方法。
[3] 前記固体触媒が酸化セリウムである、請求項1に記載の二酸化炭素の固定利用方法。
[4] 前記無機充填材が、ラシヒリングである、[2]に記載の二酸化炭素の固定利用方法。
[5] 前記気相原料導入部は、前記気液反応器の液下流側に配置されている、[1]~[4]のいずれかに記載の二酸化炭素の固定利用方法。
[6] 前記気液反応器を煙突内に設置し、前記排ガスを前記気液反応器内で上昇させるためのエネルギーの少なくとも一部に煙突効果を利用する[1]~[5]のいずれかに記載の二酸化炭素の固定利用方法。
[7] 前記二酸化炭素含有排ガスが、煙道ガスであり、反応に必要なエネルギーの少なくとも一部に前記煙道ガスが有する燃焼熱を利用することを特徴とする[1]~[6]のいずれかに記載の二酸化炭素の固定利用方法。
[8] 前記酸性物質が、硫黄酸化物、窒素酸化物からなる群から選択される少なく1種である、[1]~[7]のいずれかに記載の二酸化炭素の固定利用方法。
[9] 前記アミン化合物がエチレンジアミン(EDA)、N,N’-ジメチルエチレンジアミン(NNDMEDA)、及びモノエタノールアミン(MEA)からなる群から選択される少なくとも1種である、[1]~[8]のいずれかに記載の二酸化炭素の固定利用方法。
[10] 前記有機尿素化合物が、2-イミダゾリジノン、1,3-ジメチル-2-イミダゾリジノン又は1,3-ビス(2-ヒドロキシエチル)ウレアからなる群から選択される少なくとも1種である、[1]~[9]のいずれかに記載の二酸化炭素の固定利用方法。
[11] さらに、前記生成物混合液から、前記有機尿素化合物を分離し、未反応の前記アミン化合物を回収・再利用する工程、を含む[1]~[10]のいずれかに記載の二酸化炭素の固定利用方法。
[12] [1]~[11]のいずれかに記載の二酸化炭素の固定利用方法を用いて、排ガス中の二酸化炭素をアミン化合物と反応させて、有機尿素化合物として固定する二酸化炭素の固定利用システムであって、
前記固体触媒を充填した前記二酸化炭素捕捉反応部を有する前記気液反応器と、
前記排ガスを導入する気相原料導入部と、
前記気液反応器の液上流側において、前記アミン化合物含有液を導入する液相原料導入部と、
前記二酸化炭素捕捉反応部と前記気相原料導入部との間に設置した前記し酸性物質除去部と、
前記気液反応器の液下流側にある貯留部と、
を備える二酸化炭素の固定利用システム。
[13] 前記気相原料導入部は、前記気液反応器の液下流側に配置されている、[12]に記載の二酸化炭素の固定利用システム。
[14] 前記気液反応器を設置した煙突を更に備える、[12]又は[13]に記載の二酸化炭素の固定利用システム。
[15] さらに、生成物溶液から有機尿素を分離し、未反応の前記アミン化合物を回収・再利用する回収・再利用部を備える[12]~[14]の何れかに記載の二酸化炭素の固定利用システム。
【発明の効果】
【0008】
本発明は、簡易な方法及び低消費エネルギーでも、二酸化炭素を吸収し、有機尿素化合物を生成る二酸化炭素の固定利用方法及び固定利用システムを提供することができる。
【図面の簡単な説明】
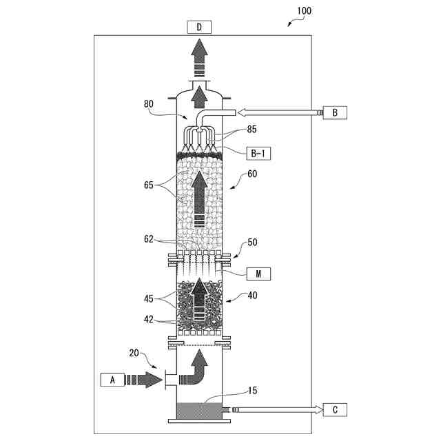
【0009】
第1実施形態の二酸化炭素の固定利用方法における気液反応器を説明する説明図である。
第2実施形態の二酸化炭素の固定利用方法における気液反応器を説明する図である。
【発明を実施するための形態】
【0010】
(二酸化炭素の固定利用方法)
本発明の一実施形態の二酸化炭素の固定利用方法は、固体触媒を充填した気液反応器において、排ガス中の二酸化炭素をアミン化合物と反応させて、有機尿素化合物として固定する二酸化炭素の固定利用方法である。
前記排ガスを導入する気相原料導入部を有し、前記気液反応器の液上流側において、前記アミン化合物含有液を導入する液相原料導入部を有し、前記反応器が、前記固体触媒を充填した二酸化炭素捕捉反応部を有する。前記二酸化炭素捕捉反応部と気相原料導入部との間において、酸性物質除去部を有する。前記気相原料導入部は、前記反応器の液下流側に配置されていることが好ましい。
本実施形態の二酸化炭素の固定利用方法において、前記気液反応器を煙突内に設置し、前記排ガスを前記気液反応器内で上昇させるためのエネルギーの少なくとも一部に煙突効果を利用することが好ましい。
(【0011】以降は省略されています)
この特許をJ-PlatPat(特許庁公式サイト)で参照する
関連特許
国立大学法人東北大学
液晶装置
3か月前
国立大学法人東北大学
抗マラリア薬
8日前
国立大学法人東北大学
異物吸引装置
2か月前
国立大学法人東北大学
弾性表面波デバイス
今日
国立大学法人東北大学
発電素子、発電装置
2か月前
国立大学法人東北大学
重金属の不溶化方法
1か月前
国立大学法人東北大学
駆動装置及び移動体
29日前
国立大学法人東北大学
通信回路及び変調方法
4か月前
国立大学法人東北大学
インフラマソーム阻害剤
2か月前
国立大学法人東北大学
推定装置、及び、推定方法
29日前
国立大学法人東北大学
チタン合金とその製造方法
2か月前
デンカ株式会社
模擬臓器
2か月前
国立大学法人東北大学
推定装置、及び、推定方法
29日前
国立大学法人東北大学
電解精製装置、電解精製方法
8日前
大王製紙株式会社
吸収性物品
4か月前
国立大学法人東北大学
周波数選択透過性誘電体フィルタ
4か月前
国立大学法人東北大学
熱電材料および熱電材料の製造方法
3か月前
国立大学法人東北大学
脊髄梗塞治療のための多能性幹細胞
2か月前
デンカ株式会社
医療用配管の保持器
3か月前
株式会社C&A
合金部材および製品
1か月前
富士産業株式会社
骨格筋分化促進剤
1か月前
株式会社C&A
柱状構造体の作製方法
1か月前
株式会社オサチ
感覚障害評価システム
3か月前
住友金属鉱山株式会社
銅精鉱の製錬方法
1か月前
住友金属鉱山株式会社
銅精鉱の製錬方法
1か月前
信越化学工業株式会社
磁気ドメイン構造体
3か月前
国立大学法人東北大学
空間光変調素子、ホログラフィ立体表示装置
1か月前
京セラ株式会社
半導体装置及びその製造方法
1か月前
国立大学法人東北大学
二酸化炭素の固定利用方法及び固定利用システム
28日前
株式会社タムラ製作所
パワー半導体モジュール
29日前
株式会社ジーシーMfg
歯科用重合性覆髄材組成物
1か月前
日鉄鉱業株式会社
カルボニル鉄粉及びその製造方法
3か月前
NTT株式会社
無線通信システム及び無線通信方法
1日前
NTT株式会社
評価装置、評価方法およびプログラム
17日前
国立大学法人東北大学
運転者の疲労推定システムおよび運転者の疲労推定方法
1か月前
国立大学法人東北大学
飛行体の自動着陸システムおよび飛行体の自動着陸方法
4か月前
続きを見る
他の特許を見る