TOP
|
特許
|
意匠
|
商標
特許ウォッチ
Twitter
他の特許を見る
10個以上の画像は省略されています。
公開番号
2025152585
公報種別
公開特許公報(A)
公開日
2025-10-10
出願番号
2024054543
出願日
2024-03-28
発明の名称
データ連動システム、データ連動方法及びデータ連動プログラム
出願人
株式会社日立製作所
代理人
弁理士法人サンネクスト国際特許事務所
主分類
G06Q
10/06 20230101AFI20251002BHJP(計算;計数)
要約
【課題】並行して進む業務フロー間でデータ連動を行う。
【解決手段】データ連動システムとしてのコンピュータ1は、業務が連鎖する業務フローと、業務フローが扱う案件の情報とを含む業務フロー案件データ43とを記憶部23に記憶する。またコンピュータ1は、業務フロー間で連動させる連動元目と連動先のデータ項目との関係を保持する情報を含む連動対象データ44を記憶部に記憶する。コンピュータ1は、第1の主業務フローの第1の連動元のデータ項目に係る業務データと、第1の主業務フローから供給を受け業務を実施する第1の副業務フローの第1の連動先のデータ項目に係る業務データと、をマッピングして連動させる。そして第1の主業務フローの第1の連動元のデータ項目に係る第1の業務の実施中に、第1の主業務フローの第1の連動元のデータ項目に係る業務データと、第1の副業務フローの第1の連動先のデータ項目に係る業務データと、を連動させる。
【選択図】図2
特許請求の範囲
【請求項1】
複数の業務フロー間でデータを連動させるデータ連動システムであって、
連鎖する複数の業務からなる前記業務フローと、該業務フローが扱う案件の情報と、を含む業務フロー案件データと、
前記業務フロー間で連動させるデータ項目のうちの連動元のデータ項目と、連動先のデータ項目と、の関係を保持する情報を含む連動対象データと、を記憶する記憶部と、
前記業務フローのうちの第1の主業務フローの第1の前記連動元のデータ項目に係る業務データと、前記第1の主業務フローから供給を受け業務を実施する前記業務フローである第1の副業務フローの第1の前記連動先のデータ項目に係る業務データと、をマッピングして連動させる業務データマッピング部と、
を有し、
前記業務データマッピング部は、
前記第1の主業務フローの前記第1の連動元のデータ項目に係る第1の業務の実施中に、前記第1の主業務フローの前記第1の連動元のデータ項目に係る業務データと、前記第1の副業務フローの前記第1の連動先のデータ項目に係る業務データと、を連動させる
ことを特徴とするデータ連動システム。
続きを表示(約 2,500 文字)
【請求項2】
請求項1に記載のデータ連動システムであって、
前記業務データマッピング部は、
前記第1の主業務フローに対して供給を行う前記業務フローである第2の主業務フローの第2の前記連動元のデータ項目に係る業務データと、前記第1の主業務フローの第2の前記連動先のデータ項目に係る業務データと、をマッピングして連動させ、
前記第1の主業務フローの前記第1の連動元のデータ項目に係る業務データと、前記第1の主業務フローの前記第2の連動先のデータ項目に係る業務データと、が紐付けられて連動する
ことを特徴とするデータ連動システム。
【請求項3】
請求項2に記載のデータ連動システムであって、
前記第2の主業務フローの前記第2の連動元のデータ項目に係る第2の業務の実施中に、前記第2の連動元のデータ項目に係る業務データと、前記第2の連動先のデータ項目に係る業務データと、が連動し、
前記第1の業務は、前記第2の業務の実施中に実施される
ことを特徴とするデータ連動システム。
【請求項4】
請求項1に記載のデータ連動システムであって、
前記業務データマッピング部は、
前記第1の連動元のデータ項目に係る業務データと、前記第1の主業務フローから供給を受け業務を実施する前記業務フローである第2の副業務フローの1又は複数の前記第1の連動先のデータ項目に係る業務データと、を連動させる
ことを特徴とするデータ連動システム。
【請求項5】
請求項1に記載のデータ連動システムであって、
前記記憶部は、各業務フローに関わるテナントの情報を含む実施テナントデータをさらに記憶し、
前記第1の主業務フローの実施テナントである第1のテナントから前記第1の副業務フローのデータ連動依頼を受け付ける入力部と、
前記データ連動依頼に基づいて前記第1の副業務フローを生成する業務フロー生成部と、
少なくとも前記第1のテナントを前記第1の副業務フローの実施テナントとする実施テナントデータ管理部と
各業務フローの前記実施テナントデータに属するテナントが該各業務フローの業務データにアクセス可能なよう制御するアクセス制御部と
をさらに有することを特徴とするデータ連動システム。
【請求項6】
請求項1に記載のデータ連動システムであって、
前記第1の主業務フローの前記第1の連動元のデータ項目に係る業務データと、前記第1の副業務フローの前記第1の連動先のデータ項目に係る業務データと、を対応付けて出力する出力部と、
前記出力部による出力を表示する表示部と
をさらに有することを特徴とするデータ連動システム。
【請求項7】
請求項2に記載のデータ連動システムであって、
前記第2の主業務フローの前記第2の連動元のデータ項目に係る業務データと、前記第1の主業務フローの前記第1の連動先のデータ項目に係る業務データとが、所定の関係式を充足するように連動される
ことを特徴とするデータ連動システム。
【請求項8】
請求項2に記載のデータ連動システムであって、
前記第1の主業務フローと前記第2の主業務フローの組み合わせは、再生医療製品の投与業務と配送業務、再生医療製品の販売業務と配送業務、及び再生医療製品の製造業務と保管業務の何れかである
ことを特徴とするデータ連動システム。
【請求項9】
複数の業務フロー間でデータを連動させるデータ連動システムが実行するデータ連動方法であって、
前記データ連動システムは、
連鎖する複数の業務からなる前記業務フローと、該業務フローが扱う案件の情報と、を含む業務フロー案件データと、
前記業務フロー間で連動させるデータ項目のうちの連動元のデータ項目と、連動先のデータ項目と、の関係を保持する情報を含む連動対象データと、を記憶する記憶部を有し、
前記データ連動システムの業務データマッピング部が、前記業務フローのうちの第1の主業務フローの第1の前記連動元のデータ項目に係る業務データと、前記第1の主業務フローから供給を受け業務を実施する前記業務フローである第1の副業務フローの第1の前記連動先のデータ項目に係る業務データと、をマッピングして連動させる業務データマッピング手順を有し、
前記業務データマッピング手順では、前記業務データマッピング部は、
前記第1の主業務フローの前記第1の連動元のデータ項目に係る第1の業務の実施中に、前記第1の主業務フローの前記第1の連動元のデータ項目に係る業務データと、前記第1の副業務フローの前記第1の連動先のデータ項目に係る業務データと、を連動させる
ことを特徴とするデータ連動方法。
【請求項10】
コンピュータを、
連鎖する複数の業務からなる前記業務フローと、該業務フローが扱う案件の情報と、を含む業務フロー案件データと、
前記業務フロー間で連動させるデータ項目のうちの連動元のデータ項目と、連動先のデータ項目と、の関係を保持する情報を含む連動対象データと、を記憶する記憶部、
前記業務フローのうちの第1の主業務フローの第1の前記連動元のデータ項目に係る業務データと、前記第1の主業務フローから供給を受け業務を実施する前記業務フローである第1の副業務フローの第1の前記連動先のデータ項目に係る業務データと、をマッピングして連動させる業務データマッピング部、
として機能させ、
前記業務データマッピング部は、
前記第1の主業務フローの前記第1の連動元のデータ項目に係る第1の業務の実施中に、前記第1の主業務フローの前記第1の連動元のデータ項目に係る業務データと、前記第1の副業務フローの前記第1の連動先のデータ項目に係る業務データと、を連動させる
ことを特徴とするデータ連動プログラム。
発明の詳細な説明
【技術分野】
【0001】
本発明は、データ連動システム、データ連動方法及びデータ連動プログラムに関する。
続きを表示(約 2,100 文字)
【背景技術】
【0002】
データ連動システムとしては、従来、特開2000-172770号公報(特許文献1)に記載の技術がある。この公報には、「ワークフロー管理システムとERPシステム等のアプリケーション・システムとの間で発行されたオペレーションと戻り値を、予め作成されたデータ変換規則データベース及びオペレーション変換規則データベースを使って変換し、受け手側の形式で再発行する。また、監視項目を設定し、そのデータ項目がワークフロー管理システムまたはアプリケーション・システムのどちらか一方において変更された場合、その変更内容を他方へも通知し、自動的に更新する。」という記載がある。
【先行技術文献】
【特許文献】
【0003】
特開2000-172770号公報
特開2014-154120号公報
【発明の概要】
【発明が解決しようとする課題】
【0004】
特許文献1では、業務フローにおけるあるデータ項目に変更があった際に、当該業務フローと連動するアプリケーションのデータ項目を変更することについて記載がある。また特許文献2では、主業務フローと主業務フローから分岐して発生する複数の従業務フローについて、主業務フローが従業務フローの進捗を管理することについて記載がある。
【0005】
ところで、供給に係る業務フローであるサプライチェーンを連携させる場合、先行する業務フローの最終的な情報が、後続する業務フローのインプットとすることが行われているが、この方式では複数業務フローが並行して進む場合にデータを連動させることはできない。
【0006】
特許文献1は業務フローでのデータ変更をアプリケーションに反映させる手法であり、複数の業務フローが並行して進む場合にデータを連動させることについて記載はない。また、特許文献2は並行して進む主業務フローと従業務フローにおいて主業務フローが従業務フローの管理をする手法であり、主業務フローと従業務フローの間でのデータを連動させることについて記載はない。
【0007】
そこで、本発明では、並行して進む業務フロー間でデータ連動を行うことができるデータ連動システム、データ連動方法及びデータ連動プログラムを提供することを目的とする。
【課題を解決するための手段】
【0008】
上記目的を達成するために、代表的な本発明のデータ連動システムの一つは、複数の業務フロー間でデータを連動させるデータ連動システムであって、連鎖する複数の業務からなる前記業務フローと、該業務フローが扱う案件の情報と、を含む業務フロー案件データと、前記業務フロー間で連動させるデータ項目のうちの連動元のデータ項目と、連動先のデータ項目と、の関係を保持する情報を含む連動対象データと、を記憶する記憶部と、前記業務フローのうちの第1の主業務フローの第1の前記連動元のデータ項目に係る業務データと、前記第1の主業務フローから供給を受け業務を実施する前記業務フローである第1の副業務フローの第1の前記連動先のデータ項目に係る業務データと、をマッピングして連動させる業務データマッピング部と、を有し、前記業務データマッピング部は、前記第1の主業務フローの前記第1の連動元のデータ項目に係る第1の業務の実施中に、前記第1の主業務フローの前記第1の連動元のデータ項目に係る業務データと、前記第1の副業務フローの前記第1の連動先のデータ項目に係る業務データと、を連動させることを特徴とする。
【発明の効果】
【0009】
本発明によれば、並行して進む業務フロー間でデータ連動を行うことができる。上記した以外の課題、構成及び効果は以下の実施の形態の説明により明らかにされる。
【図面の簡単な説明】
【0010】
実施例1に係るデータ連動の説明図。
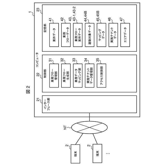
実施例1に係るシステムを実現するコンピュータの構成図。
実施例1に係る業務データの具体例についての説明図。
実施例1に係るマッピングデータの具体例についての説明図。
実施例1に係る実施テナントデータの具体例についての説明図。
実施例1に係る業務フローデータの具体例についての説明図。
業務フロー案件データの具体例についての説明図。
実施例1に係る連動対象データの具体例についての説明図。
実施例1に係るマッピングデータの具体例についての説明図。
実施例1に係る業務フローの生成とデータ連動の処理手順を示すフローチャート。
実施例1に係るデータ変更時の処理手順を示すフローチャート。
実施例1に係るシステムによる出力画面についての説明図。
実施例2に係るデータ連動の説明図。
実施例2に係る連動対象データの具体例についての説明図。
【発明を実施するための形態】
(【0011】以降は省略されています)
この特許をJ-PlatPat(特許庁公式サイト)で参照する
関連特許
株式会社日立製作所
部品管理装置及び方法
1日前
株式会社日立製作所
情報処理装置、情報処理方法
3日前
株式会社日立製作所
蒸発乾固装置および蒸発乾固方法
2日前
株式会社日立製作所
情報処理システム、及び情報処理方法
3日前
株式会社日立製作所
情報処理システム、及び情報処理方法
1日前
株式会社日立製作所
説明情報生成装置及び説明情報生成方法
2日前
株式会社日立製作所
故障要因分析装置及び故障要因分析方法
2日前
株式会社日立製作所
臨床試験計画装置および臨床試験計画方法
3日前
株式会社日立製作所
クラウドデータベースシステム及びデータ管理方法
3日前
株式会社日立製作所
ストレージシステム及びストレージシステムの制御方法
2日前
株式会社日立製作所
水電解システムの運用装置及び水電解システムの運用方法
2日前
株式会社日立製作所
飛行体検知装置、飛行体検知方法、及び飛行体制御システム
1日前
株式会社日立製作所
情報処理方法、情報処理プログラム、及び情報処理システム
1日前
株式会社日立製作所
ロボット制御装置、ロボット、及び、ロボット制御システム
2日前
株式会社日立製作所
自動画面操作テスト支援装置及び自動画面操作テスト支援方法
2日前
株式会社日立製作所
データ連動システム、データ連動方法及びデータ連動プログラム
1日前
株式会社日立製作所
ロジックモデル作成支援装置およびロジックモデル作成支援方法
3日前
株式会社日立製作所
障害分析システム、障害分析方法、及び障害分析モデル生成方法
1日前
株式会社日立製作所
栄養塩類徐放性ブロックの製造方法および栄養塩類徐放性ブロック
2日前
株式会社日立製作所
ロボット管理装置、ロボット管理システムおよびロボット管理方法
2日前
株式会社日立製作所
浄水薬品注入制御システム、浄水薬品注入制御方法、及びプログラム
2日前
株式会社日立製作所
脅威インテリジェンス生成装置、及び脅威インテリジェンス生成方法
2日前
株式会社日立製作所
ロボットの動作学習装置、動作学習システム、および、動作学習方法
1日前
株式会社日立製作所
治療選択支援装置、治療選択支援方法、および治療選択支援プログラム
1日前
株式会社日立製作所
計画立案システム、生産管理システム、計画立案方法、および計画立案プログラム
2日前
株式会社日立製作所
電力貯蔵装置監視システム及び電力貯蔵装置監視方法、並びに、電力貯蔵システム
2日前
株式会社日立製作所
セキュリティ侵害分析装置、セキュリティ侵害分析方法、及びセキュリティ分析システム
1日前
株式会社日立製作所
ストレージコントローラにおいて実行されるソフトウェアの起動における改ざん検証のテストを行うシステム
1日前
個人
QRコードの彩色
1日前
個人
工程設計支援装置
1か月前
個人
地球保全システム
10日前
個人
冷凍食品輸出支援構造
1か月前
個人
為替ポイント伊達夢貯
1か月前
個人
表変換編集支援システム
1か月前
個人
残土処理システム
3日前
個人
携帯情報端末装置
1か月前
続きを見る
他の特許を見る