TOP
|
特許
|
意匠
|
商標
特許ウォッチ
Twitter
他の特許を見る
10個以上の画像は省略されています。
公開番号
2025150769
公報種別
公開特許公報(A)
公開日
2025-10-09
出願番号
2024051834
出願日
2024-03-27
発明の名称
異方導電性シート、プローブカード、電気検査装置及び電気検査方法
出願人
三井化学株式会社
代理人
弁理士法人鷲田国際特許事務所
主分類
G01R
1/073 20060101AFI20251002BHJP(測定;試験)
要約
【課題】間隔の狭い検査対象物の端子と、間隔の広い接続基板の電極とのピッチ変換を可能とする異方導電性シートを提供する。
【解決手段】異方導電性シートは、厚み方向の一方の側に位置する第1面と、厚み方向の他方の側に位置する第2面と、前記第1面から前記第2面までを貫通する複数の貫通孔とを有する絶縁層と、前記第1面上に配置された第1導電層と、前記第2面上に配置された第2導電層と、前記貫通孔内に配置され、前記第1導電層と前記第2導電層とを接続する接続部とをそれぞれ有する複数の導電部とを有し、前記複数の導電部のうち少なくとも1つの導電部は、前記第1導電層と前記第2導電層の形状が異なる。
【選択図】図2
特許請求の範囲
【請求項1】
厚み方向の一方の側に位置する第1面と、厚み方向の他方の側に位置する第2面と、前記第1面から前記第2面までを貫通する複数の貫通孔とを有する絶縁層と、
前記第1面上に配置された第1導電層と、前記第2面上に配置された第2導電層と、前記貫通孔内に配置され、前記第1導電層と前記第2導電層とを接続する接続部とをそれぞれ有する複数の導電部とを有し、
前記複数の導電部のうち少なくとも1つの導電部は、前記第1導電層と前記第2導電層の形状が異なる、
異方導電性シート。
続きを表示(約 1,000 文字)
【請求項2】
前記第1導電層は、第1端子を有し、
前記第2導電層は、第2端子を有し、
前記第1導電層と前記第2導電層の形状が異なる前記少なくとも1つの導電部では、透過平面視したときに、前記第1端子と前記第2端子とが重ならない、
請求項1に記載の異方導電性シート。
【請求項3】
前記第1導電層と前記第2導電層の形状が異なる前記少なくとも1つの導電部では、
前記接続部から前記第1端子までの距離は、前記接続部から前記第2端子までの距離より長い、
請求項2に記載の異方導電性シート。
【請求項4】
透過平面視したときに前記第2面上の前記第1端子に対応する位置に配置され、且つ前記複数の導電部と電気的に接続されていない第1スペーサをさらに有する、
請求項2に記載の異方導電性シート。
【請求項5】
前記第1スペーサの厚みは、前記第2導電層の厚みと実質的に同じである、
請求項4に記載の異方導電性シート。
【請求項6】
前記第1スペーサは、前記導電部と同じ材料で構成されている、
請求項4に記載の異方導電性シート。
【請求項7】
透過平面視したときに前記第1面上と前記第2面上のいずれにも前記複数の導電部がない領域を有し、
前記領域の前記第1面又は前記第2面上に配置され、且つ前記複数の導電部と電気的に接続されていない第2スペーサをさらに有する、
請求項2~6のいずれか一項に記載の異方導電性シート。
【請求項8】
前記第2スペーサが前記第1面上に配置されている場合、前記第2スペーサの厚みは、前記第1導電層の厚みと実質的に同じであり、
前記第2スペーサが前記第2面上に配置されている場合、前記第2スペーサの厚みは、前記第2導電層の厚みと実質的に同じである、
請求項7に記載の異方導電性シート。
【請求項9】
前記第2スペーサは、前記導電部と同じ材料で構成されている、
請求項7に記載の異方導電性シート。
【請求項10】
複数の前記第1端子の最小中心間距離は、複数の前記第2端子の最小中心間距離よりも小さい、
請求項2に記載の異方導電性シート。
(【請求項11】以降は省略されています)
発明の詳細な説明
【技術分野】
【0001】
本発明は、異方導電性シート、プローブカード、電気検査装置及び電気検査方法に関する。
続きを表示(約 3,100 文字)
【背景技術】
【0002】
多数の集積回路が形成されたウエハや、半導体素子等の電子部品などの回路装置は、電気検査に供される。電気検査は、テストボードの端子と、検査対象物の端子とを電気的に接続させ、検査対象物の端子間に所定の電圧を印加したときの電流を読み取ることにより行われる。そして、電気検査を行う場合、テストボードの電極と、検査対象物の端子との電気的接続を確実に行うために、プローブカードが用いられている。
【0003】
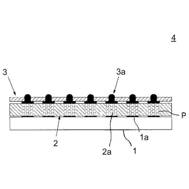
例えば、ウエハに形成された集積回路を検査するためのプローブカードとして、複数の検査用電極1aを有する接続基板1と、導電性粒子Pで構成された複数の導電部2aを有する異方導電性シート2と、複数の導電部3aを有するシート状プローブ3とを有するプローブカード4が提案されている(例えば特許文献1及び図1参照)。
【0004】
また、異方導電性シートとしては、上記以外にも、絶縁層に複数の貫通孔を形成し、それぞれに導電部を形成した異方導電性シートも提案されている(例えば特許文献2参照)。
【先行技術文献】
【特許文献】
【0005】
特開2002-184821号公報
国際公開第2021/100824号
【発明の概要】
【発明が解決しようとする課題】
【0006】
ところで、電気検査を行う場合、接続基板の電極と検査対象物の端子とが1対1に対応するように配置される。そのため、異方導電性シートも、特許文献1と同様に、接続基板側の導電層と検査対象物側の導電層とが1対1に対応するように、即ち、絶縁層を挟んで対称となるように配置される(図1参照)。
【0007】
しかしながら、その場合、検査対象物の端子の間隔が狭くなると、異方導電性シートの一方の面と他方の面との導通を保つための微細な貫通孔を狭い間隔で形成し、その孔内部に導電部を形成する必要がある。そのような微細な貫通孔を狭いピッチで形成することや、その内部に導電部を形成することは困難であった。そのため、貫通孔を狭いピッチで形成しなくても、間隔の狭い検査対象物の端子と、間隔の広い接続基板の電極とを接続できること、即ち、ピッチ変換できることが望まれている。
【0008】
本発明は、上記課題に鑑みてなされたものであり、間隔の狭い検査対象物の端子と、間隔の広い接続基板の電極とのピッチ変換を可能とする異方導電性シート、プローブカード、電気検査装置及び電気検査方法を提供することを目的とする。
【課題を解決するための手段】
【0009】
上記課題は、以下の構成によって解決することができる。
【0010】
[1] 厚み方向の一方の側に位置する第1面と、厚み方向の他方の側に位置する第2面と、前記第1面から前記第2面までを貫通する複数の貫通孔とを有する絶縁層と、前記第1面上に配置された第1導電層と、前記第2面上に配置された第2導電層と、前記貫通孔内に配置され、前記第1導電層と前記第2導電層とを接続する接続部とをそれぞれ有する複数の導電部とを有し、前記複数の導電部のうち少なくとも1つの導電部は、前記第1導電層と前記第2導電層の形状が異なる、異方導電性シート。
[2] 前記第1導電層は、第1端子を有し、前記第2導電層は、第2端子を有し、
前記第1導電層と前記第2導電層の形状が異なる前記少なくとも1つの導電部では、透過平面視したときに、前記第1端子と前記第2端子とが重ならない、[1]に記載の異方導電性シート。
[3] 前記第1導電層と前記第2導電層の形状が異なる前記少なくとも1つの導電部では、前記接続部から前記第1端子までの距離は、前記接続部から前記第2端子までの距離より長い、[2]に記載の異方導電性シート。
[4] 透過平面視したときに前記第2面上の前記第1端子に対応する位置に配置され、且つ前記複数の導電部と電気的に接続されていない第1スペーサをさらに有する、[2]に記載の異方導電性シート。
[5] 前記第1スペーサの厚みは、前記第2導電層の厚みと実質的に同じである、[4]に記載の異方導電性シート。
[6] 前記第1スペーサは、前記導電部と同じ材料で構成されている、[4]に記載の異方導電性シート。
[7] 透過平面視したときに前記第1面上と前記第2面上のいずれにも前記複数の導電部がない領域を有し、前記領域の前記第1面又は前記第2面上に配置され、且つ前記複数の導電部と電気的に接続されていない第2スペーサをさらに有する、[2]~[6]のいずれかに記載の異方導電性シート。
[8] 前記第2スペーサが前記第1面上に配置されている場合、前記第2スペーサの厚みは、前記第1導電層の厚みと実質的に同じであり、前記第2スペーサが前記第2面上に配置されている場合、前記第2スペーサの厚みは、前記第2導電層の厚みと実質的に同じである、
[7]に記載の異方導電性シート。
[9] 前記第2スペーサは、前記導電部と同じ材料で構成されている、[7]に記載の異方導電性シート。
[10] 複数の前記第1端子の最小中心間距離は、複数の前記第2端子の最小中心間距離よりも小さい、[2]に記載の異方導電性シート。
[11] 前記第1端子は、検査対象物の端子と接続され、前記第2端子は、接続基板の電極と接続される、[2]に記載の異方導電性シート。
[12] 複数の電極を有する接続基板と、[1]~[11]のいずれかに記載の異方導電性シートと、を有し、前記異方導電性シートの複数の前記第2導電層は、前記接続基板の前記複数の電極と接続されている、プローブカード。
[13] 前記第1導電層は、第1端子を有し、前記第2導電層は、第2端子を有し、前記第1導電層と前記第2導電層の形状が異なる前記少なくとも1つの導電部では、透過平面視したときに、前記第1端子と前記第2端子とが重ならない、[12]に記載のプローブカード。
[14] 前記異方導電性シートは、前記第2面上の前記第1端子に対応する位置に配置され、前記導電部と電気的に接続されていない第1スペーサをさらに有し、前記接続基板は、前記第1スペーサと対向して配置された基板側第1スペーサをさらに有する、[13]に記載のプローブカード。
[15] 前記異方導電性シートは、透過平面視したときに前記第1面上と前記第2面上のいずれにも前記複数の導電部がない領域と、前記領域の前記第1面及び前記第2面上に配置された第2スペーサをさらに有し、前記接続基板は、前記第2面上に配置された前記第2スペーサと対向して配置された基板側第2スペーサをさらに有する、[13]又は[14]に記載のプローブカード。
[16] 端子を有するテストボードと、[12]~[15]のいずれかに記載のプローブカードと、前記第1面と対向する位置に検査対象物を配置する台座と、を有する、電気検査装置。
[17] 検査対象物の電気検査を行う電気検査方法であって、[12]~[15]のいずれかに記載のプローブカードの前記異方導電性シートの前記第1面の前記第1導電層に検査対象物の端子を接続し、検査対象物の端子とテストボードの端子とを前記プローブカードを介して電気的に接続する、電気検査方法。
【発明の効果】
(【0011】以降は省略されています)
この特許をJ-PlatPat(特許庁公式サイト)で参照する
関連特許
三井化学株式会社
手術用器具
28日前
三井化学株式会社
充電コネクタ
27日前
三井化学株式会社
ドローン用ブレード
28日前
三井化学株式会社
自動車内装材用積層体
27日前
三井化学株式会社
樹脂組成物及び成形体
23日前
三井化学株式会社
樹脂組成物及び成形体
23日前
三井化学株式会社
バックドア及び移動体
27日前
三井化学株式会社
樹脂組成物および接着剤
27日前
三井化学株式会社
熱可塑性エラストマー組成物
28日前
三井化学株式会社
エチレン共重合体の製造方法
23日前
三井化学株式会社
極性重合体組成物および成形体
27日前
三井化学株式会社
繊維強化樹脂組成物および成形体
27日前
三井化学株式会社
エラストマー組成物およびその用途
1日前
三井化学株式会社
非水電解液及び非水電解液二次電池
27日前
三井化学株式会社
固体組成物及び固体組成物の製造方法
27日前
三井化学株式会社
オレフィン系重合体組成物および成形体
27日前
三井化学株式会社
延伸フィルムおよび延伸フィルムの製造方法
28日前
三井化学株式会社
熱可塑性エラストマー組成物、および成形品
27日前
三井化学株式会社
サイドドア、移動体、及びサイドドアの製造方法
27日前
三井化学株式会社
クメン、フェノール、α-メチルスチレンを製造する方法
27日前
三井化学株式会社
オレフィン重合用触媒、およびオレフィン重合体の製造方法
23日前
三井化学株式会社
オレフィン重合用触媒、およびオレフィン重合体の製造方法
23日前
三井化学株式会社
培養容器の製造方法、培養容器、細胞培養方法、及び細胞観察方法
27日前
三井化学株式会社
固体状チタン触媒成分の製造方法およびエチレン重合体の製造方法
28日前
三井化学株式会社
ポリオレフィンワックス、樹脂組成物、コーティング剤および接着剤
27日前
三井化学株式会社
固体状チタン触媒成分の製造方法、およびオレフィン重合体の製造方法
23日前
三井化学株式会社
レーザ描画用光硬化性樹脂組成物、立体造形物、および立体造形物の製造方法
27日前
三井化学株式会社
レーザ描画用光硬化性樹脂組成物、立体造形物、および立体造形物の製造方法
27日前
三井化学株式会社
EUVリソグラフィ用ペリクル
13日前
三井化学株式会社
固体状チタン触媒成分の製造方法およびプロピレン系ブロック共重合体の製造方法
2日前
三井化学株式会社
積層体、包装材、蓋材およびラベル
23日前
三井化学株式会社
非水電解液、非水電解液二次電池、非水電解液二次電池用負極、非水電解液二次電池用正極、及び複素環式芳香族化合物
27日前
三井化学株式会社
二次電池電極用結着材組成物、二次電池負極形成用組成物、リチウムイオン二次電池用負極、及びリチウムイオン二次電池
27日前
個人
メジャー文具
1か月前
日本精機株式会社
検出装置
1日前
個人
採尿及び採便具
7日前
続きを見る
他の特許を見る