TOP
|
特許
|
意匠
|
商標
特許ウォッチ
Twitter
他の特許を見る
10個以上の画像は省略されています。
公開番号
2025149828
公報種別
公開特許公報(A)
公開日
2025-10-08
出願番号
2024194579
出願日
2024-11-06
発明の名称
端末、無線通信方法及び基地局
出願人
株式会社NTTドコモ
代理人
インフォート弁理士法人
主分類
H04W
72/0457 20230101AFI20251001BHJP(電気通信技術)
要約
【課題】通信品質/スループットを向上させること。
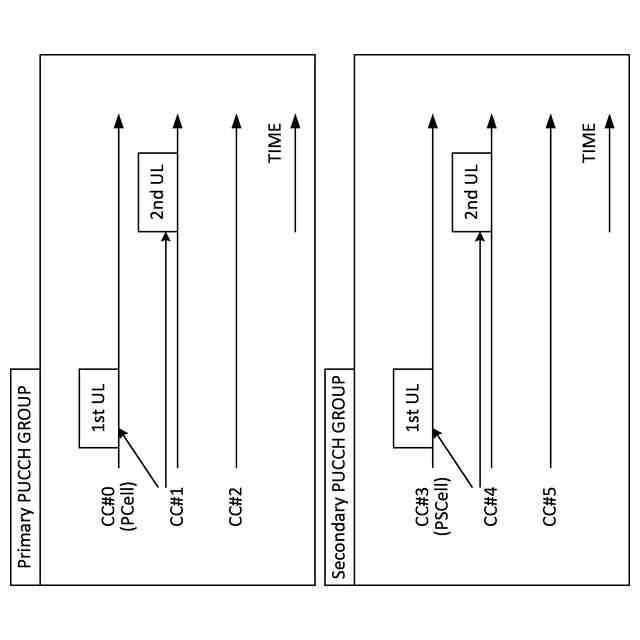
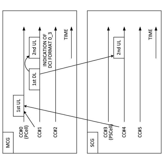
【解決手段】本開示の一態様による端末は、複数のコンポーネントキャリアに対して、端末によって開始されるビーム報告が設定される場合、前記ビーム報告に関する第1上りリンク(UL)チャネルと、前記第1ULチャネルに基づく前記ビーム報告に関する第2ULチャネルと、の少なくとも一方が送信される特定のコンポーネントキャリア及び特定のセルグループを決定する制御部と、前記特定のコンポーネントキャリア及び前記特定のセルグループを用いて前記第1ULチャネル及び前記第2ULチャネルの少なくとも一方を送信する送信部と、を有する。
【選択図】図2
特許請求の範囲
【請求項1】
複数のコンポーネントキャリアに対して、端末によって開始されるビーム報告が設定される場合、前記ビーム報告に関する第1上りリンク(UL)チャネルと、前記第1ULチャネルに基づく前記ビーム報告に関する第2ULチャネルと、の少なくとも一方が送信される特定のコンポーネントキャリア及び特定のセルグループを決定する制御部と、
前記特定のコンポーネントキャリア及び前記特定のセルグループを用いて前記第1ULチャネル及び前記第2ULチャネルの少なくとも一方を送信する送信部と、を有する端末。
続きを表示(約 910 文字)
【請求項2】
前記制御部は、前記特定のコンポーネントキャリア及び前記特定のセルグループを用いて、前記第1ULチャネルに基づき、かつ、前記第2ULチャネルをスケジュールする下りリンク信号を受信するよう制御する、請求項1に記載の端末。
【請求項3】
前記第1ULチャネルと前記第2ULチャネルとが送信されるセルグループが同じであることのみがサポートされる場合、前記制御部は、特定の方法を用いて前記特定のコンポーネントキャリア及び前記特定のセルグループを決定する、請求項1に記載の端末。
【請求項4】
前記第1ULチャネルと前記第2ULチャネルとが送信されるセルグループが異なることがサポートされる場合、前記制御部は、特定の方法を用いて前記特定のコンポーネントキャリア及び前記特定のセルグループを決定する、請求項1に記載の端末。
【請求項5】
複数のコンポーネントキャリアに対して、端末によって開始されるビーム報告が設定される場合、前記ビーム報告に関する第1上りリンク(UL)チャネルと、前記第1ULチャネルに基づく前記ビーム報告に関する第2ULチャネルと、の少なくとも一方が送信される特定のコンポーネントキャリア及び特定のセルグループを決定するステップと、
前記特定のコンポーネントキャリア及び前記特定のセルグループを用いて前記第1ULチャネル及び前記第2ULチャネルの少なくとも一方を送信するステップと、を有する端末の無線通信方法。
【請求項6】
複数のコンポーネントキャリアに対して、端末によって開始されるビーム報告が設定される場合、前記ビーム報告に関する第1上りリンク(UL)チャネルと、前記第1ULチャネルに基づく前記ビーム報告に関する第2ULチャネルと、の少なくとも一方が送信される特定のコンポーネントキャリア及び特定のセルグループを決定する制御部と、
前記特定のコンポーネントキャリア及び前記特定のセルグループを用いて前記第1ULチャネル及び前記第2ULチャネルの少なくとも一方を受信する受信部と、を有する基地局。
発明の詳細な説明
【技術分野】
【0001】
本開示は、次世代移動通信システムにおける端末、無線通信方法及び基地局に関する。
続きを表示(約 1,600 文字)
【背景技術】
【0002】
Universal Mobile Telecommunications System(UMTS)ネットワークにおいて、更なる高速データレート、低遅延などを目的としてLong Term Evolution(LTE)が仕様化された(非特許文献1)。また、LTE(Third Generation Partnership Project(3GPP(登録商標)) Release(Rel.)8、9)の更なる大容量、高度化などを目的として、LTE-Advanced(3GPP Rel.10-14)が仕様化された。
【0003】
LTEの後継システム(例えば、5th generation mobile communication system(5G)、5G+(plus)、6th generation mobile communication system(6G)、New Radio(NR)、3GPP Rel.15以降などともいう)も検討されている。
【先行技術文献】
【非特許文献】
【0004】
3GPP TS 36.300 V8.12.0 “Evolved Universal Terrestrial Radio Access (E-UTRA) and Evolved Universal Terrestrial Radio Access Network (E-UTRAN); Overall description; Stage 2 (Release 8)”、2010年4月
【発明の概要】
【発明が解決しようとする課題】
【0005】
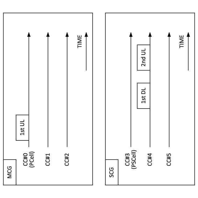
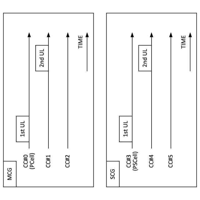
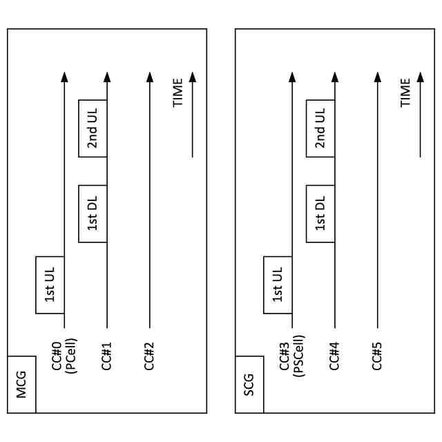
将来の無線通信システム(例えば、NR、Rel.19以降)において、端末(ユーザ端末(user terminal)、User Equipment(UE))によって開始される(イベントに基づく(イベントベースド))ビーム報告(又は、イベントトリガードビーム報告/UE-initiated Beam Report(UEIBR)と呼ばれてもよい)がサポートされることが検討されている。
【0006】
このようなビーム報告は、Rel.19以降のMIMO/モビリティにおいてサポートされることが検討されている。
【0007】
しかしながら、このようなビーム報告について検討が十分でないケースがある。この検討が十分でない場合、より低遅延の通信を実現することができず、通信品質/スループットの向上の抑制を招くおそれがある。
【0008】
そこで、本開示は、通信品質/スループットを向上させることができる端末、無線通信方法及び基地局を提供することを目的の1つとする。
【課題を解決するための手段】
【0009】
本開示の一態様による端末は、複数のコンポーネントキャリアに対して、端末によって開始されるビーム報告が設定される場合、前記ビーム報告に関する第1上りリンク(UL)チャネルと、前記第1ULチャネルに基づく前記ビーム報告に関する第2ULチャネルと、の少なくとも一方が送信される特定のコンポーネントキャリア及び特定のセルグループを決定する制御部と、前記特定のコンポーネントキャリア及び前記特定のセルグループを用いて前記第1ULチャネル及び前記第2ULチャネルの少なくとも一方を送信する送信部と、を有する。
【発明の効果】
【0010】
本開示の一態様によれば、通信品質/スループットを向上させることができる。
【図面の簡単な説明】
(【0011】以降は省略されています)
この特許をJ-PlatPat(特許庁公式サイト)で参照する
関連特許
株式会社NTTドコモ
リニアライザ
5日前
株式会社NTTドコモ
情報処理装置
4日前
株式会社NTTドコモ
無線通信システム
2日前
株式会社NTTドコモ
制御装置及び制御方法
2日前
株式会社NTTドコモ
端末及び無線通信方法
4日前
株式会社NTTドコモ
端末及び無線通信方法
4日前
株式会社NTTドコモ
端末及び無線通信方法
4日前
株式会社NTTドコモ
端末及び無線通信方法
4日前
株式会社NTTドコモ
通信装置及び通信方法
9日前
株式会社NTTドコモ
基地局及び無線通信方法
4日前
株式会社NTTドコモ
基地局及び無線通信方法
4日前
株式会社NTTドコモ
基地局及び無線通信方法
4日前
株式会社NTTドコモ
通信装置及び無線通信方法
4日前
株式会社NTTドコモ
端末、無線通信方法及び装置
4日前
株式会社NTTドコモ
端末、無線通信方法及び基地局
4日前
株式会社NTTドコモ
端末、無線通信方法及び基地局
4日前
株式会社NTTドコモ
情報処理装置及び情報処理方法
3日前
株式会社NTTドコモ
情報処理装置及び情報処理方法
3日前
株式会社NTTドコモ
端末、無線通信方法及び基地局
4日前
株式会社NTTドコモ
端末、無線通信方法及び基地局
4日前
株式会社NTTドコモ
端末、無線通信方法及び基地局
4日前
株式会社NTTドコモ
端末、無線通信方法及び基地局
4日前
株式会社NTTドコモ
端末、無線通信方法及び基地局
4日前
株式会社NTTドコモ
端末、無線通信方法及び基地局
4日前
株式会社NTTドコモ
端末、無線通信方法及び基地局
4日前
株式会社NTTドコモ
端末、無線通信方法及び基地局
4日前
株式会社NTTドコモ
端末、無線通信方法及び基地局
4日前
株式会社NTTドコモ
端末、無線通信方法及び基地局
4日前
株式会社NTTドコモ
端末、無線通信方法及び基地局
4日前
株式会社NTTドコモ
端末、無線通信方法及び基地局
4日前
株式会社NTTドコモ
端末、無線通信方法及び基地局
4日前
株式会社NTTドコモ
端末、無線通信方法及び基地局
4日前
株式会社NTTドコモ
端末、無線通信方法及び基地局
4日前
株式会社NTTドコモ
端末、無線通信方法及び基地局
4日前
株式会社NTTドコモ
端末、無線通信方法及び基地局
4日前
株式会社NTTドコモ
端末、無線通信方法及び基地局
4日前
続きを見る
他の特許を見る