TOP
|
特許
|
意匠
|
商標
特許ウォッチ
Twitter
他の特許を見る
公開番号
2025149819
公報種別
公開特許公報(A)
公開日
2025-10-08
出願番号
2024191871
出願日
2024-10-31
発明の名称
端末、無線通信方法及び基地局
出願人
株式会社NTTドコモ
代理人
インフォート弁理士法人
主分類
H04W
24/10 20090101AFI20251001BHJP(電気通信技術)
要約
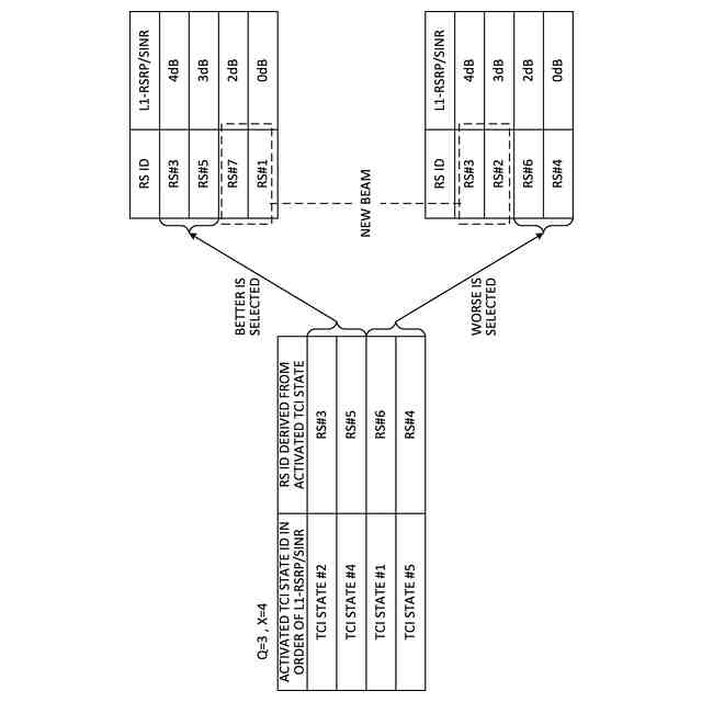
【課題】通信品質/スループットを向上させる端末、無線通信方法及び基地局を提供する。
【解決手段】移動通信システムにおいて、端末は、端末によって開始されるビーム報告に係る特定のイベントの条件を満たすか否かの判断に用いられる基準ビームのアクティブTransmission Configuration Indication(TCI)状態よりも、良い又は悪い品質の現在のアクティブTCI状態から導出される参照信号の報告を、ビーム報告に含めるよう制御する制御部と、ビーム報告を送信する送信部と、を有する。
【選択図】図6
特許請求の範囲
【請求項1】
端末によって開始されるビーム報告に係る特定のイベントの条件を満たすか否かの判断に用いられる基準ビームのアクティブTransmission Configuration Indication(TCI)状態よりも、良い又は悪い品質の現在のアクティブTCI状態から導出される参照信号の報告を、前記ビーム報告に含めるよう制御する制御部と、
前記ビーム報告を送信する送信部と、を有する端末。
続きを表示(約 700 文字)
【請求項2】
前記制御部は、前記ビーム報告に、前記アクティブTCI状態から導出される全ての参照信号の報告を含めるよう制御する、請求項1に記載の端末。
【請求項3】
設定されるTCI状態から導出される全ての参照信号は、新規ビーム向けのチャネル状態情報リソース設定において設定される、請求項1に記載の端末。
【請求項4】
前記制御部は、ネットワークからの指示なしに、前記ビーム報告に含まれる前記アクティブTCI状態に基づいて、TCI状態のアクティベート及びディアクティベートを制御する、請求項1に記載の端末。
【請求項5】
端末によって開始されるビーム報告に係る特定のイベントの条件を満たすか否かの判断に用いられる基準ビームのアクティブTransmission Configuration Indication(TCI)状態よりも、良い又は悪い品質の現在のアクティブTCI状態から導出される参照信号の報告を、前記ビーム報告に含めるよう制御するステップと、
前記ビーム報告を送信するステップと、を有する端末の無線通信方法。
【請求項6】
端末によって開始されるビーム報告に係る特定のイベントの条件を満たすか否かの判断に用いられる基準ビームのアクティブTransmission Configuration Indication(TCI)状態よりも、良い又は悪い品質の現在のアクティブTCI状態から導出される参照信号の報告を、前記ビーム報告に含めるよう指示する制御部と、
前記ビーム報告を受信する受信部と、を有する基地局。
発明の詳細な説明
【技術分野】
【0001】
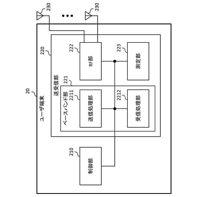
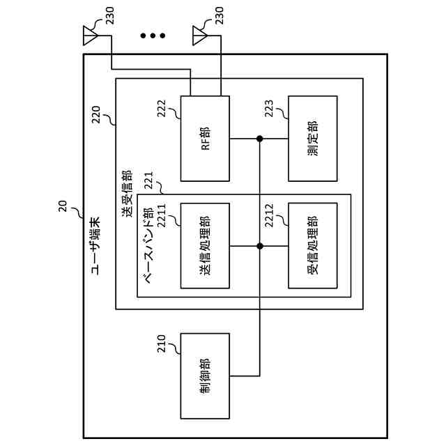
本開示は、次世代移動通信システムにおける端末、無線通信方法及び基地局に関する。
続きを表示(約 1,500 文字)
【背景技術】
【0002】
Universal Mobile Telecommunications System(UMTS)ネットワークにおいて、更なる高速データレート、低遅延などを目的としてLong Term Evolution(LTE)が仕様化された(非特許文献1)。また、LTE(Third Generation Partnership Project(3GPP(登録商標)) Release(Rel.)8、9)の更なる大容量、高度化などを目的として、LTE-Advanced(3GPP Rel.10-14)が仕様化された。
【0003】
LTEの後継システム(例えば、5th generation mobile communication system(5G)、5G+(plus)、6th generation mobile communication system(6G)、New Radio(NR)、3GPP Rel.15以降などともいう)も検討されている。
【先行技術文献】
【非特許文献】
【0004】
3GPP TS 36.300 V8.12.0 “Evolved Universal Terrestrial Radio Access (E-UTRA) and Evolved Universal Terrestrial Radio Access Network (E-UTRAN); Overall description; Stage 2 (Release 8)”、2010年4月
【発明の概要】
【発明が解決しようとする課題】
【0005】
将来の無線通信システム(例えば、NR、Rel.19以降)において、端末(ユーザ端末(user terminal)、User Equipment(UE))によって開始される(イベントに基づく(イベントベースド))ビーム報告(又は、イベントトリガードビーム報告/UE-initiated Beam Report(UEIBR)と呼ばれてもよい)がサポートされることが検討されている。
【0006】
このようなビーム報告は、Rel.19以降のMIMO/モビリティにおいてサポートされることが検討されている。
【0007】
しかしながら、このようなビーム報告について検討が十分でないケースがある。この検討が十分でない場合、より低遅延の通信を実現することができず、通信品質/スループットの向上の抑制を招くおそれがある。
【0008】
そこで、本開示は、通信品質/スループットを向上させることができる端末、無線通信方法及び基地局を提供することを目的の1つとする。
【課題を解決するための手段】
【0009】
本開示の一態様による端末は、端末によって開始されるビーム報告に係る特定のイベントの条件を満たすか否かの判断に用いられる基準ビームのアクティブTransmission Configuration Indication(TCI)状態よりも、良い又は悪い品質の現在のアクティブTCI状態から導出される参照信号の報告を、前記ビーム報告に含めるよう制御する制御部と、前記ビーム報告を送信する送信部と、を有する。
【発明の効果】
【0010】
本開示の一態様によれば、通信品質/スループットを向上させることができる。
【図面の簡単な説明】
(【0011】以降は省略されています)
この特許をJ-PlatPat(特許庁公式サイト)で参照する
関連特許
株式会社NTTドコモ
端末
今日
株式会社NTTドコモ
端末
今日
株式会社NTTドコモ
端末
今日
株式会社NTTドコモ
端末
今日
株式会社NTTドコモ
デバイス
今日
株式会社NTTドコモ
デバイス
今日
株式会社NTTドコモ
デバイス
今日
株式会社NTTドコモ
デバイス
今日
株式会社NTTドコモ
端末及び方法
1か月前
株式会社NTTドコモ
情報処理装置
6日前
株式会社NTTドコモ
リニアライザ
7日前
株式会社NTTドコモ
装置および方法
12日前
株式会社NTTドコモ
端末及び通信方法
今日
株式会社NTTドコモ
端末及び通信方法
今日
株式会社NTTドコモ
端末及び通信方法
今日
株式会社NTTドコモ
端末及び通信方法
今日
株式会社NTTドコモ
端末及び通信方法
今日
株式会社NTTドコモ
端末及び通信方法
今日
株式会社NTTドコモ
端末及び通信方法
今日
株式会社NTTドコモ
端末及び通信方法
今日
株式会社NTTドコモ
端末及び通信方法
今日
株式会社NTTドコモ
端末及び通信方法
今日
株式会社NTTドコモ
端末及び通信方法
今日
株式会社NTTドコモ
端末及び通信方法
今日
株式会社NTTドコモ
端末及び通信方法
今日
株式会社NTTドコモ
端末及び通信方法
今日
株式会社NTTドコモ
端末及び通信方法
今日
株式会社NTTドコモ
端末及び通信方法
今日
株式会社NTTドコモ
端末及び通信方法
今日
株式会社NTTドコモ
端末及び通信方法
今日
株式会社NTTドコモ
端末及び通信方法
今日
株式会社NTTドコモ
端末及び通信方法
今日
株式会社NTTドコモ
端末及び通信方法
今日
株式会社NTTドコモ
端末及び通信方法
今日
株式会社NTTドコモ
端末及び通信方法
今日
株式会社NTTドコモ
端末及び通信方法
今日
続きを見る
他の特許を見る