TOP
|
特許
|
意匠
|
商標
特許ウォッチ
Twitter
他の特許を見る
10個以上の画像は省略されています。
公開番号
2025150908
公報種別
公開特許公報(A)
公開日
2025-10-09
出願番号
2024052069
出願日
2024-03-27
発明の名称
情報処理装置及び情報処理方法
出願人
株式会社NTTドコモ
代理人
個人
,
個人
,
個人
,
個人
主分類
H04M
3/42 20060101AFI20251002BHJP(電気通信技術)
要約
【課題】受信者におけるストレスを軽減すると共に、発信者における利用の躊躇を軽減できるコミュニケーション手段を提供する。
【解決手段】情報処理装置10は、複数のユーザの端末における少なくとも声かけ音声の受信の可否を示す状態情報を各端末から受信し、受信した状態情報を管理するユーザ状態管理部11であって、声かけ音声は送信側のユーザの発話音声を含む送信側から受信側への一方向の通信による音声データである、ユーザ状態管理部11と、複数のユーザの端末のうちの第1の端末から第2の端末を宛先とする声かけ音声を受信する受信部12と、第2の端末の状態情報に応じた声かけ音声に関する声かけ音声情報を第2の端末に伝達する声かけ音声管理部13と、第2の端末において複数の応答方法から選択された応答方法に従った応答情報に基づいて、第1の端末に対する応答処理を実施する、応答処理部14と、を備える。
【選択図】図1
特許請求の範囲
【請求項1】
複数のユーザの端末における少なくとも声かけ音声の受信の可否を示す状態情報を各端末から受信し、受信した状態情報を管理するユーザ状態管理部であって、前記声かけ音声は送信側のユーザの発話音声を含む送信側から受信側への一方向の通信による音声データである、ユーザ状態管理部と、
前記複数のユーザの端末のうちの第1の端末から第2の端末を宛先とする前記声かけ音声を受信する受信部と、
前記第2の端末の前記状態情報に応じた前記声かけ音声に関する声かけ音声情報を前記第2の端末に伝達する声かけ音声管理部と、
前記第2の端末において複数の応答方法から選択された応答方法に従った応答情報に基づいて、前記第1の端末に対する応答処理を実施する、応答処理部と、
を備える情報処理装置。
続きを表示(約 1,500 文字)
【請求項2】
前記ユーザ状態管理部は、各端末の前記状態情報を各端末において提示させ、
前記受信部は、前記状態情報において前記声かけ音声の受信可であることが示されている前記第2の端末を宛先とする前記声かけ音声を受信し、
前記声かけ音声管理部は、前記声かけ音声を前記第2の端末に再生させる、
請求項1に記載の情報処理装置。
【請求項3】
前記ユーザ状態管理部は、各端末の前記状態情報を記憶し、
前記声かけ音声管理部は、前記第2の端末の状態情報に基づく異なる伝達方法により、前記声かけ音声情報を前記第2の端末に伝達する、
請求項1に記載の情報処理装置。
【請求項4】
前記声かけ音声管理部は、前記第2の端末の状態情報が前記声かけ音声の受信可であることを示す場合に、前記声かけ音声を前記第2の端末に送信する、
請求項3に記載の情報処理装置。
【請求項5】
前記声かけ音声管理部は、前記第2の端末の前記状態情報が前記声かけ音声の受信不可であることを示す場合に、
前記声かけ音声に相当するテキストを前記第2の端末に送信する処理、
前記第1の端末から声かけ音声が送信された旨の通知を前記第2の端末に送信する処理、
前記第2の端末の前記状態情報が前記声かけ音声の受信可に変更されたときに前記声かけ音声を前記第2の端末に送信する処理、及び、
前記声かけ音声を伝達しない処理、
の少なくとも一つの処理を実施する、
請求項3に記載の情報処理装置。
【請求項6】
前記応答処理部は、前記第2の端末において前記声かけ音声による応答方法が選択されたことに応じて、前記第2の端末から受信した前記声かけ音声を前記第1の端末に送信する、
請求項1に記載の情報処理装置。
【請求項7】
前記応答処理部は、前記第2の端末において音声通話による応答方法が選択されたことに応じて、前記第2の端末と前記第1の端末との間の音声通話を制御する、
請求項1に記載の情報処理装置。
【請求項8】
前記声かけ音声管理部は、前記応答処理部により前記第2の端末からの前記応答情報が取得されなかった場合に、前記声かけ音声に相当するテキストを前記第2の端末に送信し、又は、前記第1の端末から声かけ音声が送信された旨の通知を前記第2の端末に送信する、
請求項1に記載の情報処理装置。
【請求項9】
前記状態情報は、各端末においてユーザにより設定される、請求項1に記載の情報処理装置。
【請求項10】
複数のユーザの端末における少なくとも声かけ音声の受信の可否を示す状態情報を各端末から受信し、受信した状態情報を管理するユーザ状態管理ステップであって、前記声かけ音声は受信側による事前の応答を不要とする送信側から受信側への一方向の通信による音声データである、ユーザ状態管理ステップと、
前記複数のユーザの端末のうちの第1の端末から第2の端末を宛先とする前記声かけ音声を受信する受信ステップと、
前記第2の端末の前記状態情報に応じた前記声かけ音声を前記第2の端末に伝達する声かけ音声管理ステップと、
前記第2の端末において複数の応答方法から選択された応答方法に従った応答情報に基づいて、前記第1の端末に対する応答処理を実施する、応答処理ステップと、
を有する、プロセッサにより実行される情報処理方法。
発明の詳細な説明
【技術分野】
【0001】
本発明は、情報処理装置及び情報処理方法に関する。
続きを表示(約 2,000 文字)
【背景技術】
【0002】
音声コミュニケーションを行う手段として、電話等に例示されるように、発信者が受信者を呼び出し音で呼び出す音声通話手段が一般的である。通話要求を受信する受信者の状態に関係なく通話要求が受信者に通知されることによる、受信者における作業の妨げを防止する技術が知られている(例えば、下記特許文献1参照。)特許文献1に記載された技術では、受信者のプレゼンス情報を取得し、集中度合いの低下を検知した場合に、音声通話の依頼を受信者に通知し、通話可能な場合は発信者と受信者の音声通話が接続される。
【先行技術文献】
【特許文献】
【0003】
特開2023-141228号公報
【発明の概要】
【発明が解決しようとする課題】
【0004】
音声コミュニケーションを行うために受信者を呼び出し音で呼び出す場合において、突然に呼び出し音が鳴ることによる、受信者において、作業の中断及び心理的圧迫感等のストレスを招いていた。また、発信者は、受信者におけるストレス等を懸念することにより、受信者を呼び出し音で呼び出すコミュニケーション手段の利用を躊躇する場合があった。
【0005】
そこで、本開示は、受信者におけるストレスを軽減すると共に、発信者における利用の躊躇を軽減できるコミュニケーション手段を提供することを目的とする。
【課題を解決するための手段】
【0006】
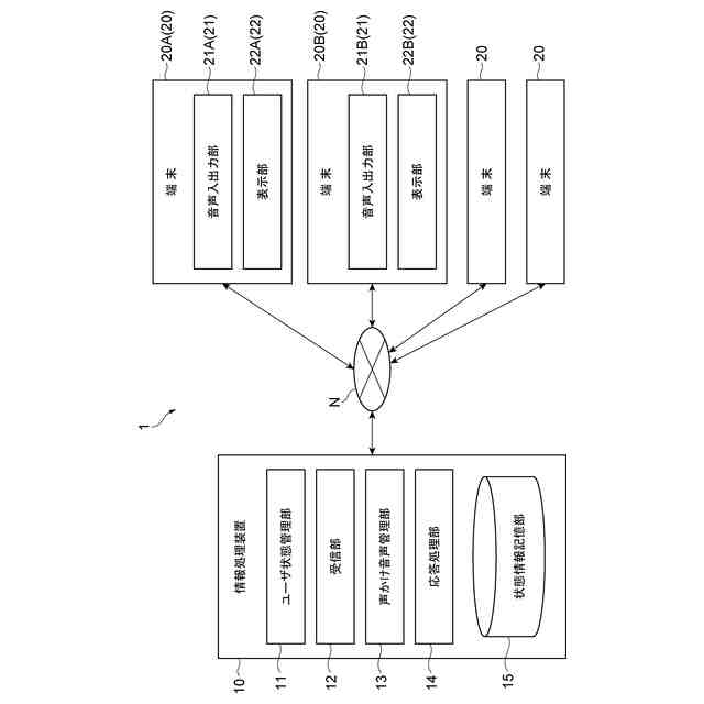
上記課題を解決するために、本開示の一側面に係る情報処理装置は、複数のユーザの端末における少なくとも声かけ音声の受信の可否を示す状態情報を各端末から受信し、受信した状態情報を管理するユーザ状態管理部であって、声かけ音声は送信側のユーザの発話音声を含む送信側から受信側への一方向の通信による音声データである、ユーザ状態管理部と、複数のユーザの端末のうちの第1の端末から第2の端末を宛先とする声かけ音声を受信する受信部と、第2の端末の状態情報に応じた声かけ音声に関する声かけ音声情報を第2の端末に伝達する声かけ音声管理部と、第2の端末において複数の応答方法から選択された応答方法に従った応答情報に基づいて、第1の端末に対する応答処理を実施する、応答処理部と、を備える。
【0007】
上記の側面によれば、送信側から受信側への一方向の通信による音声データである声かけ音声のユーザの端末における受信の可否を示す状態情報が取得及び管理され、宛先となる第2の端末の状態情報に応じた声かけ音声情報が第2の端末に伝達される。これにより、第2の端末のユーザにとって好ましくないときに声かけ音声情報が伝達されることが防止されるので、第2の端末のユーザにおけるストレスが軽減され、さらには、第1の端末のユーザにおいては、第2の端末のユーザに対するコミュニケーションを気軽に試みることができる。そして、第2の端末における選択に応じた、第1の端末に対する応答処理が実施されるので、必要に応じた好適な手段によるコミュニケーションが実現される。
【発明の効果】
【0008】
本開示によれば、受信者におけるストレスを軽減すると共に、発信者における利用の躊躇を軽減できるコミュニケーション手段を提供することが可能となる。
【図面の簡単な説明】
【0009】
本実施形態の情報処理装置を含むコミュニケーションシステムの装置構成及び情報処理装置の機能的構成を示すブロック図である。
状態情報記憶部に記憶されている状態情報の一例を示す図である。
状態情報に示される状態の種類の例を示す図である。
状態情報が提示されたユーザの端末の画面例を示す図である。
声かけ音声を送信するためのユーザインターフェースが表示されたユーザの端末(第1の端末)の画面例を示す図である。
声かけ音声に応答するためのユーザインターフェースが表示されたユーザの端末(第2の端末)の画面例を示す図である。
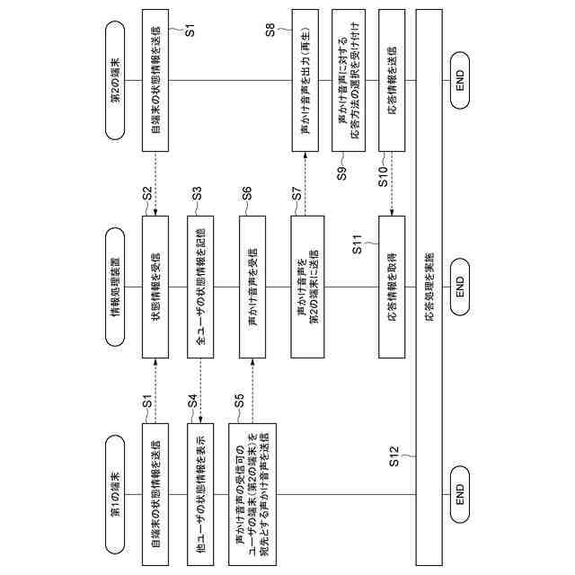
コミュニケーションシステム及び情報処理装置における情報処理方法の処理内容の例を示すフローチャートである。
コミュニケーションシステム及び情報処理装置における情報処理方法の処理内容の例を示すフローチャートである。
情報処理プログラムの構成を示す図である。
情報処理装置のハードブロック図である。
【発明を実施するための形態】
【0010】
本発明に係る情報処理装置の実施形態について図面を参照して説明する。なお、可能な場合には、同一の部分には同一の符号を付して、重複する説明を省略する。
(【0011】以降は省略されています)
この特許をJ-PlatPat(特許庁公式サイト)で参照する
関連特許
株式会社NTTドコモ
情報処理装置
4日前
株式会社NTTドコモ
リニアライザ
5日前
株式会社NTTドコモ
装置および方法
10日前
株式会社NTTドコモ
無線通信システム
9日前
株式会社NTTドコモ
無線通信システム
2日前
株式会社NTTドコモ
制御装置及び制御方法
2日前
株式会社NTTドコモ
端末及び無線通信方法
4日前
株式会社NTTドコモ
通信装置及び通信方法
9日前
株式会社NTTドコモ
端末及び無線通信方法
4日前
株式会社NTTドコモ
端末及び無線通信方法
4日前
株式会社NTTドコモ
端末及び無線通信方法
4日前
株式会社NTTドコモ
情報処理装置及び方法
25日前
株式会社NTTドコモ
装置および情報処理方法
23日前
株式会社NTTドコモ
基地局及び無線通信方法
4日前
株式会社NTTドコモ
基地局及び無線通信方法
4日前
株式会社NTTドコモ
基地局及び無線通信方法
4日前
株式会社NTTドコモ
通信装置及び無線通信方法
4日前
株式会社NTTドコモ
端末、無線通信方法及び装置
4日前
株式会社NTTドコモ
端末、無線通信方法及び基地局
4日前
株式会社NTTドコモ
端末、無線通信方法及び基地局
4日前
株式会社NTTドコモ
端末、無線通信方法及び基地局
4日前
株式会社NTTドコモ
端末、無線通信方法及び基地局
4日前
株式会社NTTドコモ
端末、無線通信方法及び基地局
4日前
株式会社NTTドコモ
端末、無線通信方法及び基地局
4日前
株式会社NTTドコモ
端末、無線通信方法及び基地局
4日前
株式会社NTTドコモ
端末、無線通信方法及び基地局
4日前
株式会社NTTドコモ
端末、無線通信方法及び基地局
4日前
株式会社NTTドコモ
端末、無線通信方法及び基地局
4日前
株式会社NTTドコモ
端末、無線通信方法及び基地局
4日前
株式会社NTTドコモ
端末、無線通信方法及び基地局
4日前
株式会社NTTドコモ
端末、無線通信方法及び基地局
4日前
株式会社NTTドコモ
端末、無線通信方法及び基地局
4日前
株式会社NTTドコモ
端末、無線通信方法及び基地局
4日前
株式会社NTTドコモ
端末、無線通信方法及び基地局
4日前
株式会社NTTドコモ
端末、無線通信方法及び基地局
4日前
株式会社NTTドコモ
端末、無線通信方法及び基地局
4日前
続きを見る
他の特許を見る