TOP
|
特許
|
意匠
|
商標
特許ウォッチ
Twitter
他の特許を見る
公開番号
2025145047
公報種別
公開特許公報(A)
公開日
2025-10-03
出願番号
2024045022
出願日
2024-03-21
発明の名称
無線通信システム
出願人
株式会社NTTドコモ
代理人
個人
,
個人
,
個人
主分類
H04B
7/10 20170101AFI20250926BHJP(電気通信技術)
要約
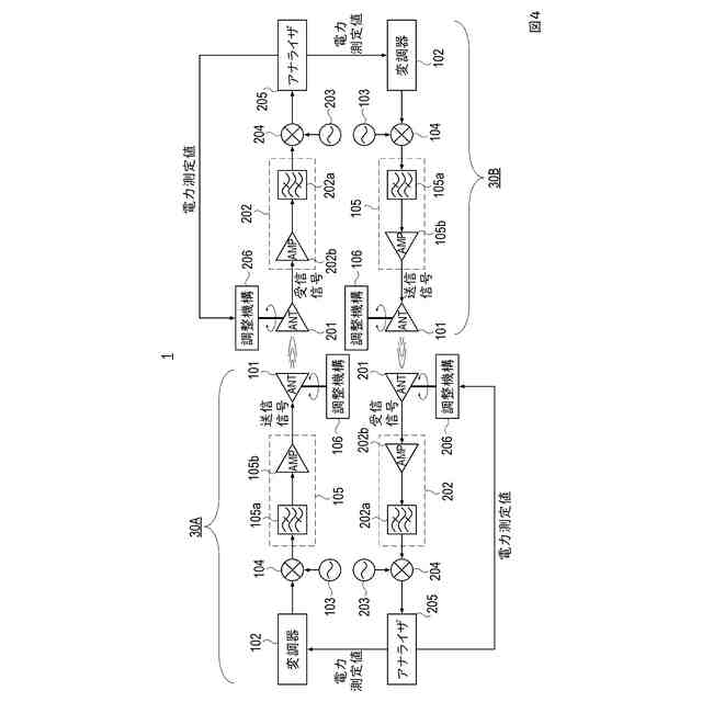
【課題】第五世代以降の移動通信システムに使用される広帯域無線信号を送受信するための無線通信システムであって、当該無線通信システムに含まれる送信装置および受信装置の間のアンテナアライメントの精度を向上させることのできる無線通信システムを提供する。
【解決手段】無線通信システム1は、第五世代以降の移動通信システムに使用される帯域幅B
N
を持つ無線信号を空間に放つ送信アンテナ101を含む送信装置10および無線信号を受け取る受信アンテナ201を含む受信装置20を含む。送信装置10は、帯域幅B
N
を周波数領域でN分割して得られるN個の分割帯域幅のうちのいずれか一つの分割帯域幅B
1
を持つ変調信号から、電力増幅された送信信号を生成する。受信装置20の調整機構206は、受信した送信信号の受信電力が最大となるように受信アンテナ201のオリエンテーションを調整する。
【選択図】図1
特許請求の範囲
【請求項1】
第五世代以降の移動通信システムに使用される予め定められた帯域幅B
N
を持つ無線信号を空間に放つ送信アンテナを含む送信装置および前記無線信号を受け取る受信アンテナを含む受信装置を含み、前記送信アンテナと前記受信アンテナのアライメントを実施できる無線通信システムであって、
前記送信装置は、
前記送信アンテナと、
前記帯域幅B
N
を周波数領域でN分割して得られるN個の分割帯域幅のうちのいずれか一つの分割帯域幅B
1
を持つ変調信号を生成する変調器と、ただし、Nは2≦Nを満たす予め定められた整数であり、
ローカル信号を生成する第1ローカル信号発生器と、
第1ローカル信号発生器からの前記ローカル信号を用いて前記変調信号の周波数を前記無線信号の周波数にアップコンバージョンする第1周波数変換器と、
前記第1周波数変換器からの出力信号の前記分割帯域幅B
1
内での総電力を増幅する第1信号処理器と
を含み、
前記受信装置は、
前記受信アンテナと、
受信信号を増幅する第2信号処理器と、
第1ローカル信号発生器からの前記ローカル信号と同じ周波数を持つローカル信号を発生する第2ローカル信号発生器と、
第2ローカル信号発生器からの前記ローカル信号を用いて前記第2信号処理器からの出力信号の周波数を前記変調信号の周波数にダウンコンバージョンする第2周波数変換器と、
前記第2周波数変換器からの出力信号の電力を測定するアナライザと、
前記受信アンテナのオリエンテーションを調整する調整機構と
を含み、
前記送信アンテナは、前記第1信号処理器からの出力信号を送信信号として空間に放ち、
前記受信アンテナは、前記送信信号を前記受信信号として受け取り、
前記受信装置の前記調整機構は、前記アナライザの測定した前記電力が最大となるように、前記受信アンテナのオリエンテーションを調整する、
無線通信システム。
続きを表示(約 610 文字)
【請求項2】
請求項1に記載の無線通信システムにおいて、
前記第1ローカル信号発生器は、時間経過に応じて互いに異なる周波数を持つM種類の前記ローカル信号を生成し、ただし、Mは2≦Mを満たす予め定められた整数であり、
前記アナライザは、前記M種類の前記ローカル信号に対応して生成されるM種類の送信信号に対応するM種類の前記受信信号のうち最大電力を持つ前記受信信号を特定し、
前記受信装置の前記調整機構は、前記特定された受信信号に対応する前記第2周波数変換器からの前記出力信号の、前記アナライザの測定した前記電力が最大となるように、前記受信アンテナのオリエンテーションを調整する、
ことを特徴とする無線通信システム。
【請求項3】
請求項1または請求項2に記載の無線通信システムにおいて、
前記受信装置は、前記アナライザの測定した前記電力を示す情報信号を前記送信装置に送信する送信器を含み、
前記送信装置は、前記受信装置から前記情報信号を受信する受信器と、前記送信アンテナのオリエンテーションを調整する調整機構を含み、
前記送信装置の前記調整機構は、前記受信装置から受信した前記情報信号が表す、前記アナライザの測定した前記電力が最大となるように、前記送信アンテナのオリエンテーションを調整する
ことを特徴とする無線通信システム。
発明の詳細な説明
【技術分野】
【0001】
本開示は、広帯域無線信号を送受信するための無線通信システムに含まれる送信装置および受信装置の間のアンテナアライメントの精度を向上させる技術に関する。
続きを表示(約 2,600 文字)
【背景技術】
【0002】
高速無線通信(例えば100Gbpsを超える通信速度)の実現に向けて、「ミリ波」、「サブテラヘルツ波」、「テラヘルツ波」などの高周波数帯で広い帯域幅を持つ無線信号を送受信する技術の開発が進められている。国際電気通信連合(International Telecommunication Union)が定める無線通信規格IMT-2020(International Mobile Telecommunications-2020)に係る第五世代移動通信システム NR(New Radio)では、Frequency Range 2において、24.250GHz-52.600GHzの高周波数帯で50-2000MHzの帯域幅を持つ無線信号が使用される。2030年頃に市場導入が想定される第六世代移動通信システムでは、移動通信システムに積極的に使用されてこなかった90GHzを超える高周波数帯を利用することによって、無線通信の帯域幅をさらに広くすること(例えば、数GHz~十数GHz程度)が検討されている。第五世代移動通信システムおよび第六世代移動通信システムについて例えば非特許文献1を例示できる。
【先行技術文献】
【非特許文献】
【0003】
株式会社NTTドコモ、"ドコモ6Gホワイトペーパー5.0版"、2022年11月
【発明の概要】
【発明が解決しようとする課題】
【0004】
フリスの伝達公式によると、送信アンテナから離れた地点に設けられた受信アンテナにおける電磁波の受信電力は周波数の二乗に反比例する。このような伝搬ロスを考慮して、高周波数帯における無線通信のために高指向性アンテナが利用される。高指向性アンテナのビーム幅は狭いので、送信アンテナと受信アンテナのアンテナアライメントが必要とされる。アンテナアライメントは、例えば、受信電力が最大となるように、送信アンテナおよび/または受信アンテナを方位角方向と仰角方向のそれぞれにおいて回転させることによって行われる。
【0005】
狭帯域信号と広帯域信号のそれぞれの送信電力が同じである場合、前者よりも後者の受信信号において帯域内雑音電力が大きくなり、受信信号対雑音比(受信SNR)が劣化する。第五世代移動通信システム NRにおいてはもちろんのこと、特に、既存技術において使用される帯域幅よりもはるかに広い帯域幅の使用を検討している第六世代移動通信システムにおいては、受信信号対雑音比の著しい劣化が予想される。したがって、広帯域信号の受信電力は雑音の影響を受けて安定せず、正確な受信電力を測定できない。このことから、アンテナアライメントの調整精度が低下する。
【0006】
したがって、第五世代以降の移動通信システムに使用される広帯域無線信号を送受信するための無線通信システムであって、当該無線通信システムに含まれる送信装置および受信装置の間のアンテナアライメントの精度を向上させることのできる無線通信システムを開示する。
【課題を解決するための手段】
【0007】
ここで述べる技術事項は、特許請求の範囲に記載された発明を明示的にまたは黙示的に限定するためではなく、さらに、本発明によって利益を受ける者(例えば出願人と権利者である)以外の者が特許請求の範囲に記載された発明を限定できるようにするためでもなく、単に、本発明の要点を容易に理解するために提供される。他の観点からの本発明の概要は、例えば、この特許出願の出願時の特許請求の範囲から理解できる。
本開示の無線通信システムは、第五世代以降の移動通信システムに使用される予め定められた帯域幅B
N
を持つ無線信号を空間に放つ送信アンテナを含む送信装置および無線信号を受け取る受信アンテナを含む受信装置を含む。送信装置は、帯域幅B
N
を周波数領域でN分割して得られるN個の分割帯域幅のうちのいずれか一つの分割帯域幅B
1
を持つ変調信号から、電力増幅された送信信号を生成する。受信装置は、受信した送信信号の受信電力が最大となるように受信アンテナのオリエンテーションを調整する。
【発明の効果】
【0008】
本開示の無線通信システムは第五世代以降の移動通信システムであるが、アンテナアラインメントの実施において電力密度の高い送信信号を用いるので、送信装置および受信装置の間のアンテナアライメントの精度が向上する。
【図面の簡単な説明】
【0009】
第1実施形態の無線通信システムの構成。
帯域幅の分割とその一部の電力増幅を説明するための図。(a)第五世代以降の移動通信システムに使用される帯域幅B
N
と電力の関係を示す模式図。(b)帯域幅B
N
の分割を示す模式図。(c)分割帯域幅B
1
の電力増幅を示す模式図。
第1実施形態の変形例1の無線通信システムの構成。
第1実施形態の変形例2の無線通信システムの構成。
第1実施形態の変形例3の無線通信システムの構成。
中心周波数が互いに異なる複数の送信信号を説明するための図。(a)中心周波数が互いに異なる複数の送信信号のそれぞれの帯域幅と電力の関係を示す模式図。(b)中心周波数が互いに異なる複数の送信信号に対応する複数の受信信号の、中心周波数と帯域幅と電力の関係を示す模式図。
【発明を実施するための形態】
【0010】
図面を参照しながら本開示の無線通信システムの実施形態を説明する。以下、特に断りの無い限り、Nは2以上の予め定められた整数であり、Mは2以上の予め定められた整数である。また、実施形態の要点を明らかにする観点から、実際には必要である或いは必要になりうるものの実施形態においては非本質的であると考えられる構成要素(電源装置、中間増幅器など)の図示およびその説明を省略する。各図では、煩雑さを避けるため、一部の構成要素の符号等を省略している場合がある。
(【0011】以降は省略されています)
この特許をJ-PlatPat(特許庁公式サイト)で参照する
関連特許
株式会社NTTドコモ
端末
今日
株式会社NTTドコモ
端末
今日
株式会社NTTドコモ
端末及び通信方法
今日
株式会社NTTドコモ
端末及び通信方法
今日
株式会社NTTドコモ
端末及び通信方法
今日
株式会社NTTドコモ
端末及び通信方法
今日
株式会社NTTドコモ
端末及び通信方法
今日
株式会社NTTドコモ
端末及び通信方法
今日
株式会社NTTドコモ
端末及び通信方法
今日
株式会社NTTドコモ
端末及び通信方法
今日
株式会社NTTドコモ
端末及び通信方法
今日
株式会社NTTドコモ
端末及び通信方法
今日
株式会社NTTドコモ
端末及び通信方法
今日
株式会社NTTドコモ
端末及び通信方法
今日
株式会社NTTドコモ
デバイス及び通信方法
今日
株式会社NTTドコモ
通信装置及び通信方法
今日
株式会社NTTドコモ
端末、無線通信方法及び基地局
今日
株式会社NTTドコモ
端末、無線通信方法及び基地局
今日
株式会社NTTドコモ
端末、無線通信方法及び基地局
今日
株式会社NTTドコモ
端末、無線通信方法及び基地局
今日
株式会社NTTドコモ
端末、無線通信方法及び基地局
今日
株式会社NTTドコモ
端末、無線通信方法及び基地局
今日
株式会社NTTドコモ
端末、無線通信方法及び基地局
今日
株式会社NTTドコモ
中央ユニット、通信方法及び分散ユニット
今日
個人
店内配信予約システム
3か月前
キーコム株式会社
光伝送線路
今日
サクサ株式会社
中継装置
5日前
サクサ株式会社
中継装置
6日前
WHISMR合同会社
収音装置
1か月前
サクサ株式会社
中継装置
3か月前
アイホン株式会社
電気機器
27日前
キヤノン株式会社
電子機器
2か月前
キヤノン株式会社
撮像装置
1か月前
サクサ株式会社
無線通信装置
5日前
サクサ株式会社
無線システム
4日前
サクサ株式会社
無線通信装置
5日前
続きを見る
他の特許を見る