TOP
|
特許
|
意匠
|
商標
特許ウォッチ
Twitter
他の特許を見る
10個以上の画像は省略されています。
公開番号
2025156312
公報種別
公開特許公報(A)
公開日
2025-10-14
出願番号
2025078703
出願日
2025-05-09
発明の名称
端末、無線通信方法及び基地局
出願人
株式会社NTTドコモ
代理人
インフォート弁理士法人
主分類
H04W
24/10 20090101AFI20251002BHJP(電気通信技術)
要約
【課題】通信品質/スループットを向上させること。
【解決手段】本開示の一態様に係る端末は、端末によって開始されるビーム報告の設定を受信する受信部と、前記ビーム報告をトリガする物理上りリンク制御チャネル(PUCCH)と、前記ビーム報告を搬送する物理上りリンク共有チャネル(PUSCH)と、前記ビーム報告の測定のための1つ以上のチャネル測定リソースの内の1つのチャネル測定リソースと、前記ビーム報告のためのシグナリングと、の少なくとも1つに基づいて、前記ビーム報告のためのchannel state information(CSI)処理ユニットの占有の時間期間を決定する制御部と、を有する。
【選択図】図8
特許請求の範囲
【請求項1】
端末によって開始されるビーム報告の設定を受信する受信部と、
前記ビーム報告をトリガする物理上りリンク制御チャネル(PUCCH)と、前記ビーム報告を搬送する物理上りリンク共有チャネル(PUSCH)と、前記ビーム報告の測定のための1つ以上のチャネル測定リソースの内の1つのチャネル測定リソースと、前記ビーム報告のためのシグナリングと、の少なくとも1つに基づいて、前記ビーム報告のためのchannel state information(CSI)処理ユニットの占有の時間期間を決定する制御部と、を有する端末。
続きを表示(約 770 文字)
【請求項2】
前記時間期間は、前記ビーム報告のトリガリングの前の時間を含まない、請求項1に記載の端末。
【請求項3】
前記時間期間は、前記ビーム報告のトリガリングの前の時間を含む、請求項1に記載の端末。
【請求項4】
前記制御部は、前記ビーム報告を用いないことを設定されるまで、又は、前記ビーム報告を送信するまで、前記ビーム報告のためのイベントの評価を行う、請求項1に記載の端末。
【請求項5】
端末によって開始されるビーム報告の設定を受信するステップと、
前記ビーム報告をトリガする物理上りリンク制御チャネル(PUCCH)と、前記ビーム報告を搬送する物理上りリンク共有チャネル(PUSCH)と、前記ビーム報告の測定のための1つ以上のチャネル測定リソースの内の1つのチャネル測定リソースと、前記ビーム報告のためのシグナリングと、の少なくとも1つに基づいて、前記ビーム報告のためのchannel state information(CSI)処理ユニットの占有の時間期間を決定するステップと、を有する、端末の無線通信方法。
【請求項6】
端末によって開始されるビーム報告の設定を送信する送信部と、
前記ビーム報告をトリガする物理上りリンク制御チャネル(PUCCH)と、前記ビーム報告を搬送する物理上りリンク共有チャネル(PUSCH)と、前記ビーム報告の測定のための1つ以上のチャネル測定リソースの内の1つのチャネル測定リソースと、前記ビーム報告のためのシグナリングと、の少なくとも1つに基づいて、前記ビーム報告のためのchannel state information(CSI)処理ユニットの占有の時間期間を決定する制御部と、を有する基地局。
発明の詳細な説明
【技術分野】
【0001】
本開示は、次世代移動通信システムにおける端末、無線通信方法及び基地局に関する。
続きを表示(約 2,200 文字)
【背景技術】
【0002】
Universal Mobile Telecommunications System(UMTS)ネットワークにおいて、更なる高速データレート、低遅延などを目的としてLong Term Evolution(LTE)が仕様化された(非特許文献1)。また、LTE(Third Generation Partnership Project(3GPP(登録商標)) Release(Rel.)8、9)の更なる大容量、高度化などを目的として、LTE-Advanced(3GPP Rel.10-14)が仕様化された。
【0003】
LTEの後継システム(例えば、5th generation mobile communication system(5G)、5G+(plus)、6th generation mobile communication system(6G)、New Radio(NR)、3GPP Rel.15以降などともいう)も検討されている。
【先行技術文献】
【非特許文献】
【0004】
3GPP TS 36.300 V8.12.0 “Evolved Universal Terrestrial Radio Access (E-UTRA) and Evolved Universal Terrestrial Radio Access Network (E-UTRAN); Overall description; Stage 2 (Release 8)”、2010年4月
【発明の概要】
【発明が解決しようとする課題】
【0005】
既存の無線通信システム(例えば、NR)において、端末(ユーザ端末(user terminal)、User Equipment(UE))がネットワーク(NW、基地局)へチャネル状態情報(CSI)を報告することによって、NWは、適切な変調及び符号化を下りリンク(DL)データに適用できる。
【0006】
しかしながら、端末によって開始されるビーム報告(UEIBR)のためのCSI処理ユニット(CPU)の占有時間期間が十分に検討されていない。この検討が十分でない場合、通信性能/スループットの低下を招くおそれがある。
【0007】
そこで、本開示は、通信性能/スループットを向上させることができる端末、無線通信方法及び基地局を提供することを目的の1つとする。
【課題を解決するための手段】
【0008】
本開示の一態様に係る端末は、端末によって開始されるビーム報告の設定を受信する受信部と、前記ビーム報告をトリガする物理上りリンク制御チャネル(PUCCH)と、前記ビーム報告を搬送する物理上りリンク共有チャネル(PUSCH)と、前記ビーム報告の測定のための1つ以上のチャネル測定リソースの内の1つのチャネル測定リソースと、前記ビーム報告のためのシグナリングと、の少なくとも1つに基づいて、前記ビーム報告のためのchannel state information(CSI)処理ユニットの占有の時間期間を決定する制御部と、を有する。
【発明の効果】
【0009】
本開示の一態様によれば、通信品質/スループットを向上させることができる。
【図面の簡単な説明】
【0010】
図1は、CPU占有時間期間の一例を示す。
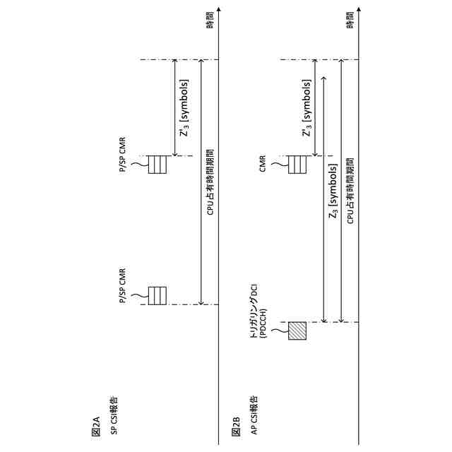
図2A及び2Bは、CPU占有時間期間の別の一例を示す。
図3A及び3Bは、CSI参照リソース及びUE CSI計算時間の一例を示す。
図4は、AP CSI報告のためのUE CSI計算時間の一例を示す。
図5は、CSI計算遅延要件1のためのテーブルC-1の一例を示す。
図6は、CSI計算遅延要件2のためのテーブルC-2の一例を示す。
図7A及び7Bは、AP CSI報告のためのCPU占有時間期間の一例を示す。
図8A及び8Bは、実施形態1においてイベントの条件が満たされた場合のCPU占有時間期間の一例を示す。
図9は、実施形態1においてイベントの条件が満たされない場合のCPU占有時間期間の一例を示す。
図10は、実施形態2においてイベントの条件が満たされた場合のCPU占有時間期間の一例を示す。
図11は、実施形態2のバリエーションに係るCPU占有時間期間の一例を示す。
図12は、実施形態3においてイベントの条件が満たされた場合のCPU占有時間期間の一例を示す。
図13は、本開示の一実施形態に係る無線通信システムの概略構成の一例を示す図である。
図14は、本開示の一実施形態に係る基地局の構成の一例を示す図である。
図15は、本開示の一実施形態に係る端末の構成の一例を示す図である。
図16は、本開示の一実施形態に係る基地局及び端末のハードウェア構成の一例を示す図である。
【発明を実施するための形態】
(【0011】以降は省略されています)
この特許をJ-PlatPat(特許庁公式サイト)で参照する
関連特許
株式会社NTTドコモ
端末
今日
株式会社NTTドコモ
端末
今日
株式会社NTTドコモ
端末
今日
株式会社NTTドコモ
端末
今日
株式会社NTTドコモ
デバイス
今日
株式会社NTTドコモ
デバイス
今日
株式会社NTTドコモ
デバイス
今日
株式会社NTTドコモ
デバイス
今日
株式会社NTTドコモ
端末及び通信方法
今日
株式会社NTTドコモ
端末及び通信方法
今日
株式会社NTTドコモ
端末及び通信方法
今日
株式会社NTTドコモ
端末及び通信方法
今日
株式会社NTTドコモ
端末及び通信方法
今日
株式会社NTTドコモ
端末及び通信方法
今日
株式会社NTTドコモ
端末及び通信方法
今日
株式会社NTTドコモ
端末及び通信方法
今日
株式会社NTTドコモ
端末及び通信方法
今日
株式会社NTTドコモ
端末及び通信方法
今日
株式会社NTTドコモ
端末及び通信方法
今日
株式会社NTTドコモ
端末及び測定方法
今日
株式会社NTTドコモ
端末及び通信方法
今日
株式会社NTTドコモ
端末及び通信方法
今日
株式会社NTTドコモ
端末及び通信方法
今日
株式会社NTTドコモ
端末及び通信方法
今日
株式会社NTTドコモ
端末及び通信方法
今日
株式会社NTTドコモ
端末及び通信方法
今日
株式会社NTTドコモ
端末及び通信方法
今日
株式会社NTTドコモ
端末及び通信方法
今日
株式会社NTTドコモ
端末及び通信方法
今日
株式会社NTTドコモ
端末及び通信方法
今日
株式会社NTTドコモ
端末及び通信方法
今日
株式会社NTTドコモ
端末及び通信方法
今日
株式会社NTTドコモ
端末及び通信方法
今日
株式会社NTTドコモ
端末及び通信方法
今日
株式会社NTTドコモ
端末及び通信方法
今日
株式会社NTTドコモ
端末及び通信方法
今日
続きを見る
他の特許を見る