TOP
|
特許
|
意匠
|
商標
特許ウォッチ
Twitter
他の特許を見る
10個以上の画像は省略されています。
公開番号
2025156330
公報種別
公開特許公報(A)
公開日
2025-10-14
出願番号
2025085740
出願日
2025-05-22
発明の名称
中央ユニット、通信方法及び分散ユニット
出願人
株式会社NTTドコモ
代理人
インフォート弁理士法人
主分類
H04W
36/30 20090101AFI20251002BHJP(電気通信技術)
要約
【課題】通信品質/スループットを向上させること。
【解決手段】本開示の一態様に係る中央ユニットは、端末によって測定された結果を受信する受信部と、lower-layer triggered mobility(LTM)手順において、1つ以上のセカンダリセルと前記1つ以上のセカンダリセルの1つ以上のビームとの少なくとも1つの候補に対する情報を分散ユニットへ送信することを制御する制御部と、を有する。
【選択図】図3
特許請求の範囲
【請求項1】
端末によって測定された結果を受信する受信部と、
lower-layer triggered mobility(LTM)手順において、1つ以上のセカンダリセルと前記1つ以上のセカンダリセルの1つ以上のビームとの少なくとも1つの候補に対する情報を分散ユニットへ送信することを制御する制御部と、を有する中央ユニット。
続きを表示(約 650 文字)
【請求項2】
前記情報は、アクティベーション又はディアクティベーションの指示と、早期上りリンク同期の指示と、早期下りリンク同期の指示と、セルスイッチの指示と、前記結果と、の少なくとも1つを含む、請求項1に記載の中央ユニット。
【請求項3】
前記1つ以上のセカンダリセルの1つは、候補セカンダリセルと、候補ターゲットプライマリセルに紐づくセカンダリセルと、のいずれかである、請求項1に記載の中央ユニット。
【請求項4】
前記結果は、レイヤ1測定結果及びレイヤ3測定結果の少なくとも1つである、請求項1に記載の中央ユニット。
【請求項5】
端末によって測定された結果を受信するステップと、
lower-layer triggered mobility(LTM)手順において、1つ以上のセカンダリセルと前記1つ以上のセカンダリセルの1つ以上のビームとの少なくとも1つの候補に対する情報を分散ユニットへ送信することを制御するステップと、を有する、中央ユニットの通信方法。
【請求項6】
lower-layer triggered mobility(LTM)手順において、1つ以上のセカンダリセルと前記1つ以上のセカンダリセルの1つ以上のビームとの少なくとも1つの候補に対する情報を中央ユニットから受信することを制御する制御部と、
前記情報に基づいて、セルスイッチコマンドを端末へ送信する送信部と、を有する分散ユニット。
発明の詳細な説明
【技術分野】
【0001】
本開示は、次世代移動通信システムにおける中央ユニット、通信方法及び分散ユニットに関する。
続きを表示(約 1,600 文字)
【背景技術】
【0002】
Universal Mobile Telecommunications System(UMTS)ネットワークにおいて、更なる高速データレート、低遅延などを目的としてLong Term Evolution(LTE)が仕様化された(非特許文献1)。また、LTE(Third Generation Partnership Project(3GPP(登録商標)) Release(Rel.)8、9)の更なる大容量、高度化などを目的として、LTE-Advanced(3GPP Rel.10-14)が仕様化された。
【0003】
LTEの後継システム(例えば、5th generation mobile communication system(5G)、5G+(plus)、6th generation mobile communication system(6G)、New Radio(NR)、3GPP Rel.15以降などともいう)も検討されている。
【先行技術文献】
【非特許文献】
【0004】
3GPP TS 36.300 V8.12.0 “Evolved Universal Terrestrial Radio Access (E-UTRA) and Evolved Universal Terrestrial Radio Access Network (E-UTRAN); Overall description; Stage 2 (Release 8)”、2010年4月
【発明の概要】
【発明が解決しようとする課題】
【0005】
既存の無線通信システム(例えば、NR)において、lower-layer triggered mobility(LTM)手順が検討されている。
【0006】
しかしながら、LTM手順が十分に検討されていない。LTM手順が適切に行われなければ、通信品質/スループットが低下するおそれがある。
【0007】
そこで、本開示は、通信性能/スループットを向上させることができる中央ユニット、通信方法及び分散ユニットを提供することを目的の1つとする。
【課題を解決するための手段】
【0008】
本開示の一態様に係る中央ユニットは、端末によって測定された結果を受信する受信部と、lower-layer triggered mobility(LTM)手順において、1つ以上のセカンダリセルと前記1つ以上のセカンダリセルの1つ以上のビームとの少なくとも1つの候補に対する情報を分散ユニットへ送信することを制御する制御部と、を有する。
【発明の効果】
【0009】
本開示の一態様によれば、通信品質/スループットを向上させることができる。
【図面の簡単な説明】
【0010】
図1は、LTM手順の一例を示す。
図2は、LTM CSC MAC CEの一例を示す。
図3は、実施形態1に係るLTM手順の第1例を示す。
図4は、実施形態1に係るLTM手順の第2例を示す。
図5は、実施形態1に係るLTM手順の第3例を示す。
図6は、本開示の一実施形態に係る無線通信システムの概略構成の一例を示す図である。
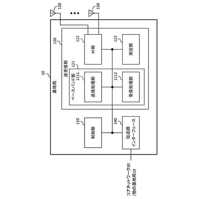
図7は、本開示の一実施形態に係る基地局の構成の一例を示す図である。
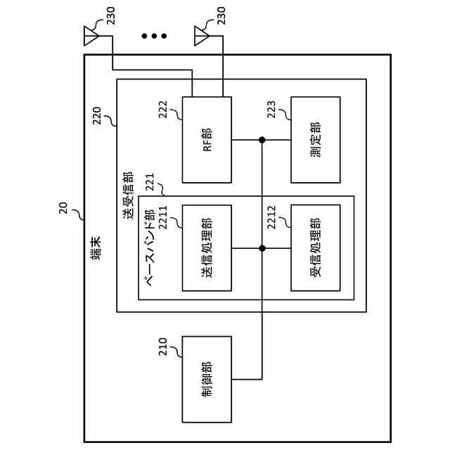
図8は、本開示の一実施形態に係る端末の構成の一例を示す図である。
図9は、本開示の一実施形態に係る基地局及び端末のハードウェア構成の一例を示す図である。
【発明を実施するための形態】
(【0011】以降は省略されています)
この特許をJ-PlatPat(特許庁公式サイト)で参照する
関連特許
株式会社NTTドコモ
端末
今日
株式会社NTTドコモ
端末
今日
株式会社NTTドコモ
端末
今日
株式会社NTTドコモ
端末
今日
株式会社NTTドコモ
デバイス
今日
株式会社NTTドコモ
デバイス
今日
株式会社NTTドコモ
デバイス
今日
株式会社NTTドコモ
デバイス
今日
株式会社NTTドコモ
リニアライザ
7日前
株式会社NTTドコモ
情報処理装置
6日前
株式会社NTTドコモ
端末及び通信方法
今日
株式会社NTTドコモ
端末及び通信方法
今日
株式会社NTTドコモ
端末及び通信方法
今日
株式会社NTTドコモ
端末及び通信方法
今日
株式会社NTTドコモ
端末及び通信方法
今日
株式会社NTTドコモ
端末及び通信方法
今日
株式会社NTTドコモ
端末及び通信方法
今日
株式会社NTTドコモ
端末及び通信方法
今日
株式会社NTTドコモ
端末及び通信方法
今日
株式会社NTTドコモ
端末及び通信方法
今日
株式会社NTTドコモ
端末及び測定方法
今日
株式会社NTTドコモ
端末及び通信方法
今日
株式会社NTTドコモ
端末及び通信方法
今日
株式会社NTTドコモ
端末及び通信方法
今日
株式会社NTTドコモ
端末及び通信方法
今日
株式会社NTTドコモ
端末及び通信方法
今日
株式会社NTTドコモ
端末及び通信方法
今日
株式会社NTTドコモ
端末及び通信方法
今日
株式会社NTTドコモ
端末及び通信方法
今日
株式会社NTTドコモ
端末及び通信方法
今日
株式会社NTTドコモ
端末及び通信方法
今日
株式会社NTTドコモ
端末及び通信方法
今日
株式会社NTTドコモ
端末及び通信方法
今日
株式会社NTTドコモ
端末及び通信方法
今日
株式会社NTTドコモ
端末及び通信方法
今日
株式会社NTTドコモ
端末及び通信方法
今日
続きを見る
他の特許を見る