TOP
|
特許
|
意匠
|
商標
特許ウォッチ
Twitter
他の特許を見る
公開番号
2025149816
公報種別
公開特許公報(A)
公開日
2025-10-08
出願番号
2024181866
出願日
2024-10-17
発明の名称
端末、無線通信方法及び基地局
出願人
株式会社NTTドコモ
代理人
インフォート弁理士法人
主分類
H04W
16/28 20090101AFI20251001BHJP(電気通信技術)
要約
【課題】TCI状態が適切に適用されること。
【解決手段】本開示の一態様に係る端末は、統一transmission configuration indication(TCI)状態のリストを含む設定を受信し、前記統一TCI状態に従わないコントロールリソースセット内の物理下りリンク制御チャネル(PDCCH)を受信し、前記PDCCHによってスケジュールされる物理下りリンク共有チャネル(PDSCH)を受信する受信部と、前記PDCCH及び前記PDSCHの間の時間オフセットが閾値以上である場合、前記統一TCI状態又は前記PDCCHに基づく1つ又は2つのTCI状態又はquasi co-location(QCL)想定を、前記PDSCHの受信に適用する制御部と、を有する。
【選択図】図1
特許請求の範囲
【請求項1】
統一transmission configuration indication(TCI)状態のリストを含む設定を受信し、前記統一TCI状態に従わないコントロールリソースセット内の物理下りリンク制御チャネル(PDCCH)を受信し、前記PDCCHによってスケジュールされる物理下りリンク共有チャネル(PDSCH)を受信する受信部と、
前記PDCCH及び前記PDSCHの間の時間オフセットが閾値以上である場合、前記統一TCI状態又は前記PDCCHに基づく1つ又は2つのTCI状態又はquasi co-location(QCL)想定を、前記PDSCHの受信に適用する制御部と、を有する端末。
続きを表示(約 930 文字)
【請求項2】
1つの指示TCI状態が指示されている場合、前記制御部は、前記1つの指示TCI状態を、前記PDSCHの受信に適用する、請求項1に記載の端末。
【請求項3】
2つの指示TCI状態が指示されている場合、前記制御部は、前記2つの指示TCI状態の内の1つの特定指示TCI状態を、前記PDSCHの受信に適用する、請求項1に記載の端末。
【請求項4】
2つの指示TCI状態が指示されている場合、前記制御部は、前記2つの指示TCI状態を、前記PDSCHの受信に適用する、請求項1に記載の端末。
【請求項5】
統一transmission configuration indication(TCI)状態のリストを含む設定を受信するステップと、
前記統一TCI状態に従わないコントロールリソースセット内の物理下りリンク制御チャネル(PDCCH)を受信するステップと、
前記PDCCHによってスケジュールされる物理下りリンク共有チャネル(PDSCH)を受信するステップと、
前記PDCCH及び前記PDSCHの間の時間オフセットが閾値以上である場合、前記統一TCI状態又は前記PDCCHに基づく1つ又は2つのTCI状態又はquasi co-location(QCL)想定を、前記PDSCHの受信に適用するステップと、を有する、端末の無線通信方法。
【請求項6】
統一transmission configuration indication(TCI)状態のリストを含む設定を送信し、前記統一TCI状態に従わないコントロールリソースセット内の物理下りリンク制御チャネル(PDCCH)を送信し、前記PDCCHによってスケジュールされる物理下りリンク共有チャネル(PDSCH)を送信する送信部と、
前記PDCCH及び前記PDSCHの間の時間オフセットが閾値以上である場合、前記統一TCI状態又は前記PDCCHに基づく1つ又は2つのTCI状態又はquasi co-location(QCL)想定を、前記PDSCHの送信に適用する制御部と、を有する基地局。
発明の詳細な説明
【技術分野】
【0001】
本開示は、次世代移動通信システムにおける端末、無線通信方法及び基地局に関する。
続きを表示(約 1,700 文字)
【背景技術】
【0002】
Universal Mobile Telecommunications System(UMTS)ネットワークにおいて、更なる高速データレート、低遅延などを目的としてLong Term Evolution(LTE)が仕様化された(非特許文献1)。また、LTE(Third Generation Partnership Project(3GPP(登録商標)) Release(Rel.)8、9)の更なる大容量、高度化などを目的として、LTE-Advanced(3GPP Rel.10-14)が仕様化された。
【0003】
LTEの後継システム(例えば、5th generation mobile communication system(5G)、5G+(plus)、6th generation mobile communication system(6G)、New Radio(NR)、3GPP Rel.15以降などともいう)も検討されている。
【先行技術文献】
【非特許文献】
【0004】
3GPP TS 36.300 V8.12.0 “Evolved Universal Terrestrial Radio Access (E-UTRA) and Evolved Universal Terrestrial Radio Access Network (E-UTRAN); Overall description; Stage 2 (Release 8)”、2010年4月
【発明の概要】
【発明が解決しようとする課題】
【0005】
将来の無線通信システムにおいて、チャネル又は信号の受信及び送信に統一(unified)transmission configuration indication(TCI)状態が適用されることが検討されている。
【0006】
しかしながら、このようなTCI状態に関する動作が十分に検討されていない。TCI状態が適切に適用されなければ、通信品質/スループットが低下するおそれがある。
【0007】
そこで、本開示は、TCI状態が適切に適用されることができる端末、無線通信方法及び基地局を提供することを目的の1つとする。
【課題を解決するための手段】
【0008】
本開示の一態様に係る端末は、統一transmission configuration indication(TCI)状態のリストを含む設定を受信し、前記統一TCI状態に従わないコントロールリソースセット内の物理下りリンク制御チャネル(PDCCH)を受信し、前記PDCCHによってスケジュールされる物理下りリンク共有チャネル(PDSCH)を受信する受信部と、前記PDCCH及び前記PDSCHの間の時間オフセットが閾値以上である場合、前記統一TCI状態又は前記PDCCHに基づく1つ又は2つのTCI状態又はquasi co-location(QCL)想定を、前記PDSCHの受信に適用する制御部と、を有する。
【発明の効果】
【0009】
本開示の一態様によれば、TCI状態が適切に適用されることができる。
【図面の簡単な説明】
【0010】
図1は、実施形態1に係るスケジューリングオフセットの一例を示す。
図2は、一実施形態に係る無線通信システムの概略構成の一例を示す図である。
図3は、一実施形態に係る基地局の構成の一例を示す図である。
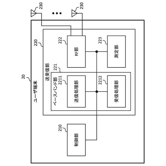
図4は、一実施形態に係るユーザ端末の構成の一例を示す図である。
図5は、一実施形態に係る基地局及びユーザ端末のハードウェア構成の一例を示す図である。
図6は、一実施形態に係る車両の一例を示す図である。
【発明を実施するための形態】
(【0011】以降は省略されています)
この特許をJ-PlatPat(特許庁公式サイト)で参照する
関連特許
他の特許を見る