TOP
|
特許
|
意匠
|
商標
特許ウォッチ
Twitter
他の特許を見る
10個以上の画像は省略されています。
公開番号
2025149834
公報種別
公開特許公報(A)
公開日
2025-10-08
出願番号
2024195329
出願日
2024-11-07
発明の名称
端末、無線通信方法及び基地局
出願人
株式会社NTTドコモ
代理人
インフォート弁理士法人
主分類
H04W
36/08 20090101AFI20251001BHJP(電気通信技術)
要約
【課題】CLTMがサポートされる場合にセルスイッチを適切に行うこと。
【解決手段】本開示の一態様に係る端末は、Conditional L1L2-triggered mobility(CLTM)のためにイベントトリガビームレポートを送信する送信部と、候補セルおよびビームが前記CLTMの実施条件を満たすかを評価し、実施条件を満たす候補セルおよびビームを用いてサービングセルのスイッチを実施する制御部と、を有する。
【選択図】図5
特許請求の範囲
【請求項1】
Conditional L1L2-triggered mobility(CLTM)のためにイベントトリガビームレポートを送信する送信部と、
候補セルおよびビームが前記CLTMの実施条件を満たすかを評価し、実施条件を満たす候補セルおよびビームを用いてサービングセルのスイッチを実施する制御部と、
を有する端末。
続きを表示(約 630 文字)
【請求項2】
前記イベントトリガビームレポートにおける候補セルの最大数の設定と、候補セルあたりのビームの最大数の設定を受信する、
請求項1に記載の端末。
【請求項3】
評価される前記候補セルの数および評価される前記ビームの数を示す能力情報を送信する送信部をさらに有する、
請求項1に記載の端末。
【請求項4】
前記制御部は、前記ビームレポートに含まれる候補セルおよびビームのうち、高品質の候補セルおよびビームから優先的に評価する
請求項1に記載の端末。
【請求項5】
Conditional L1L2-triggered mobility(CLTM)のためにイベントトリガビームレポートを送信する工程と、
候補セルおよびビームが前記CLTMの実施条件を満たすかを評価し、実施条件を満たす候補セルおよびビームを用いてサービングセルのスイッチを実施する工程と、
を有する端末の無線通信方法。
【請求項6】
Conditional L1L2-triggered mobility(CLTM)のためにイベントトリガビームレポートを受信する受信部と、
候補セルおよびビームが前記CLTMの実施条件を満たすかを評価し、実施条件を満たす候補セルおよびビームを用いてサービングセルのスイッチを実施されることを想定する制御部と、
を有する基地局。
発明の詳細な説明
【技術分野】
【0001】
本開示は、次世代移動通信システムにおける端末、無線通信方法及び基地局に関する。
続きを表示(約 1,900 文字)
【背景技術】
【0002】
Universal Mobile Telecommunications System(UMTS)ネットワークにおいて、更なる高速データレート、低遅延などを目的としてLong Term Evolution(LTE)が仕様化された(非特許文献1)。また、LTE(Third Generation Partnership Project(3GPP(登録商標)) Release(Rel.)8、9)の更なる大容量、高度化などを目的として、LTE-Advanced(3GPP Rel.10-14)が仕様化された。
【0003】
LTEの後継システム(例えば、5th generation mobile communication system(5G)、5G+(plus)、6th generation mobile communication system(6G)、New Radio(NR)、3GPP Rel.15以降などともいう)も検討されている。
【先行技術文献】
【非特許文献】
【0004】
3GPP TS 36.300 V8.12.0 “Evolved Universal Terrestrial Radio Access (E-UTRA) and Evolved Universal Terrestrial Radio Access Network (E-UTRAN); Overall description; Stage 2 (Release 8)”、2010年4月
【発明の概要】
【発明が解決しようとする課題】
【0005】
将来の無線通信システムにおいて、条件付きのセルスイッチ(Conditional L1L2-triggered mobility(CLTM)とも呼ぶ)がサポートされることが想定される。例えば、ネットワークから設定された条件に基づいて、UEによりLTM手順がトリガされることも考えられる。
【0006】
しかしながら、CLTMがサポートされる場合の具体的な動作/手順についてどのように制御するかが明確となってない。これにより、適切なセルスイッチが実現できずに通信スループットが低下するおそれがある。
【0007】
そこで、本開示は、CLTMがサポートされる場合にセルスイッチを適切に行うことができる端末、無線通信方法及び基地局を提供することを目的の1つとする。
【課題を解決するための手段】
【0008】
本開示の一態様に係る端末は、Conditional L1L2-triggered mobility(CLTM)のためにイベントトリガビームレポートを送信する送信部と、候補セルおよびビームが前記CLTMの実施条件を満たすかを評価し、実施条件を満たす候補セルおよびビームを用いてサービングセルのスイッチを実施する制御部と、を有することを特徴とする。
【発明の効果】
【0009】
本開示の一態様によれば、CLTMがサポートされる場合にセルスイッチを適切に行うことができる。
【図面の簡単な説明】
【0010】
図1Aは、Rel.17におけるUEのモビリティの例を示す図である。図1Bは、Rel.18におけるUEのモビリティの例を示す図である。
図2は、Rel.18のLTM(R18 LTM)の手順の一例を示す図である。
図3は、オプション1aにおけるCLTM手順を示す図である。
図4は、オプション1bにおけるCLTM手順を示す図である。
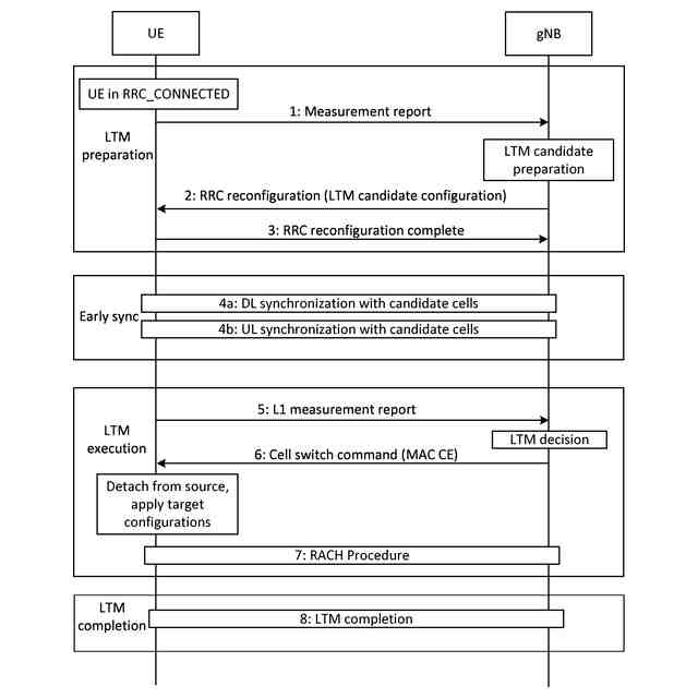
図5は、オプション1cにおけるCLTM手順を示す図である。
図6は、オプション2におけるCLTM手順を示す図である。
図7は、オプション3におけるCLTM手順を示す図である。
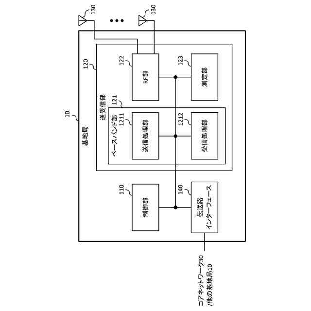
図8は、一実施形態に係る無線通信システムの概略構成の一例を示す図である。
図9は、一実施形態に係る基地局の構成の一例を示す図である。
図10は、一実施形態に係るユーザ端末の構成の一例を示す図である。
図11は、一実施形態に係る基地局及びユーザ端末のハードウェア構成の一例を示す図である。
図12は、一実施形態に係る車両の一例を示す図である。
【発明を実施するための形態】
(【0011】以降は省略されています)
この特許をJ-PlatPat(特許庁公式サイト)で参照する
関連特許
株式会社NTTドコモ
情報処理装置
4日前
株式会社NTTドコモ
リニアライザ
5日前
株式会社NTTドコモ
装置および方法
10日前
株式会社NTTドコモ
無線通信システム
9日前
株式会社NTTドコモ
無線通信システム
2日前
株式会社NTTドコモ
制御装置及び制御方法
2日前
株式会社NTTドコモ
端末及び無線通信方法
4日前
株式会社NTTドコモ
通信装置及び通信方法
9日前
株式会社NTTドコモ
端末及び無線通信方法
4日前
株式会社NTTドコモ
端末及び無線通信方法
4日前
株式会社NTTドコモ
端末及び無線通信方法
4日前
株式会社NTTドコモ
情報処理装置及び方法
25日前
株式会社NTTドコモ
装置および情報処理方法
23日前
株式会社NTTドコモ
基地局及び無線通信方法
4日前
株式会社NTTドコモ
基地局及び無線通信方法
4日前
株式会社NTTドコモ
基地局及び無線通信方法
4日前
株式会社NTTドコモ
通信装置及び無線通信方法
4日前
株式会社NTTドコモ
端末、無線通信方法及び装置
4日前
株式会社NTTドコモ
端末、無線通信方法及び基地局
4日前
株式会社NTTドコモ
端末、無線通信方法及び基地局
4日前
株式会社NTTドコモ
端末、無線通信方法及び基地局
4日前
株式会社NTTドコモ
端末、無線通信方法及び基地局
4日前
株式会社NTTドコモ
端末、無線通信方法及び基地局
4日前
株式会社NTTドコモ
端末、無線通信方法及び基地局
4日前
株式会社NTTドコモ
端末、無線通信方法及び基地局
4日前
株式会社NTTドコモ
端末、無線通信方法及び基地局
4日前
株式会社NTTドコモ
端末、無線通信方法及び基地局
4日前
株式会社NTTドコモ
端末、無線通信方法及び基地局
4日前
株式会社NTTドコモ
端末、無線通信方法及び基地局
4日前
株式会社NTTドコモ
端末、無線通信方法及び基地局
4日前
株式会社NTTドコモ
端末、無線通信方法及び基地局
4日前
株式会社NTTドコモ
端末、無線通信方法及び基地局
4日前
株式会社NTTドコモ
端末、無線通信方法及び基地局
4日前
株式会社NTTドコモ
端末、無線通信方法及び基地局
4日前
株式会社NTTドコモ
端末、無線通信方法及び基地局
4日前
株式会社NTTドコモ
端末、無線通信方法及び基地局
4日前
続きを見る
他の特許を見る