TOP
|
特許
|
意匠
|
商標
特許ウォッチ
Twitter
他の特許を見る
10個以上の画像は省略されています。
公開番号
2025149849
公報種別
公開特許公報(A)
公開日
2025-10-08
出願番号
2024199762
出願日
2024-11-15
発明の名称
通信装置及び無線通信方法
出願人
株式会社NTTドコモ
代理人
インフォート弁理士法人
主分類
H04W
68/02 20090101AFI20251001BHJP(電気通信技術)
要約
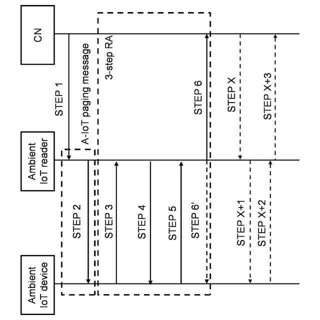
【課題】A-IoTのための好適な設定/制御を実施すること。
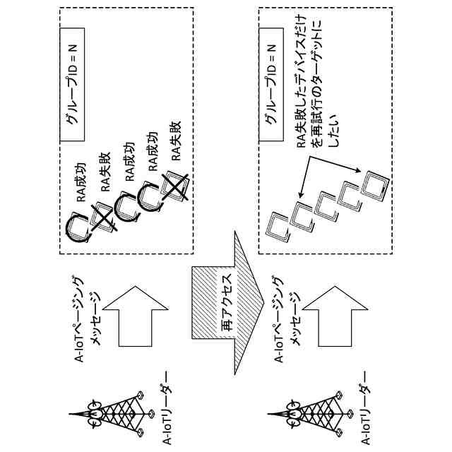
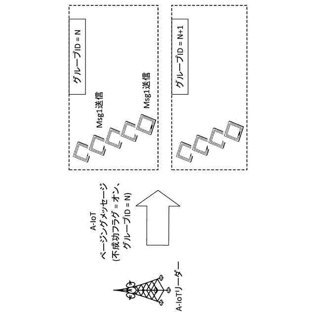
【解決手段】本開示の一態様に係る第1の通信装置は、環境発電によって電力を供給される第1の通信装置であって、第2の通信装置から特定の情報を含むページングメッセージを受信する受信部と、前記特定の情報に基づいて、ランダムアクセス手順に成功していない場合にランダムアクセス手順のための第1のメッセージを送信する送信部と、を有する。
【選択図】図10
特許請求の範囲
【請求項1】
環境発電によって電力を供給される第1の通信装置であって、
第2の通信装置から特定の情報を含むページングメッセージを受信する受信部と、
前記特定の情報に基づいて、ランダムアクセス手順に成功していない場合にランダムアクセス手順のための第1のメッセージを送信する送信部と、を有する第1の通信装置。
続きを表示(約 760 文字)
【請求項2】
前記特定の情報は、ランダムアクセス手順に成功していないデバイスだけが前記第1のメッセージを送信することに関する情報を含む請求項1に記載の第1の通信装置。
【請求項3】
前記特定の情報は、デバイスグループを示すグループ識別子を含み、
前記送信部は、前記第1の通信装置が前記デバイスグループに含まれ、かつランダムアクセス手順に成功していない場合に、前記第1のメッセージを送信する請求項1に記載の第1の通信装置。
【請求項4】
前記特定の情報は、前記ページングメッセージの送信を指示するために前記第2の通信装置が受信するページング指示に対応するページング識別子を含み、
前記送信部は、前記ページング識別子と同じページング識別子を含むページングメッセージに基づいてランダムアクセス手順に成功していない場合に、前記第1のメッセージを送信する請求項1に記載の第1の通信装置。
【請求項5】
環境発電によって電力を供給される第1の通信装置の無線通信方法であって、
第2の通信装置から特定の情報を含むページングメッセージを受信するステップと、
前記特定の情報に基づいて、ランダムアクセス手順に成功していない場合にランダムアクセス手順のための第1のメッセージを送信するステップと、を有する無線通信方法。
【請求項6】
環境発電によって電力を供給される第1の通信装置に対して、特定の情報を含むページングメッセージを送信する送信部と、
前記第1の通信装置がランダムアクセス手順に成功していない場合に前記特定の情報に基づいて送信される、ランダムアクセス手順のための第1のメッセージを受信する受信部と、を有する第2の通信装置。
発明の詳細な説明
【技術分野】
【0001】
本開示は、次世代移動通信システムにおける通信装置及び無線通信方法に関する。
続きを表示(約 1,700 文字)
【背景技術】
【0002】
Universal Mobile Telecommunications System(UMTS)ネットワークにおいて、更なる高速データレート、低遅延などを目的としてLong Term Evolution(LTE)が仕様化された(非特許文献1)。また、LTE(Third Generation Partnership Project(3GPP(登録商標)) Release(Rel.)8、9)の更なる大容量、高度化などを目的として、LTE-Advanced(3GPP Rel.10-14)が仕様化された。
【0003】
LTEの後継システム(例えば、5th generation mobile communication system(5G)、5G+(plus)、6th generation mobile communication system(6G)、New Radio(NR)、3GPP Rel.15以降などともいう)も検討されている。
【先行技術文献】
【非特許文献】
【0004】
3GPP TS 36.300 V8.12.0 “Evolved Universal Terrestrial Radio Access (E-UTRA) and Evolved Universal Terrestrial Radio Access Network (E-UTRAN); Overall description; Stage 2 (Release 8)”、2010年4月
【発明の概要】
【発明が解決しようとする課題】
【0005】
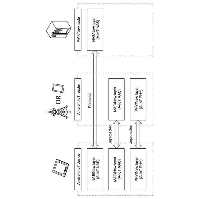
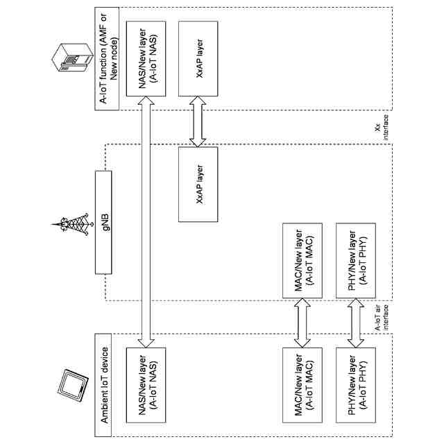
あらゆるモノがインターネットに接続されるInternet of Things(IoT)の一形態として、近年、アンビエントIoT(Ambient IoT(A-IoT))に関する検討が行われている。アンビエントIoTは、無線ネットワークに接続される多数のアンビエントIoT(A-IoT)デバイスによって実現されるエコシステムのコンセプトと表現されてもよい。3GPPでも、A-IoTを導入する検討がされている。
【0006】
A-IoTデバイスは、環境発電(エネルギーハーベスティング)によって電力を供給されるIoTデバイスであり、バッテリーレス又は限定的なエネルギー貯蔵能力(例えば、キャパシターを使用)を有する。環境発電とは、周囲に存在する(環境中の)エネルギー源(例えば、電磁波エネルギー、光エネルギー、運動エネルギー、熱エネルギーなど)を[収穫して]電力に変換する技術である。A-IoTデバイスは、長寿命でメンテナンスフリーであることが期待される。
【0007】
しかしながら、A-IoTデバイスの通信のためにどのように関連する設定/制御を行うかについては、まだ検討が進んでいない。当該設定/制御を提供できなければ、A-IoTに関する通信スループット/無線リソース利用効率が低下するおそれがある。
【0008】
そこで、本開示は、A-IoTのための好適な設定/制御を実施できる通信装置及び無線通信方法を提供することを目的の1つとする。
【課題を解決するための手段】
【0009】
本開示の一態様に係る第1の通信装置は、環境発電によって電力を供給される第1の通信装置であって、第2の通信装置から特定の情報を含むページングメッセージを受信する受信部と、前記特定の情報に基づいて、ランダムアクセス手順に成功していない場合にランダムアクセス手順のための第1のメッセージを送信する送信部と、を有する。
【発明の効果】
【0010】
本開示の一態様によれば、A-IoTのための好適な設定/制御を実施できる。
【図面の簡単な説明】
(【0011】以降は省略されています)
この特許をJ-PlatPat(特許庁公式サイト)で参照する
関連特許
株式会社NTTドコモ
情報処理装置
4日前
株式会社NTTドコモ
リニアライザ
5日前
株式会社NTTドコモ
装置および方法
10日前
株式会社NTTドコモ
無線通信システム
9日前
株式会社NTTドコモ
無線通信システム
2日前
株式会社NTTドコモ
制御装置及び制御方法
2日前
株式会社NTTドコモ
端末及び無線通信方法
4日前
株式会社NTTドコモ
通信装置及び通信方法
9日前
株式会社NTTドコモ
端末及び無線通信方法
4日前
株式会社NTTドコモ
端末及び無線通信方法
4日前
株式会社NTTドコモ
端末及び無線通信方法
4日前
株式会社NTTドコモ
情報処理装置及び方法
25日前
株式会社NTTドコモ
装置および情報処理方法
23日前
株式会社NTTドコモ
基地局及び無線通信方法
4日前
株式会社NTTドコモ
基地局及び無線通信方法
4日前
株式会社NTTドコモ
基地局及び無線通信方法
4日前
株式会社NTTドコモ
通信装置及び無線通信方法
4日前
株式会社NTTドコモ
端末、無線通信方法及び装置
4日前
株式会社NTTドコモ
端末、無線通信方法及び基地局
4日前
株式会社NTTドコモ
端末、無線通信方法及び基地局
4日前
株式会社NTTドコモ
端末、無線通信方法及び基地局
4日前
株式会社NTTドコモ
端末、無線通信方法及び基地局
4日前
株式会社NTTドコモ
端末、無線通信方法及び基地局
4日前
株式会社NTTドコモ
端末、無線通信方法及び基地局
4日前
株式会社NTTドコモ
端末、無線通信方法及び基地局
4日前
株式会社NTTドコモ
端末、無線通信方法及び基地局
4日前
株式会社NTTドコモ
端末、無線通信方法及び基地局
4日前
株式会社NTTドコモ
端末、無線通信方法及び基地局
4日前
株式会社NTTドコモ
端末、無線通信方法及び基地局
4日前
株式会社NTTドコモ
端末、無線通信方法及び基地局
4日前
株式会社NTTドコモ
端末、無線通信方法及び基地局
4日前
株式会社NTTドコモ
端末、無線通信方法及び基地局
4日前
株式会社NTTドコモ
端末、無線通信方法及び基地局
4日前
株式会社NTTドコモ
端末、無線通信方法及び基地局
4日前
株式会社NTTドコモ
端末、無線通信方法及び基地局
4日前
株式会社NTTドコモ
端末、無線通信方法及び基地局
4日前
続きを見る
他の特許を見る