TOP
|
特許
|
意匠
|
商標
特許ウォッチ
Twitter
他の特許を見る
10個以上の画像は省略されています。
公開番号
2025149178
公報種別
公開特許公報(A)
公開日
2025-10-08
出願番号
2024049661
出願日
2024-03-26
発明の名称
ケーブル端子台および結線情報管理装置
出願人
株式会社東芝
代理人
弁理士法人酒井国際特許事務所
主分類
H02B
3/00 20060101AFI20251001BHJP(電力の発電,変換,配電)
要約
【課題】結線/離線状態の変化の推移状況の把握がスムーズにできるケーブル端子台を提供する。
【解決手段】ケーブル端子台は、検出部と、記憶部と、タイミング提示部と、処理部と、を備える。検出部は、受変電設備の盤におけるケーブルの結線状態を検出する。記憶部は、前記結線状態を記憶する。タイミング提示部は、前記結線状態を前記記憶部に記憶させる記憶タイミングを提示する。処理部は、前記結線状態と前記記憶タイミングを関連づけた結線情報を前記記憶部に記憶させる。無人航空機の駐機管理や駐機利用の手続きを容易に行うことができる無人航空機駐機システムを提供する。
【選択図】図2
特許請求の範囲
【請求項1】
受変電設備の盤におけるケーブルの結線状態を検出する検出部と、
前記結線状態を記憶する記憶部と、
前記結線状態を前記記憶部に記憶させる記憶タイミングを提示するタイミング提示部と、
前記結線状態と前記記憶タイミングを関連づけた結線情報を前記記憶部に記憶させる処理部と、
を備える、ケーブル端子台。
続きを表示(約 530 文字)
【請求項2】
前記処理部は、前記記憶部に前回処理で記憶した最新結線情報である第1結線情報で示される結線状態を基準結線状態として、当該基準結線状態と今回の記憶タイミングで検出した検出結線状態との間で差異がある場合に、前記検出結線状態と当該検出結線状態を検出した前記記憶タイミングとを関連つけた第2結線情報を新たな最新結線情報として前記記憶部に記憶すると共に、前記第1結線情報より前に記憶した結線情報を削除する、請求項1に記載のケーブル端子台。
【請求項3】
前記処理部は、前記基準結線状態と前記検出結線状態との間で差異がある場合に、差異の存在を示す警報を外部に出力する、請求項2に記載のケーブル端子台。
【請求項4】
受変電設備の盤におけるケーブルの結線を行うケーブル端子台に設けられた、前記ケーブルの結線状態を検出する検出部からの情報を取得する取得部と、
前記結線状態を記憶する記憶部と、
前記結線状態を前記記憶部に記憶させる記憶タイミングを提示するタイミング提示部と、
前記結線状態と前記記憶タイミングを関連づけた結線情報を前記記憶部に記憶させる処理部と、
を備える、結線情報管理装置。
発明の詳細な説明
【技術分野】
【0001】
本発明の実施形態は、ケーブル端子台および結線情報管理装置に関する。
続きを表示(約 2,600 文字)
【背景技術】
【0002】
従来、電力会社などから受電した電力を安全に変電したり配電したりして負荷設備に送電する受変電設備が知られている。電力を使用する需要家では、受変電設備として、一般的には、鋼板製の筐体に電気回路を収納した「盤」と呼ばれる形式のものを整備することが多い。盤には数多くの機器が収納されており、それら機器間を接続するためには大量のケーブルがケーブル端子台を介して接続される。また、受変電設備を構成する盤間や、受変電設備と施設付帯設備(例えば、エレベータ設備、火災警報設備、空調設備等)との間では、設備運用上重要な信号を制御ケーブルで送受している。制御ケーブルによる信号の送受の例として、例えば、商用停電時のエレベータ停止制御等があげられ、受変電設備からエレベータ設備に対して停電信号を送信している。このようなケーブル(制御ケーブルや電力ケーブル等を含む)の結線/離線の状態の管理を、結線/離線の状態を撮像した画像を用いて管理する技術が提案されている。
【先行技術文献】
【特許文献】
【0003】
特開2015-19462号公報
【発明の概要】
【発明が解決しようとする課題】
【0004】
受変電設備(盤)は、運用のために引き渡しが行われた後も、改修工事作業が行われたり定期的な保守点検作業が行われたりする。しかしながら、このような作業は、毎回同じ業者(同じ担当者)が担当するとは限らず、状況に応じて複数の業者の中から担当決めが行われることがある。そのため、業者(担当者)間でも業務状況の引き継ぎが不十分になる場合があり、ケーブルの結線/離線の状態に不具合(例えば、作業ミス等)があった場合、結線/離線の状態を撮像した画像等が存在しても、結線/離線状態の変化の推移状況の把握がスムーズにできず、不具合発生時に対応依頼や対策が迅速にできないという問題があった。したがって、結線/離線状態の変化の推移状況の把握がスムーズにできる技術が提供できれば有意義である。
【課題を解決するための手段】
【0005】
実施形態におけるケーブル端子台は、例えば、検出部と、記憶部と、タイミング提示部と、処理部と、を備える。検出部は、受変電設備の盤におけるケーブルの結線状態を検出する。記憶部は、前記結線状態を記憶する。タイミング提示部は、前記結線状態を前記記憶部に記憶させる記憶タイミングを提示する。処理部は、前記結線状態と前記記憶タイミングを関連づけた結線情報を前記記憶部に記憶させる。
【図面の簡単な説明】
【0006】
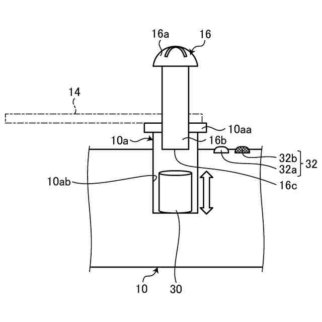
図1は、実施形態におけるケーブル端子台を含む盤(受変電設備)の構成概念を示す例示的かつ模式的な説明図である。
図2は、実施形態のケーブル端子台に搭載される結線情報管理部(結線情報管理装置)の構成を示す例示的かつ模式的なブロック図である。
図3は、実施形態のケーブル端子台に含まれる検出部が結線状態を検出する場合を示す例示的かつ模式的な説明図である。
図4は、実施形態のケーブル端子台に含まれる検出部が離線状態を検出する場合を示す例示的かつ模式的な説明図である。
図5は、第1実施形態のケーブル端子台に搭載される結線情報管理部(結線情報管理装置)が記憶部に記憶する結線情報を示す例示的かつ模式的な説明するである。
図6は、第1実施形態のケーブル端子台に搭載される結線情報管理部(結線情報管理装置)が記憶部に記憶する他の結線情報を示す例示的かつ模式的な説明するである。
図7は、第1実施形態のケーブル端子台に搭載される結線情報管理部(結線情報管理装置)の動作の流れを示す例示的なフローチャートである。
図8は、第2実施形態のケーブル端子台に搭載される結線情報管理部(結線情報管理装置)が記憶部に記憶する結線情報を示す例示的かつ模式的な説明図である。
図9は、第2実施形態のケーブル端子台に搭載される結線情報管理部(結線情報管理装置)が記憶部に記憶する他の結線情報を示す例示的かつ模式的な説明図である。
図10は、第2実施形態のケーブル端子台に搭載される結線情報管理部(結線情報管理装置)の動作の流れを示す例示的なフローチャートである。
図11は、実施形態におけるケーブル端子台を含む盤(受変電設備)の他の構成概念を示す例示的かつ模式的な説明図である。
【発明を実施するための形態】
【0007】
以下、本発明の実施形態について、図面を参照して説明する。以下に記載する実施形態の構成、ならびに当該構成によってもたらされる作用および結果(効果)は、あくまで一例であって、以下の記載内容に限られるものではない。
【0008】
図1は、実施形態におけるケーブル端子台10を含む盤12(受変電設備100)の構成概念を示す例示的かつ模式的な説明図である。
【0009】
受変電設備100は、例えば、需要家側の施設内等に配置される。受変電設備100は、送電された電力(電気)を施設内で受電し、利用可能な低圧に変圧して負荷設備側に提供する。受変電設備100は、例えば、区分開閉器、断路器、遮断器、変圧器、保護継電器、制御装置、計測機器、低圧配電設備等を含む。これらの機器は、盤12内に配置されたケーブル端子台10を介して接続されるケーブル14で適宜結線されて機能する。ケーブル14は、例えば、ケーブル先端に装着された端子を、固定部材として機能する例えば固定ネジ16によりケーブル端子台10の所定位置に固定される。ケーブル端子台10の構造の詳細は後述する。
【0010】
ケーブル14は、同一の盤12内に内蔵された機器間を電気的に接続したり、異なる盤12に内蔵された機器間を電気的に接続したりする。盤12と他の盤12間を接続するケーブル14は、例えばダクト18内を挿通され、保護される。なお、図1では、図示の簡略化のため、盤12にケーブル端子台10が3基配置されている例を示しているが、盤12には、さらに多くのケーブル端子台10や上述したような機器が配置されている。
(【0011】以降は省略されています)
この特許をJ-PlatPat(特許庁公式サイト)で参照する
関連特許
株式会社東芝
固定子
1か月前
株式会社東芝
センサ
17日前
株式会社東芝
センサ
2か月前
株式会社東芝
モータ
12日前
株式会社東芝
センサ
17日前
株式会社東芝
センサ
1か月前
株式会社東芝
回路素子
2か月前
株式会社東芝
ドア構造
1か月前
株式会社東芝
金型構造
17日前
株式会社東芝
電子装置
11日前
株式会社東芝
燃料電池
2か月前
株式会社東芝
吸音装置
12日前
株式会社東芝
半導体装置
14日前
株式会社東芝
半導体装置
14日前
株式会社東芝
ラック装置
1か月前
株式会社東芝
半導体装置
14日前
株式会社東芝
半導体装置
26日前
株式会社東芝
半導体装置
2か月前
株式会社東芝
半導体装置
14日前
株式会社東芝
半導体装置
14日前
株式会社東芝
半導体装置
14日前
株式会社東芝
半導体装置
14日前
株式会社東芝
粒子加速器
11日前
株式会社東芝
X線厚み計
2か月前
株式会社東芝
電動送風機
1か月前
株式会社東芝
半導体装置
24日前
株式会社東芝
電子デバイス
12日前
株式会社東芝
電子デバイス
12日前
株式会社東芝
電子デバイス
12日前
株式会社東芝
熱電変換装置
12日前
株式会社東芝
走行システム
1か月前
株式会社東芝
アンテナ装置
2か月前
株式会社東芝
ディスク装置
1か月前
株式会社東芝
重量測定装置
10日前
株式会社東芝
ディスク装置
14日前
株式会社東芝
開発支援装置
1か月前
続きを見る
他の特許を見る