TOP
|
特許
|
意匠
|
商標
特許ウォッチ
Twitter
他の特許を見る
公開番号
2025147734
公報種別
公開特許公報(A)
公開日
2025-10-07
出願番号
2024048130
出願日
2024-03-25
発明の名称
固体燃料粉砕装置の運転方法並びに固体燃料粉砕装置及びボイラ設備
出願人
三菱重工業株式会社
代理人
個人
,
個人
,
個人
主分類
F23K
3/02 20060101AFI20250930BHJP(燃焼装置;燃焼方法)
要約
【課題】滞留した固体燃料に起因した過負荷が解消されやすい固体燃料粉砕装置の運転方法を提供する。
【解決手段】固体燃料の供給量が増加するときの搬送ガスの流量は、固体燃料の供給量に紐づいた基準流量に従って増加するものとされ、固体燃料粉砕装置の負荷が所定値を超えた場合には、固体燃料の供給量を減少させ、搬送ガスの流量を、減少後の固体燃料の供給量に対応した基準流量よりも多い流量にする。負荷は、ミル差圧及びミル火炉差圧の少なくともいずれかひとつによって判断される。
【選択図】図3
特許請求の範囲
【請求項1】
ハウジングと、
前記ハウジングの内部に設けられ、中心軸線の回りに回転する回転テーブルと、
固体燃料を前記回転テーブルへ供給する燃料供給部と、
前記ハウジングの内部に設けられ、前記固体燃料を前記回転テーブルとの間で噛み込んで粉砕する粉砕ローラと、
粉砕された前記固体燃料を搬送するための搬送ガスを前記ハウジングの入口に供給する搬送ガス供給ラインと、
前記搬送ガス及び粉砕された前記固体燃料を前記ハウジングの出口からボイラへ供給する微粉燃料供給ラインと、
を備えている固体燃料粉砕装置の運転方法であって、
前記固体燃料の供給量が増加するときの前記搬送ガスの流量は、前記固体燃料の供給量に紐づいた基準流量に従って増加するものとされ、
前記固体燃料粉砕装置の負荷が所定値を超えた場合には、
前記固体燃料の供給量を減少させ、
前記搬送ガスの流量を、減少後の前記固体燃料の供給量に対応した前記基準流量よりも多い流量にする
固体燃料粉砕装置の運転方法。
続きを表示(約 1,000 文字)
【請求項2】
前記固体燃料の供給量を減少させた後に所定時間が経過した時に、前記搬送ガスの流量を減少後の前記固体燃料の供給量に対応した前記基準流量にする
請求項1に記載の固体燃料粉砕装置の運転方法。
【請求項3】
前記負荷が所定値以下に戻った場合には、
前記固体燃料の供給量を増加させ、
前記搬送ガスの流量を前記基準流量に従って増加させる
請求項2に記載の固体燃料粉砕装置の運転方法。
【請求項4】
前記負荷は、
前記ハウジングの前記入口と前記出口と間の差圧であるミル差圧、及び
前記ハウジングの前記出口と前記ボイラの火炉との間の差圧であるミル火炉差圧
の少なくともいずれかひとつによって判断される
請求項1から3のいずれかに記載の固体燃料粉砕装置の運転方法。
【請求項5】
ハウジングと、
前記ハウジングの内部に設けられ、中心軸線の回りに回転する回転テーブルと、
固体燃料を前記回転テーブルへ供給する燃料供給部と、
前記固体燃料を前記回転テーブルとの間で噛み込んで粉砕する粉砕ローラと、
粉砕された前記固体燃料を搬送するための搬送ガスを前記ハウジングの入口に供給する搬送ガス供給ラインと、
前記搬送ガス及び粉砕された前記固体燃料を前記ハウジングの出口からボイラへ供給する微粉燃料供給ラインと、
制御部、
を備え、
前記固体燃料の供給量が増加するときの前記搬送ガスの流量は、前記固体燃料の供給量に紐づいた基準流量に従って増加するものとされ、
前記制御部は、負荷が所定値を超えた場合には、
前記固体燃料の供給量を減少させ、
前記搬送ガスの流量を、減少後の前記固体燃料の供給量に対応した前記基準流量よりも多い流量にする
固体燃料粉砕装置。
【請求項6】
前記負荷は、
前記ハウジングの前記入口と前記出口と間の差圧であるミル差圧、及び
前記ハウジングの前記出口と前記ボイラの火炉との間の差圧であるミル火炉差圧
の少なくともいずれかひとつによって判断される
請求項5に記載の固体燃料粉砕装置。
【請求項7】
請求項5に記載の固体燃料粉砕装置と、
前記固体燃料粉砕装置で粉砕された前記固体燃料を燃焼装置で燃焼して蒸気を生成する前記ボイラと、
を備えている
ボイラ設備。
発明の詳細な説明
【技術分野】
【0001】
本開示は、固体燃料粉砕装置の運転方法並びに固体燃料粉砕装置及びボイラ設備に関する。
続きを表示(約 2,000 文字)
【背景技術】
【0002】
バイオマス燃料や石炭等の固体燃料は、粉砕機(ミル)で所定粒径以下の微粉状に粉砕された状態で、微粉燃料供給ラインを介して、ボイラの燃焼装置へ供給される。
ミルは、粉砕テーブルへ投入された固体燃料を、粉砕テーブルと粉砕ローラの間に挟み込んで粉砕し、粉砕されて微粉状となった固体燃料のうち所定粒径以下の微粉燃料を分級機で選別し、選別された微粉燃料を搬送ガス(一次空気)とともに微粉燃料供給ラインを介してボイラへ搬送する設備である。
ボイラは、搬送された微粉燃料を燃焼装置で燃焼させることで燃焼ガスを生成し、生成された燃焼ガスと水との熱交換によって蒸気を発生させる設備である。
火力発電プラントでは、ボイラで発生した蒸気で蒸気タービンを回転駆動して、蒸気タービンに接続された発電機を回転駆動することで発電が行われる。
【0003】
従来、ミルに供給される一次空気の流量は、例えば特許文献1に開示されているように、燃料供給量の増減に紐づけられて増減するように制御されている(図2のA2参照)。
【先行技術文献】
【特許文献】
【0004】
特開2020-133930号公報
【発明の概要】
【発明が解決しようとする課題】
【0005】
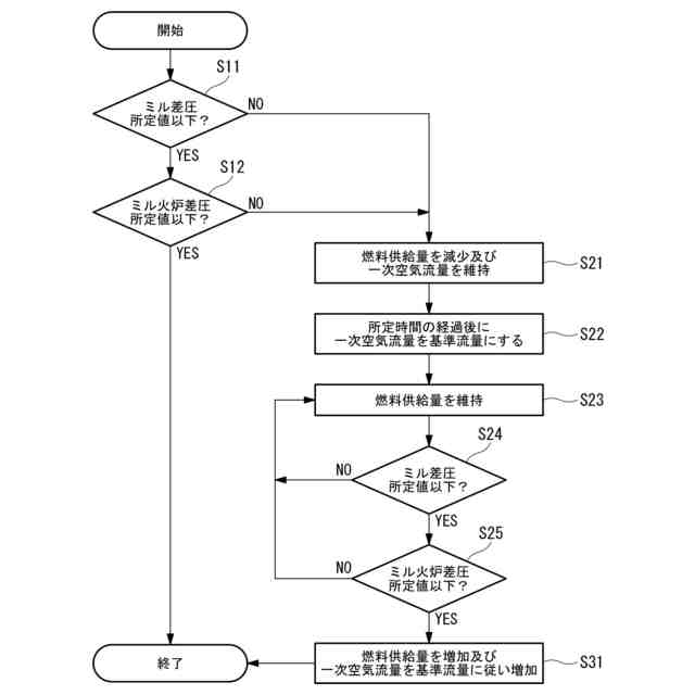
特許文献1に開示されているように、一次空気の流量が燃料供給量の増減に紐づけられて増減する場合、すなわち、燃料供給量を増加させ又は減少させるいずれのときも同じ変化率(グラフで言うところの傾き)で一次空気の流量を増加させ又は減少させる場合において、ミルや微粉燃料供給ラインに過負荷が生じたときにその過負荷を解消すべくミルに供給される固体燃料の供給量を減少させると、一次空気の流量は増加時と同じ変化率で減少することになる。
【0006】
しかしながら、一次空気の流量を増加時と同じ変化率で減少させると、一次空気による微粉燃料の搬送能力が低下するため、ミルや微粉燃料供給ラインにて微粉燃料が滞留しやすい状態となり、結果的に、過負荷が解消されないばかりか逆に負荷が増加してしまう可能性がある。
【0007】
本開示は、このような事情に鑑みてなされたものであって、滞留した固体燃料に起因した過負荷が解消されやすい固体燃料粉砕装置の運転方法並びに固体燃料粉砕装置及びボイラ設備を提供することを目的とする。
【課題を解決するための手段】
【0008】
上記課題を解決するために、本開示の固体燃料粉砕装置の運転方法並びに固体燃料粉砕装置及びボイラ設備は、以下の手段を採用する。
【0009】
本開示の一態様に係る固体燃料粉砕装置の運転方法は、ハウジングと、前記ハウジングの内部に設けられ、中心軸線の回りに回転する回転テーブルと、固体燃料を前記回転テーブルへ供給する燃料供給部と、前記ハウジングの内部に設けられ、前記固体燃料を前記回転テーブルとの間で噛み込んで粉砕する粉砕ローラと、粉砕された前記固体燃料を搬送するための搬送ガスを前記ハウジングの入口に供給する搬送ガス供給ラインと、前記搬送ガス及び粉砕された前記固体燃料を前記ハウジングの出口からボイラへ供給する微粉燃料供給ラインと、を備えている固体燃料粉砕装置の運転方法であって、前記固体燃料の供給量が増加するときの前記搬送ガスの流量は、前記固体燃料の供給量に紐づいた基準流量に従って増加するものとされ、前記固体燃料粉砕装置の負荷が所定値を超えた場合には、前記固体燃料の供給量を減少させ、前記搬送ガスの流量を、減少後の前記固体燃料の供給量に対応した前記基準流量よりも多い流量にする。
【0010】
また、本開示の一態様に係る固体燃料粉砕装置は、ハウジングと、前記ハウジングの内部に設けられ、中心軸線の回りに回転する回転テーブルと、固体燃料を前記回転テーブルへ供給する燃料供給部と、前記固体燃料を前記回転テーブルとの間で噛み込んで粉砕する粉砕ローラと、粉砕された前記固体燃料を搬送するための搬送ガスを前記ハウジングの入口に供給する搬送ガス供給ラインと、前記搬送ガス及び粉砕された前記固体燃料を前記ハウジングの出口からボイラへ供給する微粉燃料供給ラインと、制御部と、を備え、前記固体燃料の供給量が増加するときの前記搬送ガスの流量は、前記固体燃料の供給量に紐づいた基準流量に従って増加するものとされ、前記制御部は、負荷が所定値を超えた場合には、前記固体燃料の供給量を減少させ、前記搬送ガスの流量を、減少後の前記固体燃料の供給量に対応した前記基準流量よりも多い流量にする。
(【0011】以降は省略されています)
この特許をJ-PlatPat(特許庁公式サイト)で参照する
関連特許
個人
燃焼炉の操業方法
1か月前
個人
煙突煤払い掃除機
2か月前
個人
ウッドガスストーブ
17日前
個人
形見の製造方法
23日前
コーキ株式会社
煙突
1か月前
株式会社トヨトミ
石油燃焼器
11日前
株式会社パロマ
燃焼装置
3か月前
株式会社豊田自動織機
耐熱部材
1か月前
株式会社トヨトミ
固体燃料燃焼器
4か月前
株式会社オメガ
熱風発生装置
5か月前
三浦工業株式会社
ボイラ
4か月前
株式会社サイトウ工研
焚き火台
8日前
株式会社フクハラ
充填物処理方法
3か月前
個人
回転キルンを利用した燻炭製造方法
4か月前
東京パイプ株式会社
着火器具
2か月前
株式会社タクマ
付着物除去システム
3か月前
大陽日酸株式会社
バーナ
5か月前
大陽日酸株式会社
バーナ
5か月前
リンナイ株式会社
燃焼装置
4か月前
三浦工業株式会社
燃焼システム
8日前
大陽日酸株式会社
バーナ
5か月前
大阪瓦斯株式会社
燃焼装置
10日前
株式会社アドバンテック
燃焼装置
29日前
株式会社アドバンテック
燃焼装置
29日前
株式会社アドバンテック
燃焼装置
29日前
三浦工業株式会社
水素燃焼ボイラ
1か月前
山形化成工業株式会社
手持ち式着火用具
1か月前
三菱重工業株式会社
清掃装置
16日前
大陽日酸株式会社
燃焼バーナ
1か月前
株式会社日本サーモエナー
ガスバーナ
3か月前
個人
可燃性ガス燃焼装置
3か月前
極東開発工業株式会社
バイオマス燃焼システム
8日前
株式会社パロマ
給湯器
3か月前
株式会社パロマ
給湯器
3か月前
中外炉工業株式会社
リジェネバーナ装置
3か月前
極東開発工業株式会社
バイオマス燃焼システム
8日前
続きを見る
他の特許を見る