TOP
|
特許
|
意匠
|
商標
特許ウォッチ
Twitter
他の特許を見る
10個以上の画像は省略されています。
公開番号
2025147379
公報種別
公開特許公報(A)
公開日
2025-10-07
出願番号
2024047607
出願日
2024-03-25
発明の名称
ロボット管理装置、ロボット、及びプログラム
出願人
フジテック株式会社
代理人
弁理士法人 楓国際特許事務所
主分類
G05D
1/435 20240101AFI20250930BHJP(制御;調整)
要約
【課題】利用者とロボットとが乗りかごに同乗する場合に生じ得る利用者の乗車時間の長期化を、エレベータから自律したロボット側の制御で緩和できるようにする。
【解決手段】ロボット管理装置は、乗りかごが停止階に到着したときに、その乗りかごの到着階が、割当依頼で送信した出発階の何れかに一致するか否かの判断を行い、その判断にて出発階の何れかに一致すると判断した場合、一致した割当依頼を第1着目依頼として、その第1着目依頼で送信した出発階及び行先階を用いて、その出発階から行先階へ向かう方向をロボットの搬送方向とした上で、上記到着階からの乗りかごの出発方向が、その搬送方向に一致するか否かの判断を行う。更に、ロボット管理装置は、その判断にてロボットの搬送方向に一致すると判断した場合、第1着目依頼で送信した出発階がロボットの乗車階に一致するか否かの判断を行う。
【選択図】図1
特許請求の範囲
【請求項1】
エレベータが設置された建物内で利用されるロボットを管理する装置であって、前記エレベータの乗りかごを利用してロボットを乗車階から目的階まで移動させる場合に、当該ロボットについての乗場呼びの割当依頼を、その乗場呼びの割当てに必要な出発階と行先階又は行先方向とを前記エレベータの制御装置へ送信することで行うロボット管理装置であり、
前記乗りかごを利用して前記ロボットを前記乗車階から前記目的階まで移動させる場合において、前記エレベータの制御装置にて利用者についての乗場呼びの割当てが行われている場合に、前記ロボットの乗車階及び目的階と、前記利用者についての乗場呼びが示す出発階及び行先方向とについて、
(1)前記ロボットの乗車階から当該ロボットの目的階へ向かう順方向が前記利用者の行先方向と同方向であるという条件と、
(2)前記乗りかごが、前記利用者の出発階への到着前に前記ロボットの乗車階に到着するという条件と、
(3)前記ロボットの乗車階と当該ロボットの目的階との間に前記利用者の出発階があるという条件と、
(4)前記ロボットの目的階が、当該ロボットの乗車階に対して前記順方向に位置する第1の端階とは異なる階であるという条件と、
がそれぞれ満たされているか否かを判断し、
前記条件(1)~(4)が全て満たされていると判断した場合に、
前記ロボットについての第1の乗場呼びの割当依頼として、当該ロボットの乗車階を出発階とし、且つ、その乗車階から前記順方向へ前記乗りかごを出発させる乗場呼びの割当依頼と、
前記ロボットについての第2の乗場呼びの割当依頼として、当該ロボットの目的階を出発階とし、且つ、その目的階から前記順方向とは逆方向へ前記乗りかごを出発させる乗場呼びの割当依頼と、
を行い、
前記乗りかごが停止階に到着したときに、
その乗りかごの到着階が、前記割当依頼で送信した前記出発階の何れかに一致するか否かの判断(A1)を行い、
判断(A1)にて前記出発階の何れかに一致すると判断した場合、一致した割当依頼を第1着目依頼として、その前記第1着目依頼で送信した前記出発階と前記行先階、又は前記行先方向を用いて、その出発階から行先階へ向かう方向又はその行先方向を前記ロボットの搬送方向とした上で、前記到着階からの前記乗りかごの出発方向が、その搬送方向に一致するか否かの判断(B1)を行い、
前記判断(B1)にて前記ロボットの搬送方向に一致すると判断した場合、前記第1着目依頼で送信した出発階が前記ロボットの乗車階に一致するか否かの判断(C1)を行い、
前記判断(C1)にて前記ロボットの乗車階に一致すると判断した場合には、戸開延長信号を前記エレベータの制御装置へ送信すると共に、前記乗りかごへの乗車を当該ロボットに指令し、その後、そのロボットの乗車が完了したときに乗車完了信号を前記エレベータの制御装置へ送信し、
前記判断(C1)にて前記ロボットの乗車階に一致しないと判断した場合には、前記戸開延長信号を前記エレベータの制御装置へ送信すると共に、前記乗りかごからの降車を当該ロボットに指令し、その後、そのロボットの降車が完了したときに、前記乗車完了信号をダミー信号として前記エレベータの制御装置へ送信する、ロボット管理装置。
続きを表示(約 4,300 文字)
【請求項2】
前記第1の乗場呼びの割当依頼として、前記ロボットの乗車階を出発階とし、且つ、前記利用者の出発階を行先階とする乗場呼びの割当依頼を行い、
前記第2の乗場呼びの割当依頼として、前記ロボットの目的階を出発階とし、且つ、その目的階に対して前記順方向とは逆方向に位置する階を行先階とする乗場呼びの割当依頼を行う、請求項1に記載のロボット管理装置。
【請求項3】
前記第2の乗場呼びの割当依頼として、前記ロボットの目的階を出発階とし、且つ、その目的階に対して前記逆方向に位置する第2の端階を行先階とする乗場呼びの割当依頼を行う、請求項2に記載のロボット管理装置。
【請求項4】
前記第1の乗場呼びの割当依頼として、前記ロボットの乗車階を出発階とし、且つ、前記利用者の出発階を行先階とする乗場呼びの割当依頼を行い、
前記第2の乗場呼びの割当依頼として、前記ロボットの目的階を出発階とし、且つ、前記順方向とは逆方向を当該出発階からの行先方向とする乗場呼びの割当依頼を行う、請求項1に記載のロボット管理装置。
【請求項5】
前記第1の乗場呼びの割当依頼として、前記ロボットの乗車階を出発階とし、且つ、前記第1の端階を行先階とする乗場呼びの割当依頼を行い、
前記第2の乗場呼びの割当依頼として、前記ロボットの目的階を出発階とし、且つ、前記順方向とは逆方向を当該出発階からの行先方向とする乗場呼びの割当依頼を行う、請求項1に記載のロボット管理装置。
【請求項6】
前記第1の乗場呼びの割当依頼と前記第2の乗場呼びの割当依頼とを、前記エレベータの制御装置に対して同時に行う、請求項1~5の何れかに記載のロボット管理装置。
【請求項7】
前記乗りかごが停止階に到着したときには、更に、
その乗りかごの到着階が、前記割当依頼で送信した前記行先階の何れかに一致するか否かの判断(A2)を行い、
判断(A2)にて前記行先階の何れかに一致すると判断した場合、一致した割当依頼を第2着目依頼として、その第2着目依頼で送信した前記出発階及び前記行先階を用いて、その出発階から行先階へ向かう方向を前記ロボットの搬送方向とした上で、前記到着階への前記乗りかごの到着方向が、その搬送方向に一致するか否かの判断(B2)を行い、
前記判断(B2)にて前記ロボットの搬送方向に一致すると判断した場合、前記第2着目依頼で送信した行先階が前記ロボットの目的階に一致するか否かの判断(C2)を行い、
前記判断(C2)にて前記ロボットの目的階に一致すると判断した場合には、前記戸開延長信号を前記エレベータの制御装置へ送信すると共に、前記乗りかごからの降車を当該ロボットに指令し、その後、そのロボットの降車が完了したときに降車完了信号を前記エレベータの制御装置へ送信し、
前記判断(C2)にて前記ロボットの目的階に一致しないと判断した場合には、前記戸開延長信号を前記エレベータの制御装置へ送信することなく、また、前記乗りかごからの降車を前記ロボットに指令することなく、前記降車完了信号をダミー信号として前記エレベータの制御装置へ送信する、請求項1~5の何れかに記載のロボット管理装置。
【請求項8】
エレベータが設置された建物内で利用されるロボットであって、自身が前記エレベータの乗りかごを利用して乗車階から目的階まで移動する場合に、自身についての乗場呼びの割当依頼を、その乗場呼びの割当てに必要な出発階と行先階又は行先方向とを前記エレベータの制御装置へ送信することで行うロボットであり、
自身が前記乗りかごを利用して前記乗車階から前記目的階まで移動する場合において、前記エレベータの制御装置にて利用者についての乗場呼びの割当てが行われている場合に、自身の乗車階及び目的階と、前記利用者についての乗場呼びが示す出発階及び行先方向とについて、
(1)自身の乗車階から目的階へ向かう順方向が前記利用者の行先方向と同方向であるという条件と、
(2)前記乗りかごが、前記利用者の出発階への到着前に自身の乗車階に到着するという条件と、
(3)自身の乗車階と目的階との間に前記利用者の出発階があるという条件と、
(4)自身の目的階が、乗車階に対して前記順方向に位置する第1の端階とは異なる階であるという条件と、
がそれぞれ満たされているか否かを判断し、
前記条件(1)~(4)が全て満たされていると判断した場合に、
自身についての第1の乗場呼びの割当依頼として、自身の乗車階を出発階とし、且つ、その乗車階から前記順方向へ前記乗りかごを出発させる乗場呼びの割当依頼と、
自身についての第2の乗場呼びの割当依頼として、自身の目的階を出発階とし、且つ、その目的階から前記順方向とは逆方向へ前記乗りかごを出発させる乗場呼びの割当依頼と、
を行い、
前記乗りかごが停止階に到着したときに、
その乗りかごの到着階が、前記割当依頼で送信した前記出発階の何れかに一致するか否かの判断(A1)を行い、
判断(A1)にて前記出発階の何れかに一致すると判断した場合、一致した割当依頼を第1着目依頼として、その第1着目依頼で送信した前記出発階と前記行先階、又は前記行先方向を用いて、その出発階から行先階へ向かう方向又はその行先方向を自身の搬送方向とした上で、前記到着階からの前記乗りかごの出発方向が、その搬送方向に一致するか否かの判断(B1)を行い、
前記判断(B1)にて自身の搬送方向に一致すると判断した場合、前記第1着目依頼で送信した出発階が自身の乗車階に一致するか否かの判断(C1)を行い、
前記判断(C1)にて自身の乗車階に一致すると判断した場合には、戸開延長信号を前記エレベータの制御装置へ送信すると共に、前記乗りかごへの乗車を実行し、その後、乗車が完了したときに乗車完了信号を前記エレベータの制御装置へ送信し、
前記判断(C1)にて自身の乗車階に一致しないと判断した場合には、前記戸開延長信号を前記エレベータの制御装置へ送信すると共に、前記乗りかごからの降車を実行し、その後、降車が完了したときに、前記乗車完了信号をダミー信号として前記エレベータの制御装置へ送信する、ロボット。
【請求項9】
エレベータが設置された建物内で利用されるロボット、又は、当該ロボットを管理するロボット管理装置に、判断ステップと、依頼ステップと、乗降指令ステップと、を実行させるプログラムであり、
前記判断ステップでは、
前記エレベータの乗りかごを利用してロボットを乗車階から目的階まで移動させる場合において、そのエレベータの制御装置にて利用者についての乗場呼びの割当てが行われている場合に、前記ロボットの乗車階及び前記目的階と、前記利用者についての乗場呼びが示す出発階及び行先方向とについて、
(1)前記ロボットの乗車階から当該ロボットの目的階へ向かう順方向が前記利用者の行先方向と同方向であるという条件と、
(2)前記乗りかごが、前記利用者の出発階への到着前に前記ロボットの乗車階に到着するという条件と、
(3)前記ロボットの乗車階と当該ロボットの目的階との間に前記利用者の出発階があるという条件と、
(4)前記ロボットの目的階が、当該ロボットの乗車階に対して前記順方向に位置する第1の端階とは異なる階であるという条件と、
がそれぞれ満たされているか否かを判断する、ということを実行させ、
前記依頼ステップでは、
前記乗りかごを利用して前記ロボットを前記乗車階から前記目的階まで移動させる場合に、当該ロボットについての乗場呼びの割当依頼を、その乗場呼びの割当てに必要な出発階と行先階又は行先方向とを前記エレベータの制御装置へ送信することで行う、ということを実行させ、
前記判断ステップにて前記条件(1)~(4)が全て満たされていると判断した場合には、
前記ロボットについての第1の乗場呼びの割当依頼として、当該ロボットの乗車階を出発階とし、且つ、その乗車階から前記順方向へ前記乗りかごを出発させる乗場呼びの割当依頼と、
前記ロボットについての第2の乗場呼びの割当依頼として、当該ロボットの目的階を出発階とし、且つ、その目的階から前記順方向とは逆方向へ前記乗りかごを出発させる乗場呼びの割当依頼と、
を行う、ということを実行させ、
前記乗降指令ステップでは、
前記乗りかごが停止階に到着したときに、
その乗りかごの到着階が、前記割当依頼で送信した前記出発階の何れかに一致するか否かの判断(A1)を行い、
判断(A1)にて前記出発階の何れかに一致すると判断した場合、一致した割当依頼を第1着目依頼として、その第1着目依頼で送信した前記出発階と前記行先階、又は前記行先方向を用いて、その出発階から行先階へ向かう方向又はその行先方向を前記ロボットの搬送方向とした上で、前記到着階からの前記乗りかごの出発方向が、その搬送方向に一致するか否かの判断(B1)を行う、ということを実行させ、更に、
前記判断(B1)にて前記ロボットの搬送方向に一致すると判断した場合、前記第1着目依頼で送信した出発階が前記ロボットの乗車階に一致するか否かの判断(C1)を行い、
前記判断(C1)にて前記ロボットの乗車階に一致すると判断した場合には、戸開延長信号を前記エレベータの制御装置へ送信すると共に、前記乗りかごへの乗車を当該ロボットに指令し、その後、そのロボットの乗車が完了したときに乗車完了信号を前記エレベータの制御装置へ送信し、
前記判断(C1)にて前記ロボットの乗車階に一致しないと判断した場合には、前記戸開延長信号を前記エレベータの制御装置へ送信すると共に、前記乗りかごからの降車を当該ロボットに指令し、その後、そのロボットの降車が完了したときに、前記乗車完了信号をダミー信号として前記エレベータの制御装置へ送信する、ということを実行させる、プログラム。
発明の詳細な説明
【技術分野】
【0001】
本発明は、エレベータを利用するロボットの制御技術に関する。
続きを表示(約 2,900 文字)
【背景技術】
【0002】
近年、建物内での様々な作業(掃除、監視、搬送など)にロボットが活用されることが多くなってきている(例えば、特許文献1参照)。それに伴い、建物内におけるロボットの階間移動にエレベータが利用されることが増えてきており、利用者とロボットの両方がエレベータを利用するケースが増えてきている。
【先行技術文献】
【特許文献】
【0003】
特許第7380793号公報
【発明の概要】
【発明が解決しようとする課題】
【0004】
一方、ロボットは、利用者に比して乗降に時間を要する。このため、利用者と共にロボットがエレベータを利用する環境下において、利用者の搬送中に途中の階でロボットが乗車してくる場合や、利用者の搬送中に途中の階でロボットが降車していく場合には、利用者は、ロボットの乗降が完了するまで乗りかご内で待たされることになる。このように、利用者とロボットとが乗りかごに同乗する場合には、利用者は、自身の行先階に到着するまでの乗車時間が長期化することを強いられるおそれがある。
【0005】
そこで本発明の目的は、利用者とロボットとが乗りかごに同乗する場合に生じ得る利用者の乗車時間の長期化を、エレベータから自律したロボット側の制御で緩和できるようにすることである。
【課題を解決するための手段】
【0006】
本発明に係るロボット管理装置は、エレベータが設置された建物内で利用されるロボットを管理する装置であって、エレベータの乗りかごを利用してロボットを乗車階から目的階まで移動させる場合に、当該ロボットについての乗場呼びの割当依頼を、その乗場呼びの割当てに必要な出発階と行先階又は行先方向とをエレベータの制御装置へ送信することで行うロボット管理装置であり、次のような制御処理を行う(態様1-1)。ロボット管理装置は、エレベータの乗りかごを利用してロボットを乗車階から目的階まで移動させる場合において、そのエレベータの制御装置にて利用者についての乗場呼びの割当てが行われている場合に、ロボットの乗車階及び目的階と、利用者についての乗場呼びが示す出発階及び行先方向とについて、(1)ロボットの乗車階から当該ロボットの目的階へ向かう順方向が利用者の行先方向と同方向であるという条件と、(2)乗りかごが、利用者の出発階への到着前にロボットの乗車階に到着するという条件と、(3)ロボットの乗車階と当該ロボットの目的階との間に利用者の出発階があるという条件と、(4)ロボットの目的階が、当該ロボットの乗車階に対して順方向に位置する第1の端階とは異なる階であるという条件と、がそれぞれ満たされているか否かを判断する。そして、ロボット管理装置は、条件(1)~(4)が全て満たされていると判断した場合に、ロボットについての第1の乗場呼びの割当依頼として、当該ロボットの乗車階を出発階とし、且つ、その乗車階から順方向へ乗りかごを出発させる乗場呼びの割当依頼と、ロボットについての第2の乗場呼びの割当依頼として、当該ロボットの目的階を出発階とし、且つ、その目的階から順方向とは逆方向へ乗りかごを出発させる乗場呼びの割当依頼と、を行う。
【0007】
ロボットについての乗場呼びの割当依頼として、当該ロボットの乗車階及び目的階をそれぞれ出発階及び行先階とする1つの乗場呼びの割当てを依頼する、といった通常の乗場呼びの割当依頼を行ったとすると、条件(1)~(4)が満たされている場合には、利用者は、乗りかごへの乗車後、自身の降車階とロボットの降車階(=目的階)との位置関係によっては、降車するまでの途中の階でロボットが降車していくことを経験しなければならない、といった状況が生じ得る。そのような状況が生じ得る場合に、上記態様1-1によれば、上記のような2つの割当依頼(第1の乗場呼びの割当依頼と第2の乗場呼びの割当依頼)によってロボットを乗車階から目的階へ乗りかごで移動させることにより、その乗りかごを、当該ロボットの目的階を通過させて順方向へ移動させることが可能になる。換言すれば、乗りかごが順方向に移動しているときには、その乗りかごを、ロボットの目的階には停止させずに利用者の降車階にだけ停止させることが可能になる。よって、ロボットよりも先に利用者を降車させることが可能になる。これにより、利用者は、乗りかごでの移動中にロボットが降車していくことを経験しなくてよくなる。その結果として、利用者の乗車時間の長期化を緩和することが可能になる。
【0008】
また、上記態様1-1によれば、第2の乗場呼びの割当依頼を行うことにより、ロボットの目的階を乗りかごが通過した後であっても、その乗りかごが逆方向へ移動するときに、当該乗りかごを、ロボットの目的階に逆方向で停止させることができるようになる。
【0009】
上記態様1-1に係るロボット管理装置は、更に、次のような構成を備える(態様1-2)。ロボット管理装置は、乗りかごが停止階に到着したときに、その乗りかごの到着階が、割当依頼で送信した出発階の何れかに一致するか否かの判断(A1)を行い、その判断(A1)にて出発階の何れかに一致すると判断した場合、一致した割当依頼を第1着目依頼として、その第1着目依頼で送信した出発階と行先階、又は行先方向を用いて、その出発階から行先階へ向かう方向又はその行先方向をロボットの搬送方向とした上で、上記到着階からの乗りかごの出発方向が、その搬送方向に一致するか否かの判断(B1)を行う。更に、ロボット管理装置は、判断(B1)にてロボットの搬送方向に一致すると判断した場合、第1着目依頼で送信した出発階がロボットの乗車階に一致するか否かの判断(C1)を行う。そして、ロボット管理装置は、判断(C1)にてロボットの乗車階に一致すると判断した場合には、戸開延長信号をエレベータの制御装置へ送信すると共に、乗りかごへの乗車を当該ロボットに指令し、その後、そのロボットの乗車が完了したときに乗車完了信号をエレベータの制御装置へ送信する。一方、ロボット管理装置は、判断(C1)にてロボットの乗車階に一致しないと判断した場合には、戸開延長信号をエレベータの制御装置へ送信すると共に、乗りかごからの降車を当該ロボットに指令し、その後、そのロボットの降車が完了したときに、乗車完了信号をダミー信号としてエレベータの制御装置へ送信する。
【0010】
上記態様1-2によれば、ロボット管理装置自身が、判断(A1)及び(B1)を行うことにより、ロボットについての乗場呼び(通常の乗場呼び、第1の乗場呼び、第2の乗場呼びの何れか)に応答して乗りかごが出発階に到着したことを、エレベータの制御装置からの通知なしに特定できる。
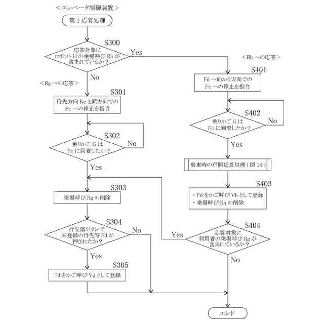
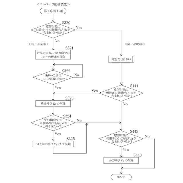
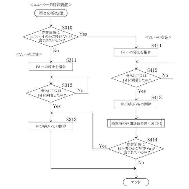
(【0011】以降は省略されています)
この特許をJ-PlatPat(特許庁公式サイト)で参照する
関連特許
フジテック株式会社
マンコンベヤ
2日前
フジテック株式会社
金属棒曲げ工具
3日前
フジテック株式会社
情報提供システム
3日前
フジテック株式会社
マンコンベヤシステム
8日前
フジテック株式会社
カスタマイズシステム
8日前
フジテック株式会社
マンコンベヤ欄干装置及びマンコンベヤ
2日前
フジテック株式会社
エレベーターのかご照明装置の調整方法
3日前
フジテック株式会社
ロボット管理装置、ロボット、及びプログラム
1日前
フジテック株式会社
ロボット管理装置、ロボット、及びプログラム
4日前
フジテック株式会社
ロボット管理装置、ロボット、及びプログラム
4日前
フジテック株式会社
ロボット管理装置、ロボット、及びプログラム
3日前
フジテック株式会社
ロボット管理装置、ロボット、及びプログラム
4日前
フジテック株式会社
ロボット管理装置、ロボット、及びプログラム
1日前
フジテック株式会社
ロボット管理装置、ロボット、及びプログラム
2日前
フジテック株式会社
表示装置、表示制御方法、および、表示制御プログラム
2日前
フジテック株式会社
表示装置、表示制御方法、および、表示制御プログラム
8日前
フジテック株式会社
乗客コンベアのシャフトの異常検出装置及びエレベーター
4日前
フジテック株式会社
マンコンベヤシステム
8日前
フジテック株式会社
エレベータ装置及びエレベータ装置の戸開走行保護装置健全性確認方法
2日前
フジテック株式会社
エレベータ施工方法、表示装置、表示制御方法、および、表示制御プログラム
8日前
個人
生産早送り装置
2か月前
株式会社豊田自動織機
産業車両
1か月前
株式会社FUJI
工作機械
3か月前
株式会社カネカ
製造システム
1か月前
株式会社ダイヘン
移動体
3か月前
オムロン株式会社
スレーブ装置
12日前
ローム株式会社
基準電圧源
1か月前
株式会社FUJI
加工機械ライン
2か月前
株式会社熊谷組
障害物の検出方法
3日前
愛知製鋼株式会社
車両用システム
1か月前
新電元工業株式会社
作業用ロボット
1日前
個人
作業車両自動化システム
2か月前
豊田合成株式会社
機器制御装置
8日前
ローム株式会社
半導体集積回路
4か月前
愛知製鋼株式会社
目標軌跡の設定方法
2か月前
トヨタ自動車株式会社
生産管理システム
2か月前
続きを見る
他の特許を見る