TOP
|
特許
|
意匠
|
商標
特許ウォッチ
Twitter
他の特許を見る
公開番号
2025150043
公報種別
公開特許公報(A)
公開日
2025-10-09
出願番号
2024050703
出願日
2024-03-27
発明の名称
マンコンベヤ
出願人
フジテック株式会社
代理人
個人
,
個人
主分類
B66B
29/04 20060101AFI20251002BHJP(巻上装置;揚重装置;牽引装置)
要約
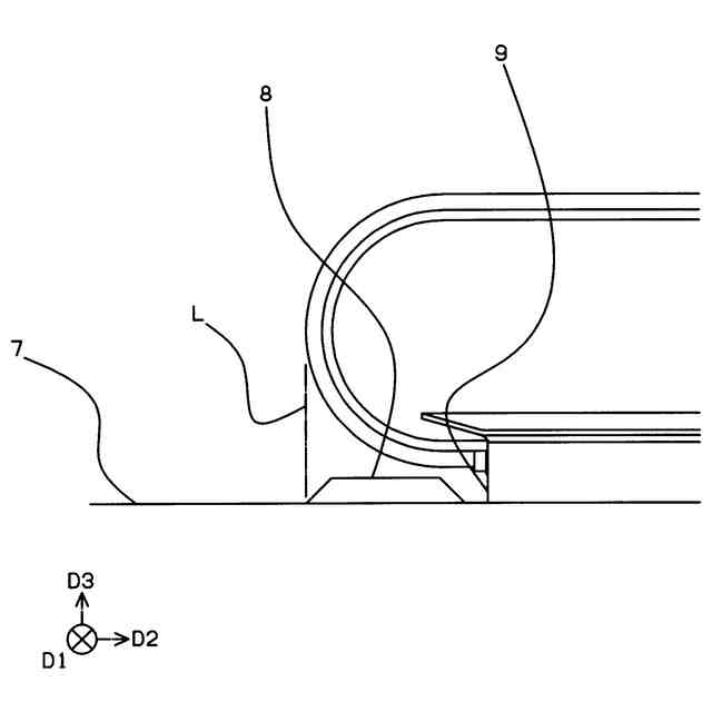
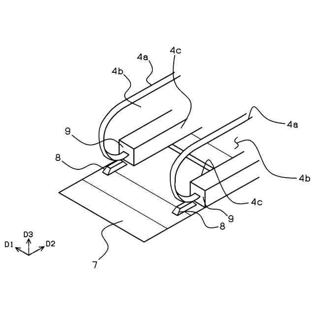
【課題】 マンコンベヤの降り口において、手摺ベルトの引き込み口に向かって異物が引き込まれるのを低減すると共に、乗客の歩行を妨げない阻止体を備えたマンコンベヤを提供すること。
【解決手段】 マンコンベヤ1は、欄干部4周縁に沿って走行する無端環状の手摺ベルト4aと、手摺ベルト4aがトラス2内へ進入する乗降部1aの欄干部4基部へ設けられたインレット9と、乗降部1aに床プレート7を備え、平面視において、手摺ベルト4aの幅方向の投影面内に床プレート7から立設する阻止体8を備える。
【選択図】 図2
特許請求の範囲
【請求項1】
欄干部の周縁に沿って走行する無端環状の手摺ベルトと、
前記手摺ベルトが構造体内へ進入する乗降部の前記欄干部の基部へ設けられたインレットと、
前記乗降部に床プレートを備え、
平面視において、前記手摺ベルトの幅方向の投影面内に床プレートから立設する阻止体を備える
マンコンベヤ。
続きを表示(約 490 文字)
【請求項2】
前記阻止体の幅方向の幅は、平面視において前記手摺ベルトの幅方向の幅と一致する
請求項1に記載のマンコンベヤ。
【請求項3】
前記阻止体は、少なくとも前方に前方傾斜面を備える
請求項1又は請求項2に記載のマンコンベヤ。
【請求項4】
前記阻止体は、前記前方傾斜面が逆R面である
請求項3のマンコンベヤ。
【請求項5】
前記阻止体は、平面視において前方に設けられた前記前方傾斜面の下端が前記手摺ベルトの前方端部と一致する
請求項3に記載のマンコンベヤ。
【請求項6】
前記阻止体は、平面視において前方に設けられた前記前方傾斜面の上端が前記手摺ベルトの前方端部と一致する
請求項3に記載のマンコンベヤ。
【請求項7】
前記阻止体は、幅方向の端部に幅方向傾斜面を備える
請求項1又は請求項2に記載のマンコンベヤ。
【請求項8】
前記幅方向傾斜面は、平面視において凹状に形成される
請求項7に記載のマンコンベヤ。
発明の詳細な説明
【技術分野】
【0001】
本発明は、マンコンベヤに関する。
続きを表示(約 1,900 文字)
【背景技術】
【0002】
マンコンベヤは、搬送部の両端に設けられた一対の欄干本体部の周縁を手摺ベルトが走行する。乗降部の降り口においてニューエル部分で反転した手摺ベルトがインレット内を通して、構造体内部に進入する。
インレットの手摺ベルトが進入する部分には、異物が引き込まれた際、マンコンベヤの
走行を停止させるインレットスイッチが設けられている。
ところで、マンコンベヤから降りようとする乗客のスーツケースなどの手荷物や誤って誤進入する乗客の手荷物が手摺ベルトと接触し、手摺ベルト下部に引き込まれ、インレットスイッチを作用させて、マンコンベヤを停止させることがある。
これは、手摺ベルトがグリップ力を向上させるために摩擦力の大きい素材で構成されることが原因の一つと考えられる。
【0003】
このような問題を解決するために、手摺ベルトの下方かつインレット前方に欄干内側から欄干外側に亘る阻止体を設けたマンコンベヤが知られている(例えば、特許文献1)。
ところで、従来の阻止体は欄干内側に阻止体を設けているため、例えば、手荷物を持たない乗客がマンコンベヤから降りるとき、阻止体に躓いて転倒するおそれがある。
また、インレットスイッチの前方かつ欄干の内側で、インレット上部から乗場側に突出した庇の下に阻止体を設けたマンコンベヤが知られている(例えば、特許文献2)。
しかしながら、この場合、乗客の歩行の邪魔にはならないものの、阻止体がインレットスイッチの直前に設けられ、異物が手摺ベルトに引き込まれた後にインレットスイッチの直前で阻止体により異物が排除されるため、異物が引き込まれるのを防止するのに十分ではない。
【先行技術文献】
【特許文献】
【0004】
特開2002-128450号公報
特開2005-212920号公報
【発明の概要】
【発明が解決しようとする課題】
【0005】
そこで、課題は、マンコンベヤの降り口において、手摺ベルトの引き込み口に向かって異物が引き込まれるのを低減すると共に、乗客の歩行を妨げない阻止体を備えたマンコンベヤを提供することである。
【課題を解決するための手段】
【0006】
マンコンベヤは、欄干部の周縁に沿って走行する無端環状の手摺ベルトと、前記手摺ベルトが構造体内へ進入する乗降部の前記欄干部の基部へ設けられたインレットと、前記乗降部に床プレートを備え、平面視において、前記手摺ベルトの幅方向の投影面内に床プレートから立設する阻止体を備える。
【図面の簡単な説明】
【0007】
一実施形態に係るマンコンベヤの概要図
同実施形態に係るマンコンベヤの乗降部の斜視図
同実施形態に係るマンコンベヤの乗降部の平面図
同実施形態に係るマンコンベヤの乗降部の第1横方向視図
(a)は、同実施形態に係る阻止体の斜視図、(b)は、同実施形態に係る阻止体の平面図
第1変形例に係るマンコンベヤの乗降部の第1横方向視図
(a)は、第2変形例に係る阻止体の斜視図、(b)は、第2変形例に係る阻止体の平面図
(a)は、第3変形例に係る阻止体の斜視図、(b)は、第3変形例に係る阻止体の平面図
【発明を実施するための形態】
【0008】
各図面において、構成要素の寸法は、例えば、理解を容易にするために、実際の寸法に対して拡大、縮小して示す場合があり、また、各図面の間での寸法比は、一致していない場合がある。なお、各図面において、例えば、理解を容易にするために、構成要素の一部を省略して示す場合がある。
【0009】
第1、第2等の序数を含む用語は、多様な構成要素を説明するために用いられるが、この用語は、一つの構成要素を他の構成要素から区別する目的でのみ用いられ、構成要素は、この用語によって特に限定されるものではない。なお、序数を含む構成要素の個数は、特に限定されず、例えば、一つでもよい場合がある。また、以下の明細書及び図面で用いられる序数は、特許請求の範囲に記載された序数と異なる場合がある。
【0010】
以下、マンコンベヤにおける一実施形態について、図1~図5を参照しながら説明する。なお、以下の実施形態は、マンコンベヤの構成等の理解を助けるために例示するものであり、マンコンベヤの構成を限定するものではない。
(【0011】以降は省略されています)
この特許をJ-PlatPat(特許庁公式サイト)で参照する
関連特許
フジテック株式会社
エレベータ
22日前
フジテック株式会社
エレベータ
12日前
フジテック株式会社
エレベータ
22日前
フジテック株式会社
マンコンベヤ
12日前
フジテック株式会社
マンコンベヤ
12日前
フジテック株式会社
マンコンベヤ
16日前
フジテック株式会社
マンコンベヤ
2日前
フジテック株式会社
金属棒曲げ工具
3日前
フジテック株式会社
情報提供システム
3日前
フジテック株式会社
エレベータシステム
12日前
フジテック株式会社
行先階登録システム
9日前
フジテック株式会社
カスタマイズシステム
8日前
フジテック株式会社
マンコンベヤシステム
8日前
フジテック株式会社
情報処理システム、制御方法
12日前
フジテック株式会社
エレベータのかご及びエレベータ
16日前
フジテック株式会社
エレベーターのかご照明装置の調整方法
3日前
フジテック株式会社
マンコンベヤ欄干装置及びマンコンベヤ
2日前
フジテック株式会社
マンコンベヤ及びマンコンベヤの製造方法
16日前
フジテック株式会社
ロボット管理装置、ロボット、及びプログラム
4日前
フジテック株式会社
ロボット管理装置、ロボット、及びプログラム
2日前
フジテック株式会社
ロボット管理装置、ロボット、及びプログラム
4日前
フジテック株式会社
ロボット管理装置、ロボット、及びプログラム
4日前
フジテック株式会社
エレベータのかごドア開閉装置及びエレベータ
15日前
フジテック株式会社
ロボット管理装置、ロボット、及びプログラム
1日前
フジテック株式会社
ロボット管理装置、ロボット、及びプログラム
15日前
フジテック株式会社
ロボット管理装置、ロボット、及びプログラム
15日前
フジテック株式会社
ロボット管理装置、ロボット、及びプログラム
15日前
フジテック株式会社
ロボット管理装置、ロボット、及びプログラム
3日前
フジテック株式会社
ロボット管理装置、ロボット、及びプログラム
1日前
フジテック株式会社
マンコンベヤ手摺ベルト用回転体及びマンコンベヤ
22日前
フジテック株式会社
表示装置、表示制御方法、および、表示制御プログラム
8日前
フジテック株式会社
表示装置、表示制御方法、および、表示制御プログラム
8日前
フジテック株式会社
表示装置、表示制御方法、および、表示制御プログラム
2日前
フジテック株式会社
表示装置、表示制御方法、および、表示制御プログラム
8日前
フジテック株式会社
乗客コンベアのシャフトの異常検出装置及びエレベーター
4日前
フジテック株式会社
マンコンベヤ
12日前
続きを見る
他の特許を見る