TOP
|
特許
|
意匠
|
商標
特許ウォッチ
Twitter
他の特許を見る
10個以上の画像は省略されています。
公開番号
2025153975
公報種別
公開特許公報(A)
公開日
2025-10-10
出願番号
2024056720
出願日
2024-03-29
発明の名称
ロボット管理装置、ロボット、及びプログラム
出願人
フジテック株式会社
代理人
弁理士法人 楓国際特許事務所
主分類
G05D
1/435 20240101AFI20251002BHJP(制御;調整)
要約
【課題】利用者が自身で登録したかご呼びを削除したときの影響を受けないロボットの階間移動を可能にする。
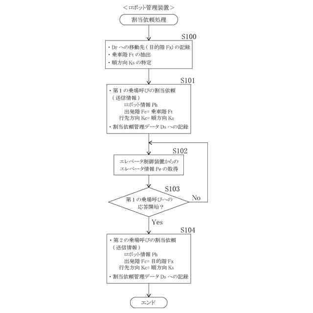
【解決手段】ロボット管理装置は、エレベータが設置された建物内で利用されるロボットを管理する装置であって、エレベータの乗りかごを利用してロボットを乗車階から目的階まで移動させる場合に、当該ロボットについての乗場呼びの割当依頼を、出発階とその階からの行先方向とをエレベータの制御装置へ送信することで行うロボット管理装置であり、ロボットについての第1の乗場呼びの割当依頼として、当該ロボットの乗車階を出発階とする乗場呼びの割当依頼を行い、そのロボットについての第2の乗場呼びの割当依頼として、当該ロボットの目的階を出発階とする乗場呼びの割当依頼を行う。
【選択図】図1
特許請求の範囲
【請求項1】
エレベータが設置された建物内で利用されるロボットを管理する装置であって、前記エレベータの乗りかごを利用してロボットを乗車階から目的階まで移動させる場合に、当該ロボットについての乗場呼びの割当依頼を、出発階とその階からの行先方向とを前記エレベータの制御装置へ送信することで行うロボット管理装置であり、
前記ロボットについての第1の乗場呼びの割当依頼として、当該ロボットの乗車階を出発階とする乗場呼びの割当依頼を行い、
前記ロボットについての第2の乗場呼びの割当依頼として、当該ロボットの目的階を出発階とする乗場呼びの割当依頼を行う、ロボット管理装置。
続きを表示(約 2,900 文字)
【請求項2】
前記乗りかごが停止階に到着したときに、
その乗りかごの到着階が、前記割当依頼で送信した前記出発階の何れかに一致するか否かの判断(A)を行い、
判断(A)にて前記出発階の何れかに一致すると判断した場合、一致した割当依頼を着目依頼として、前記到着階からの前記乗りかごの出発方向が、その着目依頼で送信した前記行先方向に一致するか否かの判断(B)を行い、
前記判断(B)にて前記行先方向に一致すると判断した場合、前記着目依頼で送信した出発階が前記ロボットの乗車階に一致するか否かの判断(C1)を行い、
前記判断(C1)にて前記ロボットの乗車階に一致すると判断した場合には、戸開延長信号を前記エレベータの制御装置へ送信すると共に、前記乗りかごへの乗車を当該ロボットに指令し、その後、そのロボットの乗車が完了したときに乗降完了信号を前記エレベータの制御装置へ送信し、
前記判断(C1)にて前記ロボットの乗車階に一致しないと判断した場合には、前記戸開延長信号を前記エレベータの制御装置へ送信すると共に、前記乗りかごからの降車を当該ロボットに指令し、その後、そのロボットの降車が完了したときに前記乗降完了信号を前記エレベータの制御装置へ送信する、請求項1に記載のロボット管理装置。
【請求項3】
前記第1の乗場呼びの割当依頼として、前記ロボットの乗車階を出発階とし、且つ、そのロボットの乗車階から当該ロボットの目的階へ向かう順方向を当該出発階からの行先方向とする乗場呼びの割当依頼、又は、前記ロボットの乗車階を出発階とし、且つ、前記順方向とは逆方向を当該出発階からの行先方向とする乗場呼びの割当依頼、を行い、
前記エレベータの制御装置による前記第1の乗場呼びへの応答開始後に、前記第2の乗場呼びの割当依頼として、前記ロボットの目的階を出発階とし、且つ、前記順方向を当該出発階からの行先方向とする乗場呼びの割当依頼、又は、前記ロボットの目的階を出発階とし、且つ、前記順方向とは逆方向を当該出発階からの行先方向とする乗場呼びの割当依頼、を行う、請求項1又は2に記載のロボット管理装置。
【請求項4】
前記乗りかごを利用して前記ロボットを前記乗車階から前記目的階まで移動させる場合において、前記エレベータの制御装置にて利用者についての乗場呼びの割当てが行われている場合に、前記ロボットの乗車階及び目的階と、前記利用者についての乗場呼びが示す出発階及び行先方向とについて、
(1)前記ロボットの乗車階から当該ロボットの目的階へ向かう順方向が前記利用者の行先方向と同方向であるという条件と、
(2)前記利用者の出発階と前記ロボットの目的階との間に当該ロボットの乗車階があるという条件と、
(3)前記乗りかごの現在位置が、前記ロボットの乗車階に対して当該ロボットの目的階側の位置であるという条件と、
がそれぞれ満たされているか否かを判断し、
前記条件(1)~(3)が全て満たされていると判断した場合に、
前記第1の乗場呼びの割当依頼として、前記ロボットの乗車階を出発階とし、且つ、前記順方向とは逆方向を当該出発階からの行先方向とする乗場呼びの割当依頼を行う、請求項1又は2に記載のロボット管理装置。
【請求項5】
前記エレベータの制御装置による前記第1の乗場呼びへの応答開始後に、前記第2の乗場呼びの割当依頼として、前記ロボットの目的階を出発階とし、且つ、前記順方向を当該出発階からの行先方向とする乗場呼びの割当依頼を行う、請求項4に記載のロボット管理装置。
【請求項6】
前記エレベータの制御装置による前記第1の乗場呼びへの応答開始後に、前記第2の乗場呼びの割当依頼として、前記ロボットの目的階を出発階とし、且つ、前記順方向とは逆方向を当該出発階からの行先方向とする乗場呼びの割当依頼を行う、請求項4に記載のロボット管理装置。
【請求項7】
前記乗りかごを利用して前記ロボットを前記乗車階から前記目的階まで移動させる場合において、前記エレベータの制御装置にて利用者についての乗場呼びの割当てが行われている場合に、前記ロボットの乗車階及び目的階と、前記利用者についての乗場呼びが示す出発階及び行先方向とについて、
(1)前記ロボットの乗車階から当該ロボットの目的階へ向かう順方向が前記利用者の行先方向と同方向であるという条件と、
(2)前記乗りかごが、前記利用者の出発階への到着前に前記ロボットの乗車階に到着するという条件と、
(3)前記ロボットの乗車階と当該ロボットの目的階との間に前記利用者の出発階があるという条件と、
(4)前記ロボットの目的階が、当該ロボットの乗車階に対して前記順方向に位置する端階とは異なる階であるという条件と、
がそれぞれ満たされているか否かを判断し、
前記条件(1)~(4)が全て満たされていると判断した場合に、
前記第1の乗場呼びの割当依頼として、前記ロボットの乗車階を出発階とし、且つ、前記順方向を当該出発階からの行先方向とする乗場呼びの割当依頼を行い、
前記第2の乗場呼びの割当依頼として、前記ロボットの目的階を出発階とし、且つ、前記順方向とは逆方向を当該出発階からの行先方向とする乗場呼びの割当依頼を行う、請求項1又は2に記載のロボット管理装置。
【請求項8】
エレベータが設置された建物内で利用されるロボットであって、自身が前記エレベータの乗りかごを利用して乗車階から目的階まで移動する場合に、自身についての乗場呼びの割当依頼を、出発階とその階からの行先方向とを前記エレベータの制御装置へ送信することで行うロボットであり、
自身についての第1の乗場呼びの割当依頼として、自身の乗車階を出発階とする乗場呼びの割当依頼を行い、
自身についての第2の乗場呼びの割当依頼として、自身の目的階を出発階とする乗場呼びの割当依頼を行う、ロボット。
【請求項9】
エレベータが設置された建物内で利用されるロボット、又は、当該ロボットを管理するロボット管理装置に、依頼ステップを実行させるプログラムであり、
前記依頼ステップでは、
前記エレベータの乗りかごを利用してロボットを乗車階から目的階まで移動させる場合に、当該ロボットについての乗場呼びの割当依頼を、出発階とその階からの行先方向とを前記エレベータの制御装置へ送信することで行う、ということを実行させ、
前記ロボットについての第1の乗場呼びの割当依頼として、当該ロボットの乗車階を出発階とする乗場呼びの割当依頼を行い、
前記ロボットについての第2の乗場呼びの割当依頼として、当該ロボットの目的階を出発階とする乗場呼びの割当依頼を行う、ということを実行させる、プログラム。
発明の詳細な説明
【技術分野】
【0001】
本発明は、エレベータを利用するロボットの制御技術に関する。
続きを表示(約 2,400 文字)
【背景技術】
【0002】
近年、建物内での様々な作業(掃除、監視、搬送など)にロボットが活用されることが多くなってきている(例えば、特許文献1参照)。それに伴い、建物内におけるロボットの階間移動にエレベータが利用されることが増えてきており、利用者とロボットの両方がエレベータを利用するケースが増えてきている。
【先行技術文献】
【特許文献】
【0003】
特許第7380793号公報
【発明の概要】
【発明が解決しようとする課題】
【0004】
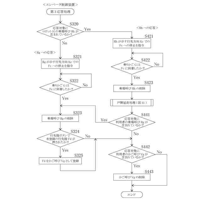
エレベータには、乗場に行先方向ボタン(上方向ボタンと下方向ボタン)が設置され、乗りかご内に行先階ボタンが設置されたものが多く存在する。このようなエレベータでは、乗場で利用者が行先方向ボタンを押すことで自身の行先方向を指定し、到着した乗りかごに乗車してから、当該乗りかご内で行先階ボタンを押すことで自身の行先階を指定することになる。これにより、利用者によって行先階ボタンで指定された行先階が、かご呼びとして登録されることになる。一方、利用者は、自身の行先階とは異なる階のボタンを誤って押してしまうことや、ボタンを押して指定した行先階を変更したいことがある。そのような場合、不要なかご呼びが登録されてしまい、誰も降車しない階に乗りかごが停止してしまうことになる。そこで、エレベータには、利用者が、一度押した行先階ボタンを再度押すことで、登録されたかご呼びを削除できるものが存在する。
【0005】
その一方で、エレベータを利用者してロボットを乗車階から目的階まで移動させる場合には、そのロボットの乗車階及び目的階をそれぞれ出発階及び行先階とする乗場呼びが乗りかごに割り当てられる必要があった。そして、当該乗場呼びが示す出発階に乗りかごが到着した場合に、その乗場呼びが示す行先階が、かご呼びとして登録されていた。従って、そのようなロボットについてのかご呼びの登録が、利用者が行先階ボタンを押した後のタイミングで行われた場合には、その利用者が登録したかご呼びがそのまま、ロボットについてのかご呼びとしても用いられることがあった。しかし、利用者は、そのことに気づくことはできず、一度押した行先階ボタンを再度押すことにより、自身で登録したかご呼びを削除することがある。そして、そのようなかご呼びの削除により、ロボットにとっては必要なかご呼びが削除されてしまうことがあった。
【0006】
そこで本発明の目的は、利用者が自身で登録したかご呼びを削除したときの影響を受けないロボットの階間移動を可能にすることである。
【課題を解決するための手段】
【0007】
本発明に係るロボット管理装置は、エレベータが設置された建物内で利用されるロボットを管理する装置であって、エレベータの乗りかごを利用してロボットを乗車階から目的階まで移動させる場合に、当該ロボットについての乗場呼びの割当依頼を、出発階とその階からの行先方向とをエレベータの制御装置へ送信することで行うロボット管理装置であり、ロボットについての第1の乗場呼びの割当依頼として、当該ロボットの乗車階を出発階とする乗場呼びの割当依頼を行い、そのロボットについての第2の乗場呼びの割当依頼として、当該ロボットの目的階を出発階とする乗場呼びの割当依頼を行う(態様1)。
【0008】
上記態様1によれば、出発階とその階からの行先方向とをロボットについての乗場呼びとしているため、そのような乗場呼びの割当依頼をエレベータの制御装置に対して行うことにより、その乗場呼びに対応するかご呼びを発生させずに、当該乗場呼びが示す出発階に乗りかごを停止させることが可能になる。従って、第1の乗場呼びの割当依頼によれば、ロボットの乗車階を出発階とすることにより、その第1の乗場呼びに対応するかご呼びを発生させずに、ロボットの乗車階に乗りかごを停止させることが可能になる。
【0009】
しかも、そのロボットの乗車階には、乗りかごは、運行区間内を周回移動する過程で、第1の乗場呼びが示す行先方向で停止する(換言すれば、その行先方向を出発方向として停止する)。従って、ロボットの乗車階への乗りかごの停止時に、その乗りかごに対するかご呼びの登録がなくても、当該乗車階とは異なる階を出発階とする別の乗場呼びが当該乗りかごに割り当てられていれば、乗りかごは、その別の乗場呼びが示す出発階へ移動するために、第1の乗場呼びが示す行先方向でロボットの乗車階から出発することになる。そこで、そのような別の乗場呼びとして、出発階をロボットの目的階とする第2の乗場呼びの割当依頼をエレベータの制御装置に対して行うことにより、第1の乗場呼びが示す行先方向でロボットの乗車階から出発した乗りかごを、その第2の乗場呼びについてもそれに対応するかご呼びを発生させずに、ロボットの目的階に、当該第2の乗場呼びが示す行先方向で停止させることが可能になる。
【0010】
このように、ロボットの乗車階から目的階まで、かご呼びを発生させずに乗りかごを移動させることが可能になる。しかも、ロボットの乗車階からは、第1の乗場呼びが示す行先方向で乗りかごを出発させ、ロボットの目的階には、第2の乗場呼びが示す行先方向で乗りかごを到着させることが可能になる。よって、その乗りかごにロボットを乗車階で乗車させ、その後、当該乗りかごからロボットを目的階で降車させることにより、ロボットを、かご呼びの登録なしに、第1及び第2の乗場呼びが示す行先方向で決まる搬送方向で乗車階から目的階まで移動させることが可能になる。
(【0011】以降は省略されています)
この特許をJ-PlatPat(特許庁公式サイト)で参照する
関連特許
フジテック株式会社
マンコンベヤ
12日前
フジテック株式会社
マーカー設置治具
17日前
フジテック株式会社
マーカー設置治具
17日前
フジテック株式会社
情報提供システム
17日前
フジテック株式会社
ロボット管理装置、ロボット、及びプログラム
24日前
フジテック株式会社
ロボット管理装置、ロボット、及びプログラム
24日前
フジテック株式会社
表示装置、表示制御方法、および、表示制御プログラム
4日前
フジテック株式会社
マンコンベヤ、保守装置及びマンコンベヤのステップ取り外し方法
4日前
個人
生産早送り装置
2か月前
株式会社豊田自動織機
産業車両
2か月前
株式会社カネカ
製造システム
1か月前
オムロン株式会社
スレーブ装置
1か月前
ローム株式会社
基準電圧源
1か月前
愛知製鋼株式会社
車両用システム
2か月前
株式会社熊谷組
障害物の検出方法
26日前
株式会社FUJI
加工機械ライン
3か月前
株式会社クボタ
作業車
4日前
個人
作業車両自動化システム
2か月前
新電元工業株式会社
作業用ロボット
24日前
愛知製鋼株式会社
目標軌跡の設定方法
3か月前
豊田合成株式会社
機器制御装置
1か月前
株式会社ダイフク
搬送設備
2か月前
トヨタ自動車株式会社
移動制御システム
2か月前
株式会社ダイフク
搬送設備
1か月前
トヨタ自動車株式会社
生産管理システム
3か月前
株式会社ダイフク
搬送設備
2か月前
キヤノン電子株式会社
加工装置、及び、制御方法
3か月前
トヨタ自動車株式会社
減圧弁
3か月前
エイブリック株式会社
電流補償回路及び半導体装置
20日前
株式会社ダイフク
物品搬送設備
1か月前
トヨタ自動車株式会社
クラッチペダル
2か月前
キヤノン株式会社
配送システム
1か月前
マーク ヘイリー
消防ロボット
3か月前
株式会社ダイフク
物品搬送設備
5日前
カヤバ株式会社
減圧弁
1か月前
トヨタ自動車株式会社
制御装置
1か月前
続きを見る
他の特許を見る