TOP
|
特許
|
意匠
|
商標
特許ウォッチ
Twitter
他の特許を見る
公開番号
2025150026
公報種別
公開特許公報(A)
公開日
2025-10-09
出願番号
2024050675
出願日
2024-03-27
発明の名称
エレベータ装置及びエレベータ装置の戸開走行保護装置健全性確認方法
出願人
フジテック株式会社
代理人
個人
,
個人
主分類
B66B
5/00 20060101AFI20251002BHJP(巻上装置;揚重装置;牽引装置)
要約
【課題】戸開走行保護装置の自己診断処理によって、運転制御部が異常状態と判断しないエレベータ装置を提供する。
【解決手段】運転制御部14は、第3給電切換手段19の動作状況を監視するとともに、第3給電切換手段19に対して駆動装置4又はブレーキ装置5との接続回路を開放させる切換駆動信号を出力した上で、戸開走行保護部15に対して第2給電切換手段17の健全性を診断させる健全性確認指令を出力し、戸開走行保護部15は、第2給電切換手段17の動作状況を監視するとともに、健全性確認指令に基づいて前記第2給電切換手段17に対して、戸開走行保護信号を出力し、第2給電切換手段17の動作状況と戸開走行保護信号とを比較することで第2給電切換手段17の健全性を診断する戸開走行保護装置健全性確認処理を実行する。
【選択図】図2
特許請求の範囲
【請求項1】
戸開走行を抑制する戸開走行保護装置を有するエレベータ装置であって、
昇降路内に設けられたエレベータかごと、
エレベータ出入口を開閉するエレベータドアと、
前記エレベータかごに駆動力を与える駆動装置と、
前記エレベータかごの昇降を制動する、電源からの給電が遮断されたときに制動力を生じるブレーキ装置と、
前記エレベータドアの開閉状態を検出する戸開閉検出手段と、
前記エレベータかごの前記昇降路内における位置を検出するかご位置検出手段と、
前記エレベータかごの運転を制御する運転制御部と、
前記運転制御部とは独立して構成され、前記戸開閉検出手段及び前記かご位置検出手段を介して前記エレベータかごの位置と前記エレベータドアの開閉状態とを監視することで前記エレベータかごの戸開走行を検出可能とし、前記エレベータかごの戸開走行を検出したときは、前記エレベータかごの戸開走行を停止させる戸開走行保護部と、
前記運転制御部から出力された切換駆動信号に基づいて、前記電源と前記駆動装置又は前記ブレーキ装置との接続回路を開放する第3給電切換手段と、
前記戸開走行保護部から出力された戸開走行保護信号に基づいて、前記第3給電切換手段に前記電源と前記駆動装置又は前記ブレーキ装置との接続回路を開放させる第2給電切換手段と
を備え、
前記運転制御部は、前記第3給電切換手段の動作状況を監視するとともに、前記第3給電切換手段に対して前記駆動装置又は前記ブレーキ装置との接続回路を開放させる前記切換駆動信号を出力した上で、前記戸開走行保護部に対して前記第2給電切換手段の健全性を診断させる健全性確認指令を出力し、
前記戸開走行保護部は、前記第2給電切換手段の動作状況を監視するとともに、前記健全性確認指令に基づいて前記第2給電切換手段に対して、前記戸開走行保護信号を出力し、前記第2給電切換手段の動作状況と前記戸開走行保護信号とを比較することで前記第2給電切換手段の健全性を診断する戸開走行保護装置健全性確認処理を実行する
エレベータ装置。
続きを表示(約 1,000 文字)
【請求項2】
前記第2給電切換手段は、第2給電切換手段の第1接点及び第2給電切換手段の第2接点を有する電磁接触器であって、
前記第2給電切換手段の第2接点を閉成又は開離することで、前記第3給電切換手段によって前記駆動装置及び前記ブレーキ装置の少なくともいずれか一方への給電・遮断を切り換え、
前記第2給電切換手段の第1接点の閉成・開離を監視し、前記戸開走行保護信号の出力状況と整合性を確認することで、前記第2給電切換手段の健全性を診断する前記戸開走行保護装置健全性確認処理を実行する
請求項1に記載のエレベータ装置。
【請求項3】
前記第3給電切換手段は、第3給電切換手段の第1接点、第3給電切換手段の第2接点及び第3給電切換手段のコイルを有する電磁接触器であって、
前記第2給電切換手段の第2接点と前記第3給電切換手段のコイルとの接続回路上に第1給電切換手段を有し、
前記運転制御部は、前記第1給電切換手段に対して前記切換駆動信号を出力し、
前記第1給電切換手段は、前記第3給電切換手段のコイルへの給電を遮断し、
前記第3給電手段の第2接点が開離することで、前記駆動装置及び前記ブレーキ装置の少なくともいずれか一方への給電を遮断する
請求項2に記載のエレベータ装置。
【請求項4】
前記運転制御部は、所定期間毎に前記健全性確認指令を出力する
請求項1乃至請求項3のいずれか一項に記載のエレベータ装置。
【請求項5】
請求項1に記載のエレベータ装置であって、
前記運転制御部は、前記第3給電切換手段の動作状況を監視するとともに、前記第3給電切換手段に対して前記駆動装置又は前記ブレーキ装置との接続回路を開放させる前記切換駆動信号を出力するステップと、
前記運転制御部は、前記戸開走行保護部に対して前記第2給電切換手段の健全性を診断させる健全性確認指令を出力するステップと、
前記戸開走行保護部は、前記第2給電切換手段の動作状況を監視するとともに、前記健全性確認指令に基づいて前記第2給電切換手段に対して、前記戸開走行保護信号を出力するステップと、
前記第2給電切換手段の動作状況と前記戸開走行保護信号とを比較することで前記第2給電切換手段の健全性を診断する戸開走行保護装置健全性確認処理を実行するステップとを有する
エレベータ装置の戸開走行保護装置健全性確認方法。
発明の詳細な説明
【技術分野】
【0001】
本発明は、エレベータの戸開走行を抑制する戸開走行保護装置を有するエレベータ装置及び該エレベータ装置の戸開走行保護装置健全性確認方法に関する。
続きを表示(約 2,600 文字)
【背景技術】
【0002】
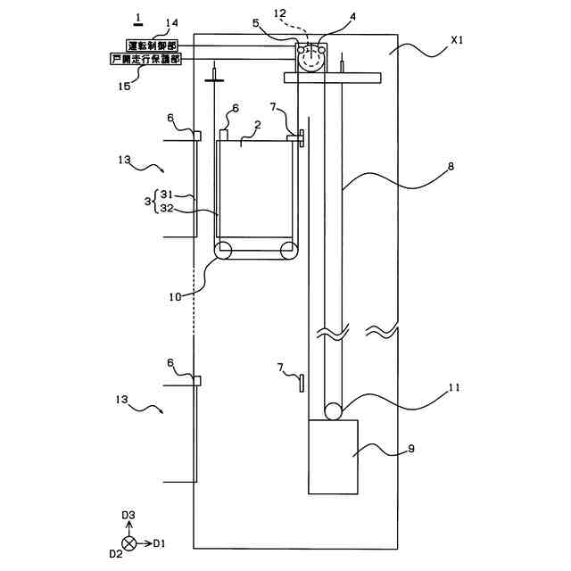
近年、エレベータの安全機能として、戸開走行保護装置(戸開走行保護部)が設けられることがある。戸開走行保護装置は、戸開停止中のエレベータかごが戸閉せずに走行を開始した場合やエレベータかごが走行中にかごドア又は乗場ドアの少なくとも一方が戸開した状態で走行すること(戸開走行)を抑制するために、これらの状態を検出した場合、エレベータかごの走行を停止させるための保護機能を有する。
具体的には、エレベータかごの運転を制御し、駆動装置及びブレーキ装置への給電又は遮断を切り替えて制御する運転制御部とは別に、戸開走行保護部を設ける。戸開走行保護部は、昇降路内におけるエレベータかごの位置を検出するかご位置検出手段及びかごドア又は乗場ドアの戸開閉を検出する戸開閉検出手段を介してエレベータかごの戸開走行を検出し、駆動装置及びブレーキ装置の少なくともいずれか一方への給電を遮断し、エレベータかごの走行を停止させ、戸開走行を抑制する。
【0003】
運転制御部は、運転制御部の指令により給電と遮断を切り替える第1の給電切換手段を設け、第1の給電切換手段の給電と遮断により動作する別の第3の給電切換手段により駆動装置及びブレーキ装置の少なくともいずれか一方への給電を遮断すると共に、第3の給電切換手段の別の接点をモニタすることで、第3の給電切換手段の健全性を監視する。
また、戸開走行保護装置は、戸開走行保護装置の指令により給電と遮断を切り替える第2の給電切換手段を設け、第2の給電切換手段の給電と遮断により動作する第3の給電切換手段により駆動装置及びブレーキ装置の少なくともいずれか一方への給電を遮断すると共に、第2の給電切換手段の別の接点をモニタすることで、第2の給電切換手段の健全性を監視する。
【0004】
ところで、運転制御部及び戸開走行保護装置は、安全に関わる動作を行うため、自己の機能の健全性を診断する自己診断処理を行うことがある。
ところが、戸開走行保護装置が運転制御部と連携を取らずに自己診断処理を行うことで、運転制御部は、戸開走行保護装置による自己診断処理によって駆動装置及びブレーキ装置の少なくともいずれか一方への給電が遮断された状態を異常であると判断することがある。
【0005】
なお、戸開走行保護装置の自己診断処理に関連する文献公知技術としては、例えば特許文献1に示すようなエレベータ装置がある。
【先行技術文献】
【特許文献】
【0006】
特許第5349590号公報
【発明の概要】
【発明が解決しようとする課題】
【0007】
そこで課題は、戸開走行保護装置の自己診断処理によって、運転制御部が異常状態と判断しないエレベータ装置を提供することである。
【課題を解決するための手段】
【0008】
本発明に係るエレベータ装置は、戸開走行を抑制する戸開走行保護装置を有するエレベータ装置であって、昇降路内に設けられたエレベータかごと、エレベータ出入口を開閉するエレベータドアと、前記エレベータかごに駆動力を与える駆動装置と、前記エレベータかごの昇降を制動する、電源からの給電が遮断されたときに制動力を生じるブレーキ装置と、前記エレベータドアの開閉状態を検出する戸開閉検出手段と、前記エレベータかごの前記昇降路内における位置を検出するかご位置検出手段と、前記エレベータかごの運転を制御する運転制御部と、前記運転制御部とは独立して構成され、前記戸開閉検出手段及び前記かご位置検出手段を介して前記エレベータかごの位置と前記エレベータドアの開閉状態とを監視することで前記エレベータかごの戸開走行を検出可能とし、前記エレベータかごの戸開走行を検出したときは、前記エレベータかごの戸開走行を停止させる戸開走行保護部と、前記運転制御部から出力された切換駆動信号に基づいて、前記電源と前記駆動装置又は前記ブレーキ装置との接続回路を開放する第3給電切換手段と、前記戸開走行保護部から出力された戸開走行保護信号に基づいて、前記第3給電切換手段に前記電源と前記駆動装置又は前記ブレーキ装置との接続回路を開放させる第2給電切換手段とを備え、前記運転制御部は、前記第3給電切換手段の動作状況を監視するとともに、前記第3給電切換手段に対して前記駆動装置又は前記ブレーキ装置との接続回路を開放させる前記切換駆動信号を出力した上で、前記戸開走行保護部に対して前記第2給電切換手段の健全性を診断させる健全性確認指令を出力し、前記戸開走行保護部は、前記第2給電切換手段の動作状況を監視するとともに、前記健全性確認指令に基づいて前記第2給電切換手段に対して、前記戸開走行保護信号を出力し、前記第2給電切換手段の動作状況と前記戸開走行保護信号とを比較することで前記第2給電切換手段の健全性を診断する戸開走行保護装置健全性確認処理を実行する。
【0009】
また、本発明に係るエレベータ装置は、前記第2給電切換手段は、第2給電切換手段の第1接点及び第2給電切換手段の第2接点を有する電磁接触器であって、
前記第2給電切換手段の第2接点を閉成又は開離することで、前記第3給電切換手段によって前記駆動装置及び前記ブレーキ装置の少なくともいずれか一方への給電・遮断を切り換え、前記第2給電切換手段の第1接点の閉成・開離を監視し、前記戸開走行保護信号の出力状況と整合性を確認することで、前記第2給電切換手段の健全性を診断する前記戸開走行保護装置健全性確認処理を実行する。
【0010】
また、本発明に係るエレベータ装置は、前記第3給電切換手段は、第3給電切換手段の第1接点、第3給電切換手段の第2接点及び第3給電切換手段のコイルを有する電磁接触器であって、前記第2給電切換手段の第2接点と前記第3給電切換手段のコイルとの接続回路上に第1給電切換手段を有し、前記運転制御部は、前記第1給電切換手段に対して前記切換駆動信号を出力し、前記第1給電切換手段は、前記第3給電切換手段のコイルへの給電を遮断し、前記第3給電手段の第2接点が開離することで、前記駆動装置及び前記ブレーキ装置の少なくともいずれか一方への給電を遮断する。
(【0011】以降は省略されています)
この特許をJ-PlatPat(特許庁公式サイト)で参照する
関連特許
フジテック株式会社
エレベータ
22日前
フジテック株式会社
エレベータ
12日前
フジテック株式会社
マンコンベヤ
12日前
フジテック株式会社
マンコンベヤ
16日前
フジテック株式会社
マンコンベヤ
2日前
フジテック株式会社
マンコンベヤ
12日前
フジテック株式会社
金属棒曲げ工具
3日前
フジテック株式会社
情報提供システム
3日前
フジテック株式会社
エレベータシステム
12日前
フジテック株式会社
行先階登録システム
9日前
フジテック株式会社
マンコンベヤシステム
8日前
フジテック株式会社
カスタマイズシステム
8日前
フジテック株式会社
情報処理システム、制御方法
12日前
フジテック株式会社
エレベータのかご及びエレベータ
16日前
フジテック株式会社
エレベーターのかご照明装置の調整方法
3日前
フジテック株式会社
マンコンベヤ欄干装置及びマンコンベヤ
2日前
フジテック株式会社
マンコンベヤ及びマンコンベヤの製造方法
16日前
フジテック株式会社
ロボット管理装置、ロボット、及びプログラム
15日前
フジテック株式会社
ロボット管理装置、ロボット、及びプログラム
15日前
フジテック株式会社
ロボット管理装置、ロボット、及びプログラム
15日前
フジテック株式会社
エレベータのかごドア開閉装置及びエレベータ
15日前
フジテック株式会社
ロボット管理装置、ロボット、及びプログラム
1日前
フジテック株式会社
ロボット管理装置、ロボット、及びプログラム
2日前
フジテック株式会社
ロボット管理装置、ロボット、及びプログラム
1日前
フジテック株式会社
ロボット管理装置、ロボット、及びプログラム
4日前
フジテック株式会社
ロボット管理装置、ロボット、及びプログラム
4日前
フジテック株式会社
ロボット管理装置、ロボット、及びプログラム
4日前
フジテック株式会社
ロボット管理装置、ロボット、及びプログラム
3日前
フジテック株式会社
表示装置、表示制御方法、および、表示制御プログラム
8日前
フジテック株式会社
表示装置、表示制御方法、および、表示制御プログラム
8日前
フジテック株式会社
表示装置、表示制御方法、および、表示制御プログラム
8日前
フジテック株式会社
表示装置、表示制御方法、および、表示制御プログラム
2日前
フジテック株式会社
乗客コンベアのシャフトの異常検出装置及びエレベーター
4日前
フジテック株式会社
マンコンベヤ
12日前
フジテック株式会社
行先階登録システム
9日前
フジテック株式会社
マンコンベヤシステム
8日前
続きを見る
他の特許を見る