TOP
|
特許
|
意匠
|
商標
特許ウォッチ
Twitter
他の特許を見る
公開番号
2025147360
公報種別
公開特許公報(A)
公開日
2025-10-07
出願番号
2024047576
出願日
2024-03-25
発明の名称
堆肥化診断装置、堆肥化診断システム、堆肥化診断方法及びプログラム
出願人
有限会社 岡本製作所
代理人
個人
,
個人
,
個人
,
個人
主分類
C05F
17/993 20200101AFI20250930BHJP(肥料;肥料の製造)
要約
【課題】堆肥材料における初期発酵の良否を判定することが可能な堆肥化診断装置、堆肥化診断システム、堆肥化診断方法及びプログラムを提供する。
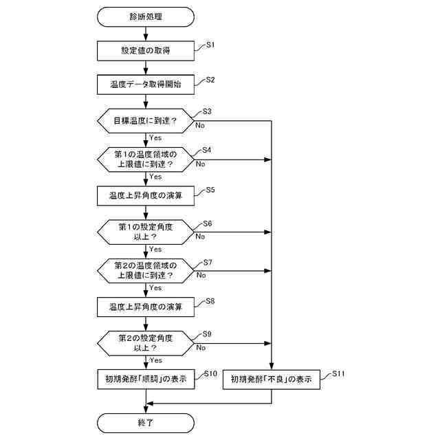
【解決手段】診断装置100は、堆肥材料の温度を周期的に取得する取得部151と、取得された堆肥材料の温度に基づいて、堆肥材料が第1の温度領域を通過するのに要する時間と第1の温度領域よりも高温側に設定された第2の温度領域を通過するのに要する時間とをカウントする計時部152と、カウントされた第1の温度領域を通過するのに要する時間が第1の監視時間以下であり、かつカウントされた第2の温度領域を通過するのに要する時間が第2の監視時間以下である場合に、堆肥材料の初期発酵が順調に進行していると判定する判定部154と、を備える。
【選択図】図3
特許請求の範囲
【請求項1】
堆肥材料の温度を周期的に取得する取得部と、
取得された前記堆肥材料の温度に基づいて、前記堆肥材料が第1の温度領域を通過するのに要する時間と前記第1の温度領域よりも高温側に設定された第2の温度領域を通過するのに要する時間とをカウントする計時部と、
カウントされた前記第1の温度領域を通過するのに要する時間が第1の監視時間以下であり、かつカウントされた前記第2の温度領域を通過するのに要する時間が第2の監視時間以下である場合に、前記堆肥材料の初期発酵が順調に進行していると判定する判定部と、
を備える堆肥化診断装置。
続きを表示(約 1,400 文字)
【請求項2】
前記堆肥化診断装置は、カウントされた前記第1の温度領域を通過するのに要する時間と前記第2の温度領域を通過するのに要する時間とに基づいて、前記第1の温度領域における前記堆肥材料の温度上昇角度と前記第2の温度領域における前記堆肥材料の温度上昇角度とを演算する演算部をさらに備え、
前記判定部は、演算された前記第1の温度領域における前記堆肥材料の温度上昇角度が第1の設定角度以上であり、かつ演算された前記第2の温度領域における前記堆肥材料の温度上昇角度が第2の設定角度以上であると判定された場合に、前記堆肥材料の初期発酵が順調に進行していると判定する、
請求項1に記載の堆肥化診断装置。
【請求項3】
前記第1の温度領域は、前記堆肥材料に存在する中温菌が活性化する中温帯域であり、
前記第2の温度領域は、前記堆肥材料に存在する高温菌が活性化する高温帯域である、
請求項1に記載の堆肥化診断装置。
【請求項4】
前記第1の温度領域の上限値及び下限値は、いずれも35℃~50℃の範囲内に設定され、
前記第2の温度領域の上限値及び下限値は、いずれも50℃~65℃の範囲内に設定されている、
請求項1に記載の堆肥化診断装置。
【請求項5】
前記計時部は、取得された前記堆肥材料の温度が堆肥化開始時点から判定時間内に前記第1の温度領域の下限値よりも低くなるように設定された目標温度に到達した場合に、前記第1の温度領域を通過するのに要する時間と前記第2の温度領域を通過するのに要する時間とをカウントする、
請求項1に記載の堆肥化診断装置。
【請求項6】
前記堆肥材料の温度を計測する温度計と、
前記温度計と通信可能に接続され、前記温度計により計測された前記堆肥材料の温度を周期的に取得する請求項1から5のいずれか1項に記載の堆肥化診断装置と、
を備える堆肥化診断システム。
【請求項7】
堆肥材料の温度を周期的に取得するステップと、
取得された前記堆肥材料の温度に基づいて、前記堆肥材料が第1の温度領域を通過するのに要する時間と前記第1の温度領域よりも高温側に設定された第2の温度領域を通過するのに要する時間とをカウントするステップと、
カウントされた前記第1の温度領域を通過するのに要する時間が第1の監視時間以下であり、かつカウントされた前記第2の温度領域を通過するのに要する時間が第2の監視時間以下である場合に、前記堆肥材料の初期発酵が順調に進行していると判定するステップと、
を含む堆肥化診断方法。
【請求項8】
コンピュータを、
堆肥材料の温度を周期的に取得する取得手段、
取得された前記堆肥材料の温度に基づいて、前記堆肥材料が第1の温度領域を通過するのに要する時間と前記第1の温度領域よりも高温側に設定された第2の温度領域を通過するのに要する時間とをカウントする計時手段、
カウントされた前記第1の温度領域を通過するのに要する時間が第1の監視時間以下であり、かつカウントされた前記第2の温度領域を通過するのに要する時間が第2の監視時間以下である場合に、前記堆肥材料の初期発酵が順調に進行していると判定する判定手段、
として機能させるためのプログラム。
発明の詳細な説明
【技術分野】
【0001】
本発明は、堆肥化診断装置、堆肥化診断システム、堆肥化診断方法及びプログラムに関する。
続きを表示(約 1,700 文字)
【背景技術】
【0002】
家畜糞尿、生ごみ、汚泥といった生物系廃棄物に由来する堆肥材料を好気性微生物の働きによって分解した堆肥が広く用いられている。堆肥材料の堆肥化では、堆肥材料中の微生物を活性化できなければ、堆肥の品質が低下したり堆肥化完了に時間を要したりするが、発酵の進行具合の良否を判断することは容易でない。そこで、堆肥化が順調に進行しているかどうかを判定する手法が開発されている。例えば、特許文献1には、計測温度分布パターンと基準温度分布パターンとを比較し、両者の特徴的形態に基づいて発酵の異常原因を判定するシステムが開示されている。
【先行技術文献】
【特許文献】
【0003】
特開2005-145775号公報
【発明の概要】
【発明が解決しようとする課題】
【0004】
発明者らが鋭意検討した結果、堆肥材料の初期段階における発酵(初期発酵)の進行具合が、その後の発酵の進行具合に大きく影響することが判明した。具体的には、堆肥化開始時点から3日以内の初期発酵が順調に進行すれば、その後の発酵も順調に進行し、良質な堆肥を得ることができるのに対し、初期発酵が不良であれば、その後の発酵も順調に進行せず、品質の低い堆肥しか得られない。特許文献1のシステムでは、予め試験を行って発酵が理想的に進行した堆肥材料の温度分布に基づいて対象となる堆肥材料の発酵の良否を判定しているため、堆肥材料における初期発酵の良否については判定できない。
【0005】
本発明は、このような背景に基づいてなされたものであり、堆肥材料における初期発酵の良否を判定することが可能な堆肥化診断装置、堆肥化診断システム、堆肥化診断方法及びプログラムを提供することを目的とする。
【課題を解決するための手段】
【0006】
上記目的を達成するために、本発明の第1の観点に係る堆肥化診断装置は、
堆肥材料の温度を周期的に取得する取得部と、
取得された前記堆肥材料の温度に基づいて、前記堆肥材料が第1の温度領域を通過するのに要する時間と前記第1の温度領域よりも高温側に設定された第2の温度領域を通過するのに要する時間とをカウントする計時部と、
カウントされた前記第1の温度領域を通過するのに要する時間が第1の監視時間以下であり、かつカウントされた前記第2の温度領域を通過するのに要する時間が第2の監視時間以下である場合に、前記堆肥材料の初期発酵が順調に進行していると判定する判定部と、
を備える。
【0007】
前記堆肥化診断装置は、カウントされた前記第1の温度領域を通過するのに要する時間と前記第2の温度領域を通過するのに要する時間とに基づいて、前記第1の温度領域における前記堆肥材料の温度上昇角度と前記第2の温度領域における前記堆肥材料の温度上昇角度とを演算する演算部をさらに備え、
前記判定部は、演算された前記第1の温度領域における前記堆肥材料の温度上昇角度が第1の設定角度以上であり、かつ演算された前記第2の温度領域における前記堆肥材料の温度上昇角度が第2の設定角度以上であると判定された場合に、前記堆肥材料の初期発酵が順調に進行していると判定してもよい。
【0008】
前記第1の温度領域は、前記堆肥材料に存在する中温菌が活性化する中温帯域であり、
前記第2の温度領域は、前記堆肥材料に存在する高温菌が活性化する高温帯域であってもよい。
【0009】
前記第1の温度領域の上限値及び下限値は、いずれも35℃~50℃の範囲内に設定され、
前記第2の温度領域の上限値及び下限値は、いずれも50℃~65℃の範囲内に設定されてもよい。
【0010】
前記計時部は、取得された前記堆肥材料の温度が堆肥化開始時点から判定時間内に前記第1の温度領域の下限値よりも低くなるように設定された目標温度に到達した場合に、前記第1の温度領域を通過するのに要する時間と前記第2の温度領域を通過するのに要する時間とをカウントしてもよい。
(【0011】以降は省略されています)
この特許をJ-PlatPat(特許庁公式サイト)で参照する
関連特許
有限会社 岡本製作所
堆肥化診断装置、堆肥化診断システム、堆肥化診断方法及びプログラム
1か月前
個人
真空パックした堆肥
4か月前
株式会社土と野菜
植物の成長促進方法
5か月前
小野田化学工業株式会社
リン酸塩含有固形物
今日
株式会社ビッグウィルマテリアル
有機発酵肥料
5か月前
株式会社下瀬微生物研究所
魚由来発酵液肥の製造装置
今日
栗田工業株式会社
畜糞造粒物の製造方法
1か月前
公立大学法人大阪
タケ由来ミミズ堆肥
2か月前
日本製鉄株式会社
肥料及び肥料の製造方法
5か月前
学校法人長崎総合科学大学
溶液担持ペレットの製造方法
1か月前
雪印種苗株式会社
タマネギ鱗茎肥大促進方法
2か月前
住友ベークライト株式会社
被覆材料、被覆肥料、および被覆肥料の製造方法
1か月前
栗田工業株式会社
生物処理水の利用方法
20日前
片倉コープアグリ株式会社
液状肥料及びその施肥方法
2か月前
株式会社森羊土
きのこ廃培地発酵乾燥資材の使用方法
3か月前
荒川化学工業株式会社
肥料組成物、被覆肥料、樹脂組成物の使用方法、栽培方法及び培養土
1か月前
株式会社バイオ技研
有機廃棄物発酵分解促進剤の製造方法及び有機肥料の製造方法
1か月前
メタウォーター株式会社
肥料製造システム及び肥料製造方法
1か月前
DIC株式会社
植物育成剤、植物栽培用組成物、及び植物を栽培する方法
4か月前
上毛緑産工業株式会社
木材チップと下水汚泥を利用した菌体りん酸肥料の製造方法
1か月前
有限会社 岡本製作所
堆肥化診断装置、堆肥化診断システム、堆肥化診断方法及びプログラム
1か月前
寿都町
堆肥分解性ブロックの製造方法、堆肥分解性ブロック及び、堆肥分解性ブロックを利用した磯焼け防止方法
2か月前
富士見工業株式会社
粒状肥料および粒状肥料の製造方法
20日前
三機工業株式会社
下水汚泥焼却灰の肥料化方法
20日前
出光興産株式会社
組成物、組成物の製造方法、組成物の使用方法、肥料組成物、及び肥料組成物の使用方法
5か月前
バテル・メモリアル・インスティテュート
向上されたマイクロチャンネルデバイスまたはメソチャンネルデバイス、及びその添加製造方法
4か月前
茂施農業科技有限公司
再生可能原料をベースにしたフランジカルボン酸を含むポリウレタン放出制御肥料被膜材、およびその使用と製品
1か月前
国立大学法人京都大学
タンパク質集積構造体
1か月前
他の特許を見る