TOP
|
特許
|
意匠
|
商標
特許ウォッチ
Twitter
他の特許を見る
公開番号
2024176648
公報種別
公開特許公報(A)
公開日
2024-12-19
出願番号
2023095372
出願日
2023-06-09
発明の名称
回転遊戯設備用の補助駆動装置
出願人
株式会社岡本製作所
,
朝日テック有限会社
代理人
個人
主分類
A63G
27/00 20060101AFI20241212BHJP(スポーツ;ゲーム;娯楽)
要約
【課題】
回転遊戯装置の補助駆動装置の作動の安定性を図る。
【解決手段】
リンクアームと、それらの一端側に回動可能に接続されたゴンドラと、リンクアームのそれぞれを360度往復回転可能に支持するアーム回転軸61(11、21,31)とを備え、ゴンドラは、乗客が屈伸運動などをすることによって、360度回転するように構成された回転遊戯設備に、装備される補助駆動装置70である。この補助駆動装置70は、アーム回転軸61に設けられた作動部71とその駆動部73とを備え、補助駆動装置70によって、ゴンドラが上昇した後に、停止装置の作動によって各リンクアームがフリー状態となる。
【選択図】 図5
特許請求の範囲
【請求項1】
複数のリンクアームと、乗客が乗り込む床を備えると共に複数の前記リンクアームのそれぞれの一端側に回動可能に接続されたゴンドラと、複数の前記リンクアームのそれぞれを360度往復回転可能に支持するアーム回転軸と、前記アーム回転軸を挟んで前記リンクアームの他端側に配置されたバランスウェイトとを備え、
複数の前記リンクアームのそれぞれは、その回転角度に関わらず前記床を含む前記ゴンドラを水平に維持する平行リンク機構の少なくとも1つのリンクを構成するものであり、
前記ゴンドラ内の乗客が屈伸運動をすることによって、前記リンクアームの前後方向の振り幅が徐々に大きくなり360度回転するように構成された回転遊戯設備に対して、初期駆動を行うための回転遊戯設備用の補助駆動装置において、
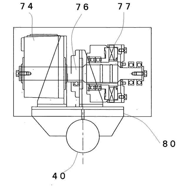
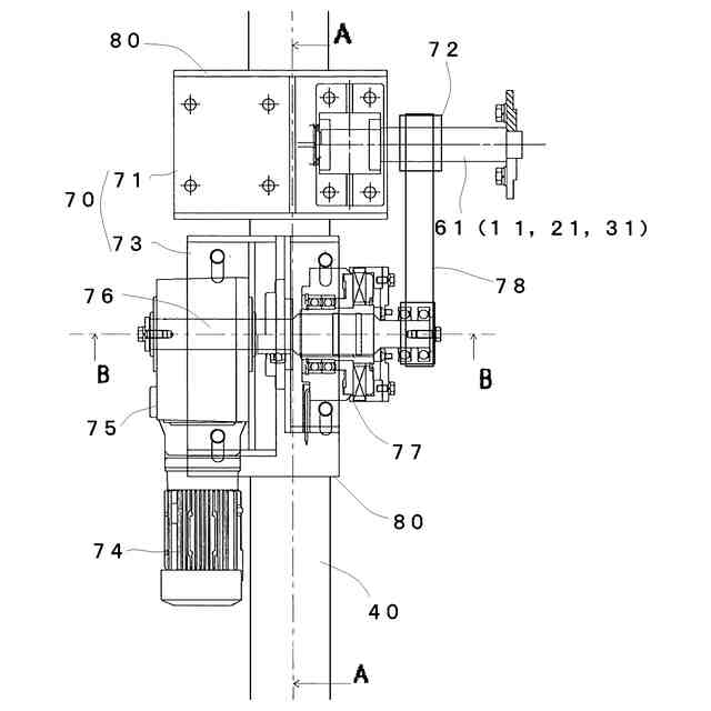
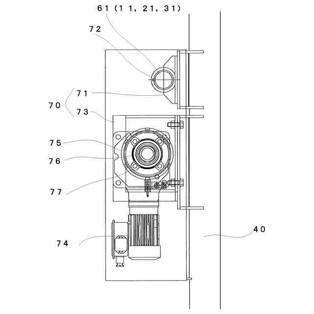
少なくとも1つの前記リンクアームの前記アーム回転軸に設けられた作動部と、前記作動部を動かすための駆動部とを備え、
前記作動部からの強制回転力の付与によって前記リンクアームが回転し、前記リンクアームは初期の停止状態から前記ゴンドラを重力に抗して上昇させるように構成されたものであり、
前記ゴンドラが上昇した後に、前記作動部からの前記強制回転力の付与を停止する停止装置を備えており、前記停止装置の作動によって、前記リンクアームがフリー状態となるように構成されたことを特徴とする回転遊戯設備用の補助駆動装置。
続きを表示(約 500 文字)
【請求項2】
前記停止装置は手動停止装置を備えており、
前記手動停止装置は、オペレーターの停止操作によって、前記作動部からの前記強制回転力の付与を停止して、前記リンクアームがフリー状態となるように構成されたことを特徴とする請求項1に記載の回転遊戯設備用の補助駆動装置。
【請求項3】
前記停止装置は自動停止装置を備えており、
前記自動停止装置は、あらかじめ設定された解放位置まで前記ゴンドラが上昇した段階で自動的に作動するものであり、前記作動部からの前記強制回転力の付与を停止して、前記リンクアームがフリー状態となるように構成されたことを特徴とする請求項1又は2に記載の回転遊戯設備用の補助駆動装置。
【請求項4】
前記駆動部は、回転動力源と、前記回転動力源の回転出力軸に接続された減速機と、前記減速機の減速出力軸に接続されたクラッチ及び動力伝達部を備え、
前記作動部は、前記アーム回転軸に固定された軸回転部を備え、前記動力伝達部からの回転力によって前記軸回転部が回転するものであることを特徴とする請求項3に記載の回転遊戯設備用の補助駆動装置。
発明の詳細な説明
【技術分野】
【0001】
本発明は、回転遊戯設備用の補助駆動装置に関するものである。
続きを表示(約 3,000 文字)
【背景技術】
【0002】
従来、遊園地などが設置される回転遊戯装置にあっては、特許文献1に示すものが知られている。この装置は、ゴンドラの左右両側に配置されたアームが回転することにより、ゴンドラが1回転以上の回転が可能なように構成されたものである。
ところが、この装置にあっては、ゴンドラの上部にアームの先端が接続されているに過ぎないため、ゴンドラが揺動する恐れがあるなど不安定である。
そこで、特許文献2に示された通り、本発明の一人は、ゴンドラの安定性を向上させ、人の力でもゴンドラを一回転以上回転させることができる回転遊戯装置を提案した。この回転遊戯装置では、初期の段階で遊戯者が上手くゴンドラを動かせない場合があったが、初期駆動を行うため機械的にゴンドラを動かしてその動作を助ける補助駆動装置を設けることによって、年少者から年配者までこの回転遊戯装置による遊戯を楽に楽しんでようにすること目的として補助駆動装置を付加することも提案していたものであった。具体的にはこの補助駆動装置は、ゴムタイヤなどの摩擦係数の大きな回転体を、ゴンドラの床の下面に当接させ、一方向にのみ回転することによって、同方向へゴンドラが動くように力を与えるように構成されたものであったが、回転体による1回の回転でゴンドラを動かすことができる範囲は限られていると共に、天候や経年変化の課題もあり、改良の余地が残されているものであった。
【先行技術文献】
【特許文献】
【0003】
特開昭51-74729号公報
登録実用新案第3237338号公報
【発明の概要】
【発明が解決しようとする課題】
【0004】
本発明は、回転遊戯装置の補助駆動装置の作動の安定性を図ることを課題とする。
【課題を解決するための手段】
【0005】
本発明は、複数のリンクアームと、乗客が乗り込む床を備えると共に複数の前記リンクアームのそれぞれの一端側に回動可能に接続されたゴンドラと、複数の前記リンクアームのそれぞれを360度往復回転可能に支持するアーム回転軸と、前記アーム回転軸を挟んで前記リンクアームの他端側に配置されたバランスウェイトとを備え、複数の前記リンクアームのそれぞれは、その回転角度に関わらず前記床を含む前記ゴンドラを水平に維持する平行リンク機構の少なくとも1つのリンクを構成するものであり、前記ゴンドラ内の乗客が屈伸運動をすることによって、前記リンクアームの前後方向の振り幅が徐々に大きくなり360度回転するように構成された回転遊戯設備に対して、初期駆動を行うための回転遊戯設備に装着して用いることができる補助駆動装置を提供する。
この補助駆動装置は、少なくとも1つの前記リンクアームの前記アーム回転軸に設けられた作動部と、前記作動部を動かすための駆動部とを備え、前記作動部からの強制回転力の付与によって前記リンクアームが回転し、前記リンクアームは初期の停止状態から前記ゴンドラを重力に抗して上昇させるように構成されたものである。この補助駆動装置は、前記ゴンドラが上昇した後に、前記作動部からの前記強制回転力の付与を停止する停止装置を備えており、前記停止装置の作動によって、前記リンクアームがフリー状態となるように構成されたものである。
【0006】
前記停止装置は手動停止装置と自動停止装置との少なくとも何れか一方を備えたものとして実施することができる。
前記手動停止装置は、オペレーターの停止操作によって、前記作動部からの前記強制回転力の付与を停止して、前記リンクアームがフリー状態となるように構成して実施することができる。
前記自動停止装置は、あらかじめ設定された解放位置まで前記ゴンドラが上昇した段階で自動的に作動するものであり、前記作動部からの前記強制回転力の付与を停止して、前記リンクアームがフリー状態となるように構成して実施することができる。
【0007】
前記駆動部は、例えば、回転動力源と、前記回転動力源の回転出力軸に接続された減速機と、前記減速機の減速出力軸に接続されたクラッチ及び動力伝達部を備えたものとして実施することができる。
また前記作動部は、前記アーム回転軸に固定された軸回転部を備え、前記動力伝達部からの回転力によって前記軸回転部が回転するものとして実施することができる。
【発明の効果】
【0008】
本発明は、回転遊戯装置の初期動作を助ける補助駆動装置の作動の安定性を向上させることがものである。これによって、ゴンドラに乗り込む遊戯者が、初期段階で円滑に楽にゴンドラを作動させることができると共に、オペレーターによる初期段階での補助作業の軽減を図ることができたものである。
【図面の簡単な説明】
【0009】
(A)本発明の実施の形態に係る補助駆動装置が装着される回転遊戯装置の正面図、(B)同回転遊戯装置の背面図。
同回転遊戯装置の側面図。
同回転遊戯装置を3組並設した状態の平面図。
同回転遊戯装置のゴンドラのフレームの側面図。
本発明の実施の形態に係る補助駆動装置の正面図。
図5のA-A線に沿う断面の構造説明図。
図5のB-B線に沿う断面の構造説明図。
同補助駆動装置の停止装置の説明図。
【発明を実施するための形態】
【0010】
以下、図面を参照して本発明の実施の形態を説明する。
(全体の概要)
この実施の形態にかかる回転遊戯装置は、乗客が乗り込むゴンドラ50と、ゴンドラ50の正面から見て左右両側に配置された一対の支持部40とを備えている。支持部40は、地面などに安定して設置され、回転遊戯装置の荷重を支持している。ゴンドラ50は、左右両側にそれぞれ設けられた第1リンクアーム10、 第2リンクアーム20及び第3リンクアーム30のリンクアームを介して、左右両側のそれぞれの支持部40に対して、360度回転可能に支持されている。
この回転遊戯装置は、ゴンドラ50内の乗客が体重移動や屈伸運動をすることによって、前記リンクアームの前後方向の振り幅が徐々に大きくなり、やがては前記リンクアーム及びゴンドラ50が360度回転するものである。
第1リンクアーム10、 第2リンクアーム20及び第3リンクアーム30のリンクアームと、支持部40とは、ゴンドラ50を挟んで左右対称に設けられているため、以下の説明では、その一方のみを説明するが、他方においても同様の構成を備える。
この回転遊戯装置は、図5~図7に示す補助駆動装置70を装着できるものであるが、図1~図4ではこの補助駆動装置70を図示していない。この補助駆動装置70は、第1リンクアーム10、第2リンクアーム20、第3リンクアーム30のうちの少なくとも1つに対して強制回転力を付与するように構成されたものであるが、補助駆動装置70の説明は、回転遊戯装置の構造及び作動の説明の次に行うものとする。
(【0011】以降は省略されています)
この特許をJ-PlatPat(特許庁公式サイト)で参照する
関連特許
個人
玩具
2か月前
個人
玩具
5か月前
個人
自走玩具
2か月前
個人
小型卓球台
1か月前
個人
盤上遊戯具
10か月前
個人
ゲーム玩具
6か月前
個人
運動補助具
4か月前
個人
フィギュア
10か月前
個人
玩具
10か月前
個人
打撃練習用具
1か月前
個人
パズル
1か月前
株式会社三共
遊技機
4か月前
株式会社三共
遊技機
4か月前
株式会社三共
遊技機
4か月前
株式会社三共
遊技機
4か月前
株式会社三共
遊技機
4か月前
株式会社三共
遊技機
4か月前
株式会社三共
遊技機
4か月前
株式会社三共
遊技機
4か月前
株式会社三共
遊技機
4か月前
株式会社三共
遊技機
4か月前
株式会社三共
遊技機
4か月前
株式会社三共
遊技機
4か月前
株式会社三共
遊技機
4か月前
株式会社三共
遊技機
4か月前
株式会社三共
遊技機
4か月前
株式会社三共
遊技機
4か月前
株式会社三共
遊技機
4か月前
株式会社三共
遊技機
4か月前
株式会社三共
遊技機
4か月前
株式会社三共
遊技機
5か月前
株式会社三共
遊技機
4か月前
株式会社三共
遊技機
4か月前
株式会社三共
遊技機
4か月前
株式会社三共
遊技機
4か月前
株式会社三共
遊技機
4か月前
続きを見る
他の特許を見る