TOP
|
特許
|
意匠
|
商標
特許ウォッチ
Twitter
他の特許を見る
公開番号
2025146031
公報種別
公開特許公報(A)
公開日
2025-10-03
出願番号
2024046598
出願日
2024-03-22
発明の名称
情報通信システム及び情報通信装置
出願人
国立大学法人佐賀大学
代理人
個人
主分類
G06Q
10/107 20230101AFI20250926BHJP(計算;計数)
要約
【課題】電子メールの送受信に伴う仮想通貨の入出金状態から利用者のアカウントを評価することで、SPAMerである利用者のアカウントを判別したり、SPAMメールを抑制する情報通信システム、装置及びプログラムを提供する。
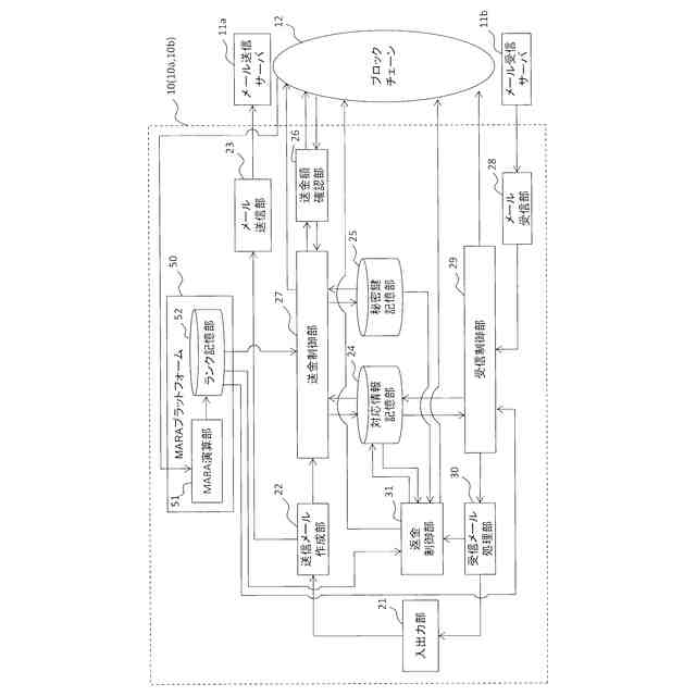
【解決手段】電子メールを送信する場合に、所定の仮想通貨を送信先のアカウントに送金する送金トランザクションを生成し、ブロックチェーン12にブロードキャストし、電子メールを受信する場合に、正当な電子メールであると判断されると、入金された仮想通貨をそのまま送信元のアカウントに返金する返金トランザクションを生成し、ブロックチェーン12にブロードキャストする情報通信システムであって、ブロックチェーン12に記憶されている前記仮想通貨の入出金状態を、前記情報通信システムの利用者の対象アカウントごとに解析して算出したスコア値に基づいて対象アカウントを評価するMARAプラットフォーム50を備える。
【選択図】図5
特許請求の範囲
【請求項1】
電子メールを送信する場合に、当該電子メールの送信に伴って所定の仮想通貨を送信先のアカウントに送金する送金トランザクションを生成し、ブロックチェーンにブロードキャストし、前記電子メールを受信する場合に、当該電子メールが正当な電子メールであると判断されると、前記電子メールの受信に伴って入金された前記仮想通貨をそのまま送信元のアカウントに返金する返金トランザクションを生成し、前記ブロックチェーンにブロードキャストする情報通信システムにおいて、
前記ブロックチェーンに記憶されている前記仮想通貨の入出金状態を、前記情報通信システムの利用者の対象アカウントごとに解析してスコア値を算出し、当該スコア値に基づいて前記対象アカウントを評価する評価手段を備えることを特徴とする情報通信システム。
続きを表示(約 2,400 文字)
【請求項2】
請求項1に記載の情報通信システムにおいて、
前記評価手段が前記対象アカウントを評価する場合に、前記対象アカウント以外の他のアカウントから前記対象アカウントに対して前記仮想通貨の送金が行われた送金元のアカウント数に基づいて前記スコア値を算出することを特徴とする情報通信システム。
【請求項3】
請求項2に記載の情報通信システムにおいて、
前記評価手段が前記対象アカウントを評価する場合に、前記他のアカウントが前記仮想通貨の送金を行った送金先のアカウント数に基づいて前記スコア値を算出することを特徴とする情報通信システム。
【請求項4】
請求項1又は2に記載の情報通信システムにおいて、
前記評価手段が前記対象アカウントを評価する場合に、前記対象アカウント以外の他のアカウントの前記スコア値に基づいて評価することを特徴とする情報通信システム。
【請求項5】
請求項4に記載の情報通信システムにおいて、
前記評価手段が、前記対象アカウントを評価する場合に、前記他のアカウントの前記スコア値を引数とし、前記対象アカウントの前記スコア値を戻り値として計算する関数の演算手段を有することを特徴とする情報通信システム。
【請求項6】
請求項4に記載の情報通信システムにおいて、
前記評価手段が前記対象アカウントを評価する場合に、
TIFF
2025146031000003.tif
14
166
(1)式において、PR(A)は対象アカウントの評価を示すスコア値、dは情報通信システムを利用する利用者がランダムに前記仮想通貨を送金する確率を表す係数、PR(T1)~PR(Tn)は対象アカウントに対して前記仮想通貨の送金を行った送金元であるT1からTnまでの他のアカウントの評価を示すスコア値、C(Tn)はT1からTnまでの他のアカウントが前記仮想通貨の送金を行った送金先のアカウント数
前記(1)式に基づいて演算することを特徴とする情報通信システム。
【請求項7】
請求項1又は2に記載の情報通信システムにおいて、
前記電子メールの送信をする場合に、当該電子メールが正当な電子メールとして受信されるのに必要となる前記仮想通貨の送金量を、前記電子メールの送信者のアカウントの前記スコア値に基づいて算出する送金制御手段を備えることを特徴とする情報通信システム。
【請求項8】
請求項1又は2に記載の情報通信システムにおいて、
前記電子メールを受信した場合に、当該電子メールを正当な電子メールとして受信するための基準となる前記仮想通貨の入金量を、前記電子メールの送信者のアカウントの前記スコア値に基づいて算出する受信制御手段を備えることを特徴とする情報通信システム。
【請求項9】
一のアカウントから他のアカウントに電子メールを送信するメール送信手段と、
前記メール送信手段が前記電子メールを送信する場合に前記一のアカウントから前記他のアカウントに前記仮想通貨を送金する送金トランザクションを生成し、ブロックチェーンにブロードキャストする送金制御手段と、
他のアカウントから一のアカウントに送信された電子メールを受信するメール受信手段と、
前記メール受信手段が前記電子メールを受信する場合に、前記他のアカウントから前記一のアカウントへの前記仮想通貨の入金状態を前記ブロックチェーンにアクセスして確認し、確認された入金状態に応じて前記電子メールを正当な電子メールとして受信する受信制御手段と、
前記受信制御手段が前記正当な電子メールを受信した場合に、当該電子メールが送信されたときに生成された前記仮想通貨の送金トランザクションに応じて当該送金トランザクションと同額の前記仮想通貨を前記一のアカウントから前記他のアカウントに送金する送金トランザクションを生成し、前記ブロックチェーンにブロードキャストする返金制御手段と、
前記ブロックチェーンに記憶されている前記仮想通貨の入出金状態を利用者のアカウントごとに解析してスコア値を算出し、当該スコア値に基づいて当該アカウントを評価する評価手段とを備えることを特徴とする情報通信装置。
【請求項10】
一のアカウントから他のアカウントに電子メールを送信するメール送信手段、
前記電子メールに仮想通貨が対応付けられており、前記メール送信手段が前記電子メールを送信する場合に前記一のアカウントから前記他のアカウントに前記仮想通貨を送金する送金トランザクションを生成し、ブロックチェーンにブロードキャストする送金制御手段、
他のアカウントから一のアカウントに送信された電子メールを受信するメール受信手段、
前記メール受信手段が前記電子メールを受信する場合に、前記他のアカウントから前記一のアカウントへの前記仮想通貨の入金状態を前記ブロックチェーンにアクセスして確認し、確認された入金状態に応じて前記電子メールを正当な電子メールとして受信する受信制御手段、
前記受信制御手段が前記正当な電子メールを受信した場合に、当該電子メールに対応付けられた仮想通貨を前記一のアカウントから前記他のアカウントに送金する送金トランザクションを生成し、前記ブロックチェーンにブロードキャストする返金制御手段、
前記ブロックチェーンに記憶されている前記仮想通貨の入出金状態を前記電子メールのアカウントごとに解析してスコア値を算出し、当該スコア値に基づいて当該アカウントを評価する評価手段としてコンピュータを機能させることを特徴とする情報通信プログラム。
発明の詳細な説明
【技術分野】
【0001】
本発明は、電子メールにおけるSPAM攻撃を防止する情報通信システム等に関する。
続きを表示(約 2,400 文字)
【背景技術】
【0002】
望まない相手から届く電子メール(以下、SPAMメールという)及びそれらのSPAMメールを送信するメールサーバ/メールアカウント(以下、SPAMerという)は、一般的な電子メールのユーザにとって迷惑な存在である。Symantec社による2009年3月のSPAMメールに関する調査(symantec,”The State of Spam A Monthly Report -March 2009”)によると、全世界で流通するメールの約86%がSPAMメールであることがわかった。そこでSPAMerからのSPAMメールを防ぐために、特定のIPアドレスのメール送信サーバをブラックリストに登録してメールを制限する方法(Christial J.Dietrich, Christian Rossow, Empirical research of IP blacklists, ISSE 2008 Securing Electronic Business Processes, pp.163-171)、(“SPAM DATABASE LOOKUP”DNSBL.info “https://www.dnsbl.info/” (参照: 2023-12-25).)や、特定のメール送信アカウント(メールアドレス)をブラックリストに登録してメールの受信を制限する方法やYahoo!メールなどでは、独自の迷惑メールフィルタリング(“Yahoo!の迷惑メール対策”, YAHOO! JAPANメール. https://mail.yahoo.co.jp/antispam/ (参照: 2023-12-25).)が知られている。
【0003】
しかしながら、これらの方法では誤判定のリスクがあり、SPAMメールを防ぐことは困難である。その理由として、上記メール送信サーバ及びメールアカウントをSPAMerと判別するアルゴリズムの問題が挙がられる。一般的に、SPAMメールと判断される電子メールを大量に送信したメール送信サーバ及びメールアカウントは、SPAMerと判別されるが、SPAMメールを大量に送信してからSPAMerであることが判別するため、SPAMメールを未然に防ぐことができていない。すなわち、大量のSPAMメールを送信する前、又は、所定数以下の電子メールを送信した時点でSPAMerと判別できるアルゴリズムが望まれている。
【0004】
また、上記の背景を踏まえて、SPAMメールの対策に関する技術として、特許文献1及び非特許文献1が開示されている。特許文献1及び非特許文献1に示す技術は、電子データを他のコンピュータに送信するメール送信部と、デジタル通貨のブロックチェーンにアクセスするための送金トランザクションを生成してブロックチェーンにブロードキャストする送金制御部を備え、メール送信部が電子データを送信するのに伴って、送金制御部が電子データに関するデジタル通貨の送金トランザクションを生成し、ブロックチェーンにブロードキャストするものである。
【0005】
この特許文献1及び非特許文献1では、メールアカウントとブロックチェーンアカウントを対応させ、電子メールを不特定多数に送信するSPAMerを含む全ての電子メール送信者に対し、メール受信者のブロックチェーンアカウントへの仮想通貨の送金を求めることで、SPAMメールを抑制させる。これにより、メールアカウント単位でSPAMメールを防げるため、一般ユーザとSPAMerとが同一の送信サーバを使用している場合でも、SPAMerからのSPAMメールを抑制できる。
【0006】
また、従来手法では、SPAMメールの発生後にその送信サーバからの着信を拒否するため、送信サーバを変更することで、さらなるSPAMメールの送信が可能であった。特許文献1及び非特許文献1では、何らかの手段で仮想通貨を手に入れない限り、送信サーバを変更してもSPAMメールを送信することができない。さらに、どのブロックチェーンアカウントからどのブロックチェーンアカウントに送金されたのかという仮想通貨の取引履歴から、どのメールアカウントからどのメールアカウントにメールが送信されたのかという送受信の履歴を得ることができる。
【先行技術文献】
【特許文献】
【0007】
特許第6583841号公報
【非特許文献】
【0008】
K. Nakayama, Yutaka Moriyama, C. Oshima, An Algorithm that Prevents SPAM Attacks using Blockchain, 2018.
【発明の概要】
【発明が解決しようとする課題】
【0009】
上述したように、SPAMメールを排除するために様々な提案が行われており、大きく3つの種類に分類することができる。1つ目がメールの内容を検査して判定する方法、2つ目が通信セッションで判定する方法、3つ目がSMTP接続に対するコストの強制である。このように、SPAMメール対策には多くの進展があるものの、従来の手法では誤検知や漏れ等のいくつかの問題点や課題が存在する。
【0010】
本発明は、上記課題を解決するためになされたものであり、電子メールの送受信に伴う仮想通貨の入出金状態から利用者のアカウントを評価することで、SPAMerである利用者のアカウントを判別したり、SPAMメールを抑制する情報通信システムを提供することを目的とする。
【課題を解決するための手段】
(【0011】以降は省略されています)
この特許をJ-PlatPat(特許庁公式サイト)で参照する
関連特許
個人
裁判のAI化
2か月前
個人
情報処理システム
3か月前
個人
工程設計支援装置
1か月前
個人
地球保全システム
7日前
個人
フラワーコートA
2か月前
個人
検査システム
3か月前
個人
為替ポイント伊達夢貯
1か月前
個人
冷凍食品輸出支援構造
1か月前
個人
介護情報提供システム
2か月前
個人
残土処理システム
今日
個人
携帯情報端末装置
1か月前
個人
表変換編集支援システム
27日前
個人
設計支援システム
2か月前
個人
設計支援システム
2か月前
個人
結婚相手紹介支援システム
1か月前
個人
知的財産出願支援システム
1日前
株式会社サタケ
籾摺・調製設備
3か月前
個人
知財出願支援AIシステム
1か月前
キヤノン電子株式会社
携帯装置
3か月前
個人
パスワード管理支援システム
27日前
株式会社カクシン
支援装置
2か月前
個人
行動時間管理システム
29日前
個人
AIによる情報の売買の仲介
1か月前
株式会社キーエンス
受発注システム
6日前
個人
食品レシピ生成システム
6日前
株式会社キーエンス
受発注システム
6日前
個人
海外支援型農作物活用システム
19日前
個人
備蓄品の管理方法
3か月前
個人
パスポートレス入出国システム
1か月前
株式会社アジラ
進入判定装置
1か月前
個人
アンケート支援システム
2か月前
個人
AIキャラクター制御システム
27日前
日本精機株式会社
施工管理システム
1か月前
個人
システム及びプログラム
20日前
株式会社キーエンス
受発注システム
6日前
個人
音声対話型帳票生成支援システム
27日前
続きを見る
他の特許を見る