TOP
|
特許
|
意匠
|
商標
特許ウォッチ
Twitter
他の特許を見る
10個以上の画像は省略されています。
公開番号
2025145409
公報種別
公開特許公報(A)
公開日
2025-10-03
出願番号
2024045572
出願日
2024-03-21
発明の名称
集合体シート、および、集合体シートの製造方法
出願人
日東電工株式会社
代理人
弁理士法人いくみ特許事務所
主分類
G03F
9/00 20060101AFI20250926BHJP(写真;映画;光波以外の波を使用する類似技術;電子写真;ホログラフイ)
要約
【課題】集合体シートに対するフォトマスクの位置精度の向上を図ることができる集合体シート、および、集合体シートの製造方法を提供する。
【解決手段】
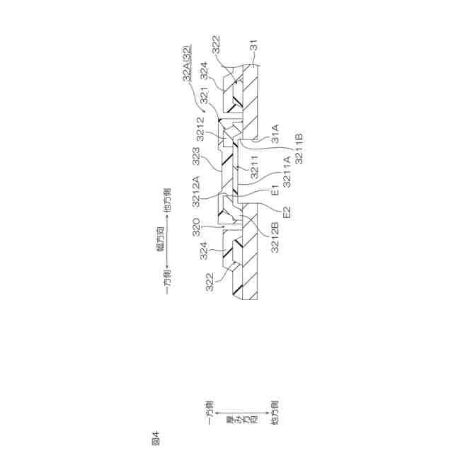
集合体シート1は、配線回路基板2と、配線回路基板2を支持するフレーム3とを備える。フレーム3は、アライメントマーク32を有する。アライメントマーク32は、第1絶縁層3211と導体層3212とからなる第1マーク321と、第2絶縁層323とを備える。導体層3212は、第1絶縁層3211の上に配置され、開口3212Aを有する。第2絶縁層323は、第1絶縁層3211の上に配置され、導体層3211を覆う。
【選択図】図1
特許請求の範囲
【請求項1】
配線回路基板と、
アライメントマークを有し、前記配線回路基板を支持するフレームと
を備え、
前記アライメントマークは、
第1絶縁層と、前記第1絶縁層の上に配置され、第1開口を有する導体層とからなる第1マークと、
前記第1絶縁層の厚み方向において前記第1絶縁層の上に配置され、前記導体層を覆う第2絶縁層と
を備える、集合体シート。
続きを表示(約 820 文字)
【請求項2】
前記アライメントマークは、
前記第1マークと間隔を隔てて配置され、前記第1絶縁層と同じ材料からなる第2マークを、
さらに備える、請求項1に記載の集合体シート。
【請求項3】
前記アライメントマークは、
前記厚み方向において前記第2マークの上に配置され、前記第2絶縁層と間隔を隔てて配置される第3絶縁層を、
さらに有する、請求項2に記載の集合体シート。
【請求項4】
前記フレームは、金属層を有し、
前記第1絶縁層は、前記厚み方向において前記金属層の上に配置される、請求項1に記載の集合体シート。
【請求項5】
前記金属層は、第2開口を有し、
前記厚み方向に投影したときに、前記第1開口は、前記第2開口内に配置される、請求項4に記載の集合体シート。
【請求項6】
前記第1絶縁層は、
前記厚み方向に投影したときに前記第2開口内に配置される第1部分と、
前記第1部分の周りに配置される第2部分と
を有し、
前記第1部分の厚みは、前記第2部分の厚みよりも薄い、請求項5に記載の集合体シート。
【請求項7】
前記導体層は、前記金属層と導通する、請求項4に記載の集合体シート。
【請求項8】
前記導体層の外周部は、前記金属層と導通する、請求項7に記載の集合体シート。
【請求項9】
前記アライメントマークは、
前記厚み方向において前記第2絶縁層の上に配置される第4絶縁層を、
さらに有する、請求項1に記載の集合体シート。
【請求項10】
前記第1マークは、円形状であり、
前記第2マークは、前記第1マークと同心のリング形状を有する、請求項2に記載の集合体シート。
(【請求項11】以降は省略されています)
発明の詳細な説明
【技術分野】
【0001】
本発明は、集合体シート、および、集合体シートの製造方法に関する。
続きを表示(約 950 文字)
【背景技術】
【0002】
従来、配線回路基板の製造において、複数の配線回路基板を有する集合体シートに、アライメントマーク、および、複数の識別マークを設けることが知られている(例えば、下記特許文献1参照。)。
【0003】
識別マークは、各工程のフォトマスクの識別に使用され、アライメントマークは、集合体シートに対するフォトマスクの位置合わせに使用される。
【先行技術文献】
【特許文献】
【0004】
特開2011-227363号公報
【発明の概要】
【発明が解決しようとする課題】
【0005】
上記した特許文献1に記載されるような配線回路基板の製造方法において、集合体シートに対するフォトマスクの位置精度のさらなる向上が求められている。
【0006】
本発明は、集合体シートに対するフォトマスクの位置精度の向上を図ることができる集合体シート、および、集合体シートの製造方法を提供する。
【課題を解決するための手段】
【0007】
本発明[1]は、配線回路基板と、アライメントマークを有し、前記配線回路基板を支持するフレームとを備え、前記アライメントマークが、第1絶縁層と、前記第1絶縁層の上に配置され、第1開口を有する導体層とからなる第1マークと、前記第1絶縁層の厚み方向において前記第1絶縁層の上に配置され、前記導体層を覆う第2絶縁層とを備える、集合体シートを含む。
【0008】
このような構成によれば、アライメントマークは、第1絶縁層と、第1絶縁層の上に配置される導体層とからなる第1マークを備える。第1マークの導体層は、第1開口を有する。
【0009】
そのため、第1絶縁層と導体層とのコントラストにより、第1開口の内周端縁をはっきりと認識できる。
【0010】
そのため、集合体シートの製造途中において、第1開口の内周端縁に基づいて各工程のフォトマスクを集合体シートに対して位置合わせすることにより、フォトマスクを集合体シートに対して精度よく位置合わせできる。
(【0011】以降は省略されています)
この特許をJ-PlatPat(特許庁公式サイト)で参照する
関連特許
日東電工株式会社
吸着材
2日前
日東電工株式会社
発光装置
3日前
日東電工株式会社
光学積層体
17日前
日東電工株式会社
光学積層体
1か月前
日東電工株式会社
偏光フィルム
24日前
日東電工株式会社
複合ケーブル
1か月前
日東電工株式会社
スイッチ装置
3日前
日東電工株式会社
光学粘着シート
4日前
日東電工株式会社
光学粘着シート
4日前
日東電工株式会社
光学粘着シート
4日前
日東電工株式会社
反射防止フィルム
2日前
日東電工株式会社
反射防止フィルム
2日前
日東電工株式会社
ガラス樹脂複合体
1か月前
日東電工株式会社
ロール体の製造方法
6日前
日東電工株式会社
光学積層体の製造方法
1か月前
日東電工株式会社
光学積層体の製造方法
3日前
日東電工株式会社
光学積層体の製造方法
3日前
日東電工株式会社
調光用導電性フィルム
16日前
日東電工株式会社
延伸フィルムの製造方法
16日前
日東電工株式会社
延伸フィルムの製造方法
16日前
日東電工株式会社
ウレア化合物の製造方法
10日前
日東電工株式会社
スパイラル型膜モジュール
18日前
日東電工株式会社
フィルムチップの製造方法
1か月前
日東電工株式会社
フィルムチップの製造方法
1か月前
日東電工株式会社
表示システムおよび表示体
1か月前
日東電工株式会社
フィルムチップの製造方法
1か月前
日東電工株式会社
搬送キャリアの再利用方法
1か月前
日東電工株式会社
表示システムおよび表示体
1か月前
日東電工株式会社
表示システムおよび表示体
1か月前
日東電工株式会社
表示システムおよび表示体
1か月前
日東電工株式会社
発泡体、部材、及び放熱構造
16日前
日東電工株式会社
粘着剤および/または接着剤
1か月前
日東電工株式会社
光学積層体および表示システム
1か月前
日東電工株式会社
光学積層体および画像表示装置
1か月前
日東電工株式会社
積層ホログラム素子の製造方法
1か月前
日東電工株式会社
複合体、及び、複合体の製造方法
10日前
続きを見る
他の特許を見る