TOP
|
特許
|
意匠
|
商標
特許ウォッチ
Twitter
他の特許を見る
公開番号
2025144667
公報種別
公開特許公報(A)
公開日
2025-10-03
出願番号
2024044454
出願日
2024-03-21
発明の名称
マッチング支援装置、マッチング支援方法およびコンピュータプログラム
出願人
日本電気株式会社
代理人
個人
,
個人
主分類
G06Q
50/20 20120101AFI20250926BHJP(計算;計数)
要約
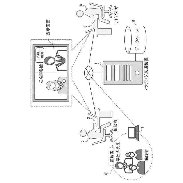
【課題】 相談者とアドバイザとのマッチングを支援する。
【解決手段】 取得部は、相談者の属性情報を取得する。受付部は、相談者に応対するアドバイザの選定について要望するアドバイザの選定条件を、相談者に関係する管理者から受け付ける。選定部は、取得した相談者の属性情報と、管理者から受け付けたアドバイザの選定条件と、複数の登録済みのアドバイザのプロフィール情報とを用いて、複数の登録済みのアドバイザの中から、相談者に応対するアドバイザを選定する。出力部は、選定されたアドバイザを表す選定アドバイザ情報を出力する。
【選択図】 図6
特許請求の範囲
【請求項1】
相談者の属性情報を取得する取得部と、
前記相談者に応対するアドバイザの選定について要望するアドバイザの選定条件を、前記相談者に関係する管理者から受け付ける受付部と、
取得した前記相談者の属性情報と、前記管理者から受け付けたアドバイザの選定条件と、複数の登録済みのアドバイザのプロフィール情報とを用いて、前記複数の登録済みのアドバイザの中から、前記相談者に応対するアドバイザを選定する選定部と、
選定されたアドバイザを表す選定アドバイザ情報を出力する出力部と
を備えるマッチング支援装置。
続きを表示(約 1,300 文字)
【請求項2】
アドバイザに対する批評を表す批評情報を受信する受信部をさらに備え、
受信された批評情報を用いて評価情報が生成された場合には、対応するアドバイザのプロフィール情報に、生成された評価情報が関連付けられており、
前記選定部は、アドバイザを選定する処理において、プロフィール情報に関連付けている評価情報をも用いる
請求項1に記載のマッチング支援装置。
【請求項3】
アドバイザの選定条件として複数の項目が含まれている場合には、当該アドバイザの選定条件には前記複数の項目の中での重要さを表す重み付け情報が含まれており、
前記選定部は、アドバイザを選定する処理において、重み付け情報をも用いる
請求項1に記載のマッチング支援装置。
【請求項4】
前記選定部は、アドバイザの選定のやり直しを要求する再選定要求を受け付け、選定済みのアドバイザを除いた前記複数の登録済みのアドバイザの中からアドバイザを選定し直す再選定処理を行う
請求項1に記載のマッチング支援装置。
【請求項5】
前記選定部は、前記相談者に応対する相談相手の候補として複数のアドバイザを選定し、選定された複数のアドバイザを表す情報にはお薦め順位の情報が関連付けられている
請求項1に記載のマッチング支援装置。
【請求項6】
前記相談者は高校生であり、前記管理者は、保護者と学校の先生とのうちの一方又は両方である
請求項1に記載のマッチング支援装置。
【請求項7】
受信された批評情報を用いて評価情報を生成する生成部をさらに備える
請求項2に記載のマッチング支援装置。
【請求項8】
前記評価情報は、評価スコアを含む
請求項7に記載のマッチング支援装置。
【請求項9】
コンピュータによって、
相談者の属性情報を取得し、
前記相談者に応対するアドバイザの選定について要望するアドバイザの選定条件を、前記相談者に関係する管理者から受け付け、
取得した前記相談者の属性情報と、前記管理者から受け付けたアドバイザの選定条件と、複数の登録済みのアドバイザのプロフィール情報とを用いて、複数の登録済みのアドバイザの中から、前記相談者に応対するアドバイザを選定し、
選定されたアドバイザを表す選定アドバイザ情報を出力する
マッチング支援方法。
【請求項10】
相談者の属性情報を取得する処理と、
前記相談者に応対するアドバイザの選定について要望するアドバイザの選定条件を、前記相談者に関係する管理者から受け付ける処理と、
取得した前記相談者の属性情報と、前記管理者から受け付けたアドバイザの選定条件と、複数の登録済みのアドバイザのプロフィール情報とを用いて、複数の登録済みのアドバイザの中から、前記相談者に応対するアドバイザを選定する処理と、
選定されたアドバイザを表す選定アドバイザ情報を出力する処理と
をコンピュータに実行させるコンピュータプログラム。
発明の詳細な説明
【技術分野】
【0001】
本開示は、相談者とアドバイザ(相談員)とのマッチングについてのマッチング支援装置、マッチング支援方法およびコンピュータプログラムに関する。
続きを表示(約 1,900 文字)
【背景技術】
【0002】
学校から社会・職業への円滑な移行を促すために、社会に出る前の高校などの学校においてキャリア教育が推進されている。これにより、高校生などが将来のキャリアについて考える場合があるが、情報不足により行き詰ってしまうことがある。このようなことを踏まえて、高校生が社会人にキャリアについて相談できる進路相談のサービスの提供が試みられている。
【0003】
なお、特許文献1(特開2021-33683号公報)には、ユーザからの相談を解決するためのアドバイザをマッチングする手法が示されている。特許文献1に示されている手法では、ユーザの入力した問いとアドバイザの属性とに基づきアドバイザのスコアが計算され、計算されたスコアに基づきアドバイザが選定される。さらに、特許文献1では、選定されたアドバイザに質問し、当該質問についての返答に基づきアドバイザの候補リストが生成される。ユーザは、その候補リストの中から選択したアドバイザと相談する。
【先行技術文献】
【特許文献】
【0004】
特開2021-33683号公報
【発明の概要】
【発明が解決しようとする課題】
【0005】
相談サービスにおいて、相談者が多数のアドバイザ(相談員)の中から相談相手となるアドバイザを選択し、選択したアドバイザに相談者が相談するという形式のものがある。このような形式の相談サービスでは、相談者が自身でアドバイザを選択しているが、選択したアドバイザが相談者にとって適切なアドバイザであるとは言えない場合がある。つまり、相談者とアドバイザがマッチしていなかった(合っていなかった)ために、相談者が自身にとって有益な情報やアドバイスをアドバイザから得られず、相談者にとって有意義な相談にならないという残念な結果となってしまう場合がある。
【0006】
本開示は上述したような課題を解決するために考え出された。すなわち、本開示の主な目的は、相談者が自身に合うアドバイザに相談できるように相談者とアドバイザとのマッチングを支援する技術を提供することにある。
【課題を解決するための手段】
【0007】
上記目的を達成するために、本開示に係るマッチング支援装置は、その一態様として、
相談者の属性情報を取得する取得部と、
前記相談者に応対するアドバイザの選定について要望するアドバイザの選定条件を、前記相談者に関係する管理者から受け付ける受付部と、
取得した前記相談者の属性情報と、前記管理者から受け付けたアドバイザの選定条件と、複数の登録済みのアドバイザのプロフィール情報とを用いて、前記複数の登録済みのアドバイザの中から、前記相談者に応対するアドバイザを選定する選定部と、
選定されたアドバイザを表す選定アドバイザ情報を出力する出力部と
を備える。
【0008】
また、本開示に係るマッチング支援方法は、その一態様として、
コンピュータによって、
相談者の属性情報を取得し、
前記相談者に応対するアドバイザの選定について要望するアドバイザの選定条件を、前記相談者に関係する管理者から受け付け、
取得した前記相談者の属性情報と、前記管理者から受け付けたアドバイザの選定条件と、複数の登録済みのアドバイザのプロフィール情報とを用いて、複数の登録済みのアドバイザの中から、前記相談者に応対するアドバイザを選定し、
選定されたアドバイザを表す選定アドバイザ情報を出力する。
【0009】
さらに、本開示に係るコンピュータプログラムは、その一態様として、
相談者の属性情報を取得する処理と、
前記相談者に応対するアドバイザの選定について要望するアドバイザの選定条件を、前記相談者に関係する管理者から受け付ける処理と、
取得した前記相談者の属性情報と、前記管理者から受け付けたアドバイザの選定条件と、複数の登録済みのアドバイザのプロフィール情報とを用いて、複数の登録済みのアドバイザの中から、前記相談者に応対するアドバイザを選定する処理と、
選定されたアドバイザを表す選定アドバイザ情報を出力する処理と
をコンピュータに実行させる。
【発明の効果】
【0010】
本開示によれば、相談者が自身に合うアドバイザに相談できるように相談者とアドバイザとのマッチングを支援できる。
【図面の簡単な説明】
(【0011】以降は省略されています)
この特許をJ-PlatPat(特許庁公式サイト)で参照する
関連特許
日本電気株式会社
学習装置
1か月前
日本電気株式会社
学習装置
1か月前
日本電気株式会社
分析装置
7日前
日本電気株式会社
原子発振器
1か月前
日本電気株式会社
超伝導量子回路
27日前
日本電気株式会社
マルチバンドバラン
25日前
日本電気株式会社
量子回路装置と制御方法
7日前
日本電気株式会社
送信装置および通信装置
3日前
日本電気株式会社
通信装置および通信方法
3日前
日本電気株式会社
量子回路装置と制御方法
7日前
日本電気株式会社
検知装置および検知方法
7日前
日本電気株式会社
移相器およびアンテナ装置
1か月前
日本電気株式会社
移相器およびアンテナ装置
1か月前
日本電気株式会社
移相器およびアンテナ装置
1か月前
日本電気株式会社
端末装置および無線通信方法
18日前
日本電気株式会社
分析方法および分析システム
4日前
日本電気株式会社
機器冷却装置及びその冷却方法
19日前
日本電気株式会社
共振器及びそれを備えた導波回路
5日前
日本電気株式会社
処理装置、方法、及びプログラム
1か月前
日本電気株式会社
プログラム、算出装置、及び方法
19日前
日本電気株式会社
ケージ、光伝送装置及び挿抜方法
1か月前
日本電気株式会社
TS合成装置および放送システム
1か月前
日本電気株式会社
システム及びマイグレーション方法
7日前
日本電気株式会社
ピーク抑圧装置及びピーク抑圧方法
17日前
日本電気株式会社
推定装置、推定方法及びプログラム
10日前
日本電気株式会社
推定装置、推定方法及びプログラム
10日前
日本電気株式会社
リング共振器、およびその製造方法
1か月前
日本電気株式会社
リング共振器、およびその製造方法
1か月前
日本電気株式会社
処理装置、処理方法、及びプログラム
1か月前
日本電気株式会社
波長可変レーザ装置及びその構成方法
3日前
日本電気株式会社
処理装置、処理方法、及びプログラム
1か月前
日本電気株式会社
処理装置、処理方法、及びプログラム
7日前
日本電気株式会社
画像管理システムおよび画像管理方法
5日前
日本電気株式会社
推定装置、推定方法、及び、記録媒体
4日前
日本電気株式会社
注文端末、注文受付方法及びプログラム
3日前
日本電気株式会社
通信装置、通信方法及び通信プログラム
4日前
続きを見る
他の特許を見る