TOP
|
特許
|
意匠
|
商標
特許ウォッチ
Twitter
他の特許を見る
公開番号
2025144331
公報種別
公開特許公報(A)
公開日
2025-10-02
出願番号
2024044063
出願日
2024-03-19
発明の名称
検出システム、検出装置、検出方法及びプログラム
出願人
株式会社リコー
代理人
弁理士法人志賀国際特許事務所
主分類
G06T
7/11 20170101AFI20250925BHJP(計算;計数)
要約
【課題】微小な検出対象の画像を撮像画像において検出する性能を安定化させる。
【解決手段】検出システムは、候補生成部と、前処理部と、検出部とを備える。候補生成部は、検出対象を有する物体の画像とノイズ画像とを含む検出用の撮像画像から、検出対象が撮像された検出対象画像の候補を生成する。前処理部は、検出用の撮像画像を小領域に分割した小領域画像ごとに、その小領域画像の画像特徴量に基づいて検出対象を有する物体とは異なる被写体の特徴を有しているか否かを判定し、判定結果に基づいて撮像画像における除外領域を得る。検出部は、除外領域に含まれない検出対象画像の候補のうちから所定の検出処理により検出対象画像を検出する。
【選択図】図1
特許請求の範囲
【請求項1】
検出対象を有する物体の画像とノイズ画像とを含む検出用の撮像画像から、前記検出対象が撮像された検出対象画像の候補を生成する候補生成部と、
検出用の前記撮像画像を小領域に分割した小領域画像ごとに、前記小領域画像の画像特徴量に基づいて検出対象を有する前記物体とは異なる被写体の特徴を有しているか否かを判定し、判定結果に基づいて前記撮像画像における除外領域を得る前処理部と、
前記除外領域に含まれない前記検出対象画像の候補のうちから所定の検出処理により前記検出対象画像を検出する検出部と、
を備える検出システム。
続きを表示(約 1,500 文字)
【請求項2】
前記前処理部は、前記検出対象に類似した構造が出現する前記小領域画像、または、前記検出対象の構造が認められにくい前記小領域画像が得られた小領域を除外領域とする、
請求項1に記載の検出システム。
【請求項3】
前記前処理部は、検出対象画像の検出に適さない領域の画像を用いて学習された機械学習モデルを用いて前記判定を行う、
請求項1に記載の検出システム。
【請求項4】
検出対象を有する物体の画像とノイズ画像とを含む学習用の撮像画像から取得した小領域画像と、検出対象を有する前記物体とは異なる被写体を含むか否かのラベル情報とに基づいて前記機械学習モデルを学習する学習部をさらに備える、
請求項3に記載の検出システム。
【請求項5】
前記検出部は、前記候補生成部が生成した前記検出対象画像の候補うちから前記所定の検出処理により前記検出対象画像を検出し、検出した前記検出対象画像のうちから前記除外領域に含まれる検出対象画像を除外する、
請求項1に記載の検出システム。
【請求項6】
検出対象を有する物体の画像とノイズ画像とを含む学習用の撮像画像から得られた検出対象画像の候補と、当該候補が検出対象画像であるか否かのラベル情報とに基づいて機械学習モデルを学習する学習部をさらに備え、
前記検出部は、前記機械学習モデルを用いて、前記検出用の撮像画像において、前記除外領域に含まれない前記検出対象画像の候補のうちから前記検出対象画像を検出する、
請求項1に記載の検出システム。
【請求項7】
前記前処理部は、検出用の前記撮像画像における前記検出対象の周囲の構造の画像特徴量に基づいて、前記検出対象画像の候補のうちから前記所定の検出処理を行う対象を抽出する、
請求項1に記載の検出システム。
【請求項8】
前記前処理部は、検出用の前記撮像画像における前記検出対象の周囲の構造に応じた線状画像に基づいて、前記検出対象画像の候補のうちから前記所定の検出処理を行う対象を抽出する、
請求項7に記載の検出システム。
【請求項9】
検出対象を有する物体の画像とノイズ画像とを含む検出用の撮像画像から、前記検出対象が撮像された検出対象画像の候補を生成する候補生成部と、
検出用の前記撮像画像を小領域に分割した小領域画像ごとに、前記小領域画像の画像特徴量に基づいて検出対象を有する前記物体とは異なる被写体の特徴を有しているか否かを判定し、判定結果に基づいて前記撮像画像における除外領域を得る前処理部と、
前記除外領域に含まれない前記検出対象画像の候補のうちから所定の検出処理により前記検出対象画像を検出する検出部と、
を有する検出装置。
【請求項10】
検出対象を有する物体の画像とノイズ画像とを含む検出用の撮像画像から、前記検出対象が撮像された検出対象画像の候補を生成する候補生成ステップと、
検出用の前記撮像画像を小領域に分割した小領域画像ごとに、前記小領域画像の画像特徴量に基づいて検出対象を有する前記物体とは異なる被写体の特徴を有しているか否かを判定し、判定結果に基づいて前記撮像画像における除外領域を得る前処理ステップと、
前記除外領域に含まれない前記検出対象画像の候補のうちから所定の検出処理により前記検出対象画像を検出する検出ステップと、
を有する検出方法。
(【請求項11】以降は省略されています)
発明の詳細な説明
【技術分野】
【0001】
本発明は、検出システム、検出装置、検出方法及びプログラムに関する。
続きを表示(約 1,600 文字)
【背景技術】
【0002】
所定の倍率で撮像された画像(撮像画像)における微小な検出対象の画像を検出する技術がある。また、粒子解析等の画像処理アルゴリズムが知られている。
【0003】
しかしながら、粒子解析等の画像処理アルゴリズムでは、例えば、撮像画像における粒状の微小な検出対象とノイズとを区別することは難しい。このため、微小な検出対象と大量のノイズとの両方が撮像画像から抽出されてしまい、粒子解析の精度が低下することがある。また、蛍光染色、実験条件又は検出対象によっては、撮像画像の画質が低下することで、撮像画像における検出対象とノイズとの区別が難しくなることがある。
【0004】
細胞種及び組織を分類するための画像処理アルゴリズムでは、細胞種等を観察者が分類できる程度の倍率と観察機器とを用いて分類が実行されており、大量のノイズを含む撮像画像における微小な物体は、検出対象とされていない。また、微小な検出対象の形状は撮像画像において不明瞭であることから、その形状の特徴に単に着目しただけでは、撮像画像における検出対象の画像とノイズ画像とを区別することができない場合がある。
【0005】
また、特に細胞腫や組織などが空間的に分布している場合、領域によって密度に差が存在することがある。密度の高い領域では、細胞腫や組織など検出対象とは異なる被写体によって検出対象の微小な形状の視認性が低下し、検出が阻害されることで検出性能が不安定となる場合がある。
【発明の概要】
【発明が解決しようとする課題】
【0006】
本発明は、微小な検出対象の画像を撮像画像において検出する性能を安定化させることができる検出システム、検出装置、検出方法及びプログラムを提供することを目的とする。
【課題を解決するための手段】
【0007】
本発明の一態様は、検出対象を有する物体の画像とノイズ画像とを含む検出用の撮像画像から、前記検出対象が撮像された検出対象画像の候補を抽出する候補抽出部と、検出用の前記撮像画像を小領域に分割した小領域画像ごとに、前記小領域画像の画像特徴量に基づいて検出対象を有する前記物体とは異なる被写体の特徴を有しているか否かを判定し、判定結果に基づいて前記撮像画像における除外領域を得る前処理部と、前記除外領域に含まれない前記検出対象画像の候補のうちから所定の検出処理により前記検出対象画像を検出する検出部と、を備える検出システムである。
【発明の効果】
【0008】
本発明によれば、微小な検出対象の画像を撮像画像において検出する性能を安定化させることができる。
【図面の簡単な説明】
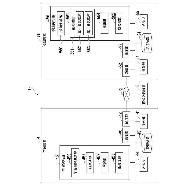
【0009】
第1実施形態における、検出システムの構成例を示す図である。
第1実施形態における、撮像画像に対する第一前処理の例を示す図である。
第1実施形態における、撮像画像に対する第二前処理の例を示す図である。
第1実施形態における、検出用の撮像画像に対する前処理及び検出処理の例を示す図である。
第1実施形態における、検出装置の動作例を示すフローチャートである。
第2実施形態における、検出システムの構成例を示す図である。
第2実施形態における、検出装置の第二前処理の動作例を示す図である。
第3実施形態における、検出システムの構成例を示す図である。
第3実施形態における、学習用の撮像画像の例を示す図である。
第3実施形態における、教師データの例を示す図である。
第3実施形態における、学習段階の学習装置の動作例を示すフローチャートである。
【発明を実施するための形態】
【0010】
本発明の実施形態について、図面を参照して詳細に説明する。
(【0011】以降は省略されています)
この特許をJ-PlatPat(特許庁公式サイト)で参照する
関連特許
個人
QRコードの彩色
4日前
個人
地球保全システム
13日前
個人
残土処理システム
6日前
個人
知的財産出願支援システム
7日前
株式会社キーエンス
受発注システム
12日前
個人
食品レシピ生成システム
12日前
株式会社キーエンス
受発注システム
12日前
株式会社キーエンス
受発注システム
12日前
キヤノン株式会社
表示システム
12日前
個人
帳票自動生成型SaaSシステム
7日前
個人
音声・通知・再配達UX制御構造
7日前
フリー株式会社
情報処理システム
19日前
株式会社キーエンス
製品受発注システム
12日前
個人
マーケティング活動支援装置
11日前
株式会社カネカ
製造工場の管理システム
7日前
大同特殊鋼株式会社
棒材計数方法
5日前
TOTO株式会社
衛生評価システム
5日前
株式会社梓総合研究所
冷却システム
11日前
個人
本人認証連動型帳票出力支援システム
15日前
株式会社オカムラ
電力供給システム
4日前
TOTO株式会社
姿勢評価システム
5日前
ブラザー工業株式会社
サポートプログラム
18日前
ワキ製薬株式会社
配置薬管理システム
11日前
中国電力株式会社
空き家判定システム
4日前
株式会社カネカ
生産計画立案システム
15日前
株式会社栗本鐵工所
触覚提示システム
5日前
株式会社栗本鐵工所
触覚提示システム
5日前
本田技研工業株式会社
会話装置
11日前
株式会社栗本鐵工所
触覚提示システム
5日前
株式会社栗本鐵工所
触覚提示システム
5日前
株式会社国際電気
タスク管理システム
11日前
株式会社北國銀行
勘定系システム
15日前
株式会社JVCケンウッド
画像表示方法
5日前
株式会社JVCケンウッド
画像表示方法
5日前
個人
冷凍食品ギフトおよび定期便支援システム
19日前
株式会社デンソー
移動体制御装置
12日前
続きを見る
他の特許を見る