TOP
|
特許
|
意匠
|
商標
特許ウォッチ
Twitter
他の特許を見る
10個以上の画像は省略されています。
公開番号
2025144217
公報種別
公開特許公報(A)
公開日
2025-10-02
出願番号
2024043888
出願日
2024-03-19
発明の名称
長繊維不織布、繊維製品、ワイピングクロス、クリーンルーム用物品、積層体及び長繊維不織布の製造方法
出願人
エム・エーライフマテリアルズ株式会社
代理人
弁理士法人太陽国際特許事務所
主分類
D04H
3/14 20120101AFI20250925BHJP(組みひも;レース編み;メリヤス編成;縁とり;不織布)
要約
【課題】かき取り性能に優れる長繊維不織布が提供される。
【解決手段】本開示の長繊維不織布は、熱可塑性樹脂を含む複数の長繊維を備える。当該長繊維不織布は、前記複数の長繊維の一部が結合して形成された複数のエンボス部を有する。複数のエンボス部は、不規則なパターンで配置されている。
【選択図】図6
特許請求の範囲
【請求項1】
熱可塑性樹脂を含む複数の長繊維を備え、
前記複数の長繊維の一部が結合して形成された複数のエンボス部を有し、
前記複数のエンボス部が、不規則なパターンで配置されている、長繊維不織布。
続きを表示(約 780 文字)
【請求項2】
前記複数の長繊維が、複数のポリエステル系重合体長繊維(A)と、複数のプロピレン系重合体長繊維(B)とを含む、請求項1に記載の長繊維不織布。
【請求項3】
前記複数のポリエステル系重合体長繊維(A)が、複数のポリ乳酸系重合体長繊維を含む、請求項2に記載の長繊維不織布。
【請求項4】
前記複数の長繊維が、複数の分割繊維を分割して形成された複数の極細長繊維を含む、請求項1~請求項3のいずれか1項に記載の長繊維不織布。
【請求項5】
前記複数の長繊維の50%繊度が、0.50デニール以下である、請求項1~請求項3のいずれか1項に記載の長繊維不織布。
【請求項6】
請求項1~請求項3のいずれか1項に記載の長繊維不織布を含む、繊維製品。
【請求項7】
請求項1~請求項3のいずれか1項に記載の長繊維不織布を含む、ワイピングクロス。
【請求項8】
請求項1~請求項3のいずれか1項に記載の長繊維不織布を含む、クリーンルーム用物品。
【請求項9】
複数の層を備え、
前記複数の層のうちの少なくとも1つの層が、請求項1~請求項3のいずれか1項に記載の長繊維不織布を含む、積層体。
【請求項10】
請求項1に記載の長繊維不織布を製造する方法であって、
前記熱可塑性樹脂を含む複数の長繊維を有するウェブを準備することと、
55℃以下の表面温度を有するエンボスロールを用いて、前記ウェブに加熱加圧処理を施して、長繊維不織布前駆体を作製することと、
高圧流体流で前記長繊維不織布前駆体を交絡して、前記長繊維不織布を作製することと、を含む、長繊維不織布の製造方法。
(【請求項11】以降は省略されています)
発明の詳細な説明
【技術分野】
【0001】
本発明は、長繊維不織布、繊維製品、ワイピングクロス、クリーンルーム用物品、積層体及び長繊維不織布の製造方法に関する。
続きを表示(約 3,100 文字)
【背景技術】
【0002】
極細繊維からなる不織布は、柔軟性などに優れる。そのため、極細繊維からなる不織布は、衣料、使い捨てオムツ、衛生用品、又はワイピングクロスなどの材料として広く使用されている。
【0003】
特許文献1は、分割繊維不織布を開示している。当該分割繊維不織布は、特定のポリエステル(A)と特定のポリオレフィン(B)とを、ポリエステル(A)部とポリオレフィン(B)部とが互いに接するように、複合紡糸ノズルを有する紡糸口金から吐出させて複合長繊維を紡出し、その紡出された複合長繊維を、冷却流体により冷却しながら、さらにその流体または別の流体によって張力を加えて該長繊維を細くし、捕集ベルト上に堆積させて、次いで高圧液体流を用いて複合長繊維をポリエステル(A)部とポリオレフィン(B)とに分割することで得られる。
【先行技術文献】
【特許文献】
【0004】
国際公開第2007/105503号
【発明の概要】
【発明が解決しようとする課題】
【0005】
特許文献1に開示の長繊維不織布は、ダストのかき取り性能に改善の余地がある。
【0006】
本開示の一実施形態が解決しようとする課題は、かき取り性能に優れる長繊維不織布、繊維製品、ワイピングクロス、クリーンルーム用物品、及び積層体を提供することである。
本開示の他の実施形態が解決しようとする課題は、かき取り性能に優れる長繊維不織布を製造することができる長繊維不織布の製造方法を提供することである。
【課題を解決するための手段】
【0007】
前記課題を解決するための具体的手段には、下記の態様が含まれる。
<1> 熱可塑性樹脂を含む複数の長繊維を備え、
前記複数の長繊維の一部が結合して形成された複数のエンボス部を有し、
前記複数のエンボス部が、不規則なパターンで配置されている、長繊維不織布。
<2> 前記複数の長繊維が、複数のポリエステル系重合体長繊維(A)と、複数のプロピレン系重合体長繊維(B)とを含む、前記<1>に記載の長繊維不織布。
<3> 前記複数のポリエステル系重合体長繊維(A)が、複数のポリ乳酸系重合体長繊維を含む、前記<2>に記載の長繊維不織布。
<4> 前記複数の長繊維が、複数の分割繊維を分割して形成された複数の極細長繊維を含む、前記<1>~<3>のいずれか1つに記載の長繊維不織布。
<5> 前記複数の長繊維の50%繊度が、0.50デニール以下である、前記<1>~<4>のいずれか1つに記載の長繊維不織布。
<6> 前記<1>~<5>のいずれか1つに記載の長繊維不織布を含む、繊維製品。
<7> 前記<1>~<5>のいずれか1つに記載の長繊維不織布を含む、ワイピングクロス。
<8> 前記<1>~<5>のいずれか1つに記載の長繊維不織布を含む、クリーンルーム用物品。
<9> 複数の層を備え、
前記複数の層のうちの少なくとも1つの層が、前記<1>~<5>のいずれか1つに記載の長繊維不織布を含む、積層体。
<10> 前記<1>~<5>のいずれか1つに記載の長繊維不織布を製造する方法であって、
前記熱可塑性樹脂を含む複数の長繊維を有するウェブを準備することと、
55℃以下の表面温度を有するエンボスロールを用いて、前記ウェブに加熱加圧処理を施して、長繊維不織布前駆体を作製することと、
高圧流体流で前記長繊維不織布前駆体を交絡して、前記長繊維不織布を作製することと、を含む、長繊維不織布の製造方法。
<11> 前記複数の長繊維が、複数の分割繊維を含み、
前記分割繊維が、ポリ乳酸系重合体を含む少なくとも1つの部位(A)と、プロピレン系重合体を含む少なくとも1つの部位(B)と、を有し、
前記長繊維不織布を作製することにおいて、高圧流体流で前記長繊維不織布前駆体を交絡し、1つの前記分割繊維から複数の極細長繊維を分割して、前記長繊維不織布を作製し、
前記複数の極細長繊維が、前記部位(A)を含む少なくとも1つのポリエステル長繊維(A)と、前記部位(B)を含む少なくとも1つのプロピレン系重合体長繊維(B)とを含む、前記<10>に記載の長繊維不織布の製造方法。
<12> 前記エンボスロールの表面温度が、30℃~45℃である、前記<10>又は<11>に記載の長繊維不織布の製造方法。
【発明の効果】
【0008】
本開示の一形態によれば、かき取り性能に優れる長繊維不織布、繊維製品、ワイピングクロス、クリーンルーム用物品、及び積層体が提供される。
本開示の他の形態によれば、かき取り性能に優れる長繊維不織布を製造することができる長繊維不織布の製造方法が提供される。
【図面の簡単な説明】
【0009】
図1は、エンボス模様の一例を示す長繊維不織布の正面図である。
図2は、エンボス模様の他の例を示す長繊維不織布の正面図である。
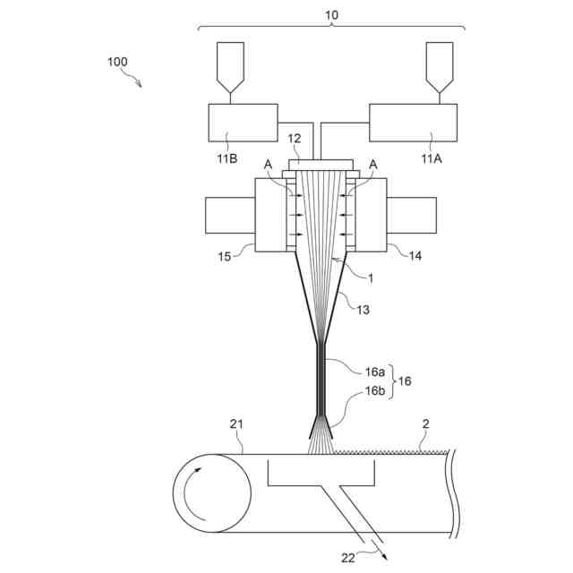
図3は、密閉式スピンレイ積層に用いられる製造装置の一例を示す概略図である。
図4は、分割繊維用紡糸口金の一例を示す概略図である。
図5は、実施例1の長繊維不織布の正面写真である。
図6は、実施例2の長繊維不織布の正面写真である。
図7は、実施例3の長繊維不織布の正面写真である。
図8は、比較例1の長繊維不織布の正面写真である。
図9は、比較例2の長繊維不織布の正面写真である。
図10は、比較例3の長繊維不織布の正面写真である。
図11は、比較例4の長繊維不織布の正面写真である。
【発明を実施するための形態】
【0010】
以下に、本開示の実施形態について説明する。これらの説明及び実施例は実施形態を例示するものであり、実施形態の範囲を制限するものではない。
本開示中に段階的に記載されている数値範囲において、一つの数値範囲で記載された上限値又は下限値は、他の段階的な記載の数値範囲の上限値又は下限値に置き換えてもよい。本開示中に記載されている数値範囲において、その数値範囲の上限値又は下限値は、実施例に示されている値に置き換えてもよい。
本開示において各成分は該当する物質を複数種含んでいてもよい。本開示において組成物中の各成分の量について言及する場合、組成物中に各成分に該当する物質が複数種存在する場合には、特に断らない限り、組成物中に存在する当該複数種の物質の合計量を意味する。
本開示において「工程」との語は、独立した工程だけではなく、他の工程と明確に区別できない場合であってもその工程の目的が達成されれば、本用語に含まれる。本開示において「~」を用いて示された数値範囲は、「~」の前後に記載される数値をそれぞれ最小値及び最大値として含む範囲を示す。本開示において組成物中の各成分の含有量は、組成物中に各成分に該当する物質が複数種存在する場合、特に断らない限り、組成物中に存在する当該複数種の物質の合計量を意味する。
(【0011】以降は省略されています)
この特許をJ-PlatPat(特許庁公式サイト)で参照する
関連特許
東レ株式会社
編地
4か月前
東レ株式会社
不織布の製造装置
28日前
日本エステル株式会社
クッション体
2か月前
東レ株式会社
編物、繊維製品および詰め物
4か月前
ユニチカ株式会社
化粧料含浸用基布の製造方法
2か月前
グンゼ株式会社
編地及び繊維製品
1か月前
モリト株式会社
紐体を用いた連結体
2か月前
ユニチカトレーディング株式会社
油吸着材用不織布
1か月前
セーレン株式会社
緯編地
4か月前
東洋紡エムシー株式会社
農作物保護用生分解性不織布。
28日前
東レ株式会社
不織布の製造装置および不織布の製造方法
1か月前
株式会社島精機製作所
編地の編成方法、および編地
2か月前
日本製紙クレシア株式会社
ローション不織布
2か月前
株式会社島精機製作所
編地の編成方法、および編地
1か月前
セイコーエプソン株式会社
シート製造装置
1日前
セイコーエプソン株式会社
シート製造装置
1日前
セイコーエプソン株式会社
シート製造装置
16日前
セイコーエプソン株式会社
シート製造装置
1日前
セイコーエプソン株式会社
シート製造装置
13日前
セイコーエプソン株式会社
シート製造装置
16日前
ユニチカ株式会社
シート
4か月前
株式会社ヴィオレッタ
メッシュ経編地及び繊維製品
3か月前
花王株式会社
吸収性物品用不織布
1か月前
日本製紙クレシア株式会社
複合型不織布
1か月前
大和紡績株式会社
積層不織布、および液体含浸シート
27日前
日本毛織株式会社
編地及び衣類
1か月前
東レ株式会社
不織布およびその製造方法ならびに積層体、衣料、雑貨
1か月前
東レ株式会社
エレクトレットメルトブロー不織布およびその製造方法
1か月前
東洋紡エムシー株式会社
肌への密着性に優れるフェイスマスク用基材
1か月前
東洋紡エムシー株式会社
生分解性不織布、その用途及びその製造方法。
1か月前
帝人フロンティア株式会社
中綿および中綿評価方法および詰め物製品
3か月前
東レ・ファインケミカル株式会社
メルトブロー不織布およびマスク濾材
23日前
東レ株式会社
スパンボンド不織布およびその製造方法ならびに積層体、表皮材
28日前
ユニチカ株式会社
ポリエステル系長繊維不織布
28日前
日本バイリーン株式会社
摩擦帯電不織布、および、当該摩擦帯電不織布を備えた濾材
4か月前
大和紡績株式会社
編地、その製造方法及び衣料
1か月前
続きを見る
他の特許を見る