TOP
|
特許
|
意匠
|
商標
特許ウォッチ
Twitter
他の特許を見る
10個以上の画像は省略されています。
公開番号
2025142343
公報種別
公開特許公報(A)
公開日
2025-09-30
出願番号
2025127702,2022510032
出願日
2025-07-30,2021-03-18
発明の名称
半導体装置
出願人
ローム株式会社
代理人
個人
主分類
H01L
21/60 20060101AFI20250919BHJP(基本的電気素子)
要約
【課題】 より適切な半導体装置を提供すること。
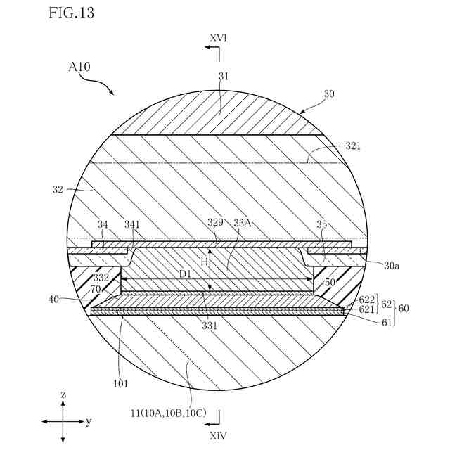
【解決手段】 半導体装置は、厚さ方向において互いに反対側を向く素子第1面および素子第2面と、前記素子第1面側に設けられた電極と、を有する半導体素子と、前記素子第1面に対向する主面および前記主面とは反対側を向く裏面を有する導通部材と、前記電極と前記導通部材の前記主面との間に介在する導電接合材と、前記導通部材の少なくとも一部、前記半導体素子、および前記導電接合材を覆う樹脂部と、前記電極と前記導電接合材との間に介在し且つ前記電極と前記導電接合材との化合反応を抑制する第1バリア層と、前記素子第1面および前記樹脂部の間に介在し且つ前記電極の一部を覆う表面保護膜と、を備える。
【選択図】 図13
特許請求の範囲
【請求項1】
厚さ方向において互いに反対側を向く素子第1面および素子第2面と、前記素子第1面側に設けられた電極と、を有する半導体素子と、
前記素子第1面に対向する主面および前記主面とは反対側を向く裏面を有する導通部材と、
前記電極と前記導通部材の前記主面との間に介在する導電接合材と、
前記導通部材の少なくとも一部、前記半導体素子、および前記導電接合材を覆う樹脂部と、
前記電極と前記導電接合材との間に介在し且つ前記電極と前記導電接合材との化合反応を抑制する第1バリア層と、
前記素子第1面および前記樹脂部の間に介在し且つ前記電極の一部を覆う表面保護膜と、
を備える、半導体装置。
続きを表示(約 950 文字)
【請求項2】
厚さ方向において互いに反対側を向く素子第1面および素子第2面と、前記素子第1面側に設けられた複数の電極と、を有する半導体素子と、
前記素子第1面に対向する主面および前記主面とは反対側を向く裏面を有する導通部材と、
前記電極と前記導通部材の前記主面との間に介在する導電接合材と、
前記導通部材の少なくとも一部、前記半導体素子、および前記導電接合材を覆う樹脂部と、
前記電極と前記導電接合材との間に介在し且つ前記電極と前記導電接合材との化合反応を抑制する第1バリア層と、
前記素子第1面および前記樹脂部の間に介在する表面保護膜と、を備え、
前記各電極は、前記表面保護膜に接し、
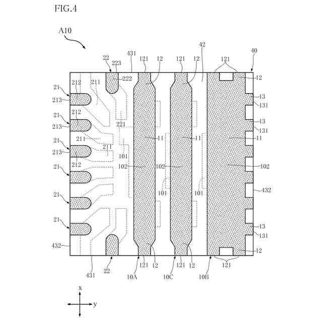
前記複数の電極は、各列が第2方向に沿い且つ前記第2方向と直交する第1方向に互いに離れて位置する複数列をなし、
前記第1方向において隣り合う2列に含まれる前記各電極同士は、前記第2方向における位置が互いに異なる、半導体装置。
【請求項3】
前記電極は、Cuを含む、請求項1または2に記載の半導体装置。
【請求項4】
前記導通部材は、Cuを含む、請求項1ないし3のいずれかに記載の半導体装置。
【請求項5】
前記第1バリア層は、Niを含む、請求項1ないし4のいずれかに記載の半導体装置。
【請求項6】
前記導電接合材は、Snを含む、請求項1ないし5のいずれかに記載の半導体装置。
【請求項7】
前記電極と前記第1バリア層とは、互いに接している、請求項1ないし6のいずれかに記載の半導体装置。
【請求項8】
前記導電接合材と前記第1バリア層とは、互いに接している、請求項1ないし7のいずれかに記載の半導体装置。
【請求項9】
前記導通部材と前記導電接合材との間に介在し且つ前記導通部材と前記導電接合材との化合反応を抑制する第2バリア層をさらに備える、請求項1ないし8のいずれかに記載の半導体装置。
【請求項10】
前記第2バリア層は、Niを含む、請求項9に記載の半導体装置。
(【請求項11】以降は省略されています)
発明の詳細な説明
【技術分野】
【0001】
本開示は、半導体装置に関する。
続きを表示(約 1,000 文字)
【背景技術】
【0002】
従来、半導体装置の一例として、半導体素子がフリップチップの搭載形態でリードに搭載された構成が提案されている。
【0003】
たとえば、特許文献1に開示された半導体装置は、複数の電極を有する半導体素子と、複数のリードと、半導体素子を覆う樹脂部とを備える。複数の電極が複数のリードにはんだによって接合されており、半導体素子はフリップチップの形態で複数のリードに搭載されている。
【先行技術文献】
【特許文献】
【0004】
特表2007-518282号公報
【発明の概要】
【発明が解決しようとする課題】
【0005】
半導体装置の使用環境や動作条件によって、半導体装置の温度の上昇と下降とが繰り返される場合がある。この際、たとえば半導体素子とリードとの熱膨張差に起因して熱応力が発生する。この熱応力によって、はんだと電極との接合部分に亀裂が生じると、半導体装置の適切な動作が阻害されてしまうおそれがある。
【0006】
上記事情に鑑み、本開示は、はんだと電極との接合界面に亀裂が生じることを抑制可能な半導体装置を提供することを一の課題とする。
【課題を解決するための手段】
【0007】
本開示によって提供される半導体装置は、半導体素子と、導通部材と、導電接合材と、樹脂部と、第1バリア層とを備える。前記半導体素子は、厚さ方向において互いに反対側を向く素子第1面および素子第2面と、前記素子第1面側に設けられた電極と、を有する。前記導通部材は、前記素子第1面に対向する主面および前記主面とは反対側を向く裏面を有する。前記導電接合材は、前記電極と前記導通部材の前記主面との間に介在する。前記樹脂部は、前記導通部材の少なくとも一部、前記半導体素子、および前記導電接合材を覆う。前記第1バリア層は、前記電極と前記導電接合材との間に介在し且つ前記電極と前記導電接合材との化合反応を抑制する。
【0008】
好ましくは、前記電極は、Cuを含む。
【0009】
好ましくは、前記導通部材は、Cuを含む。
【0010】
好ましくは、前記第1バリア層は、Niを含む。
(【0011】以降は省略されています)
この特許をJ-PlatPat(特許庁公式サイト)で参照する
関連特許
ローム株式会社
タイマ
7日前
ローム株式会社
監視回路
3日前
ローム株式会社
電子装置
3日前
ローム株式会社
発振回路
3日前
ローム株式会社
半導体装置
3日前
ローム株式会社
半導体装置
1日前
ローム株式会社
半導体装置
1日前
ローム株式会社
半導体装置
7日前
ローム株式会社
半導体装置
1日前
ローム株式会社
半導体装置
14日前
ローム株式会社
メモリ装置
3日前
ローム株式会社
半導体装置
13日前
ローム株式会社
半導体装置
3日前
ローム株式会社
半導体装置
1日前
ローム株式会社
信号出力回路
13日前
ローム株式会社
信号出力回路
13日前
ローム株式会社
半導体記憶装置
6日前
ローム株式会社
定電圧生成回路
13日前
ローム株式会社
半導体集積回路
14日前
ローム株式会社
縦型ホール素子
3日前
ローム株式会社
半導体記憶装置
6日前
ローム株式会社
TVSダイオード
1日前
ローム株式会社
半導体モジュール
3日前
ローム株式会社
TVSダイオード
1日前
ローム株式会社
差動回路及び発振器
15日前
ローム株式会社
半導体集積回路装置
21日前
ローム株式会社
半導体装置および車両
14日前
ローム株式会社
電界効果トランジスタ
3日前
ローム株式会社
電源回路用の電子負荷装置
7日前
ローム株式会社
表示装置及びソースドライバ
14日前
ローム株式会社
差動アンプおよび半導体装置
13日前
ローム株式会社
振幅制限回路及びオペアンプ
3日前
ローム株式会社
LEDドライバ及び表示装置
3日前
ローム株式会社
半導体素子および半導体装置
15日前
ローム株式会社
半導体装置、電子機器、車両
14日前
ローム株式会社
ソースドライバ及び表示装置
14日前
続きを見る
他の特許を見る