TOP
|
特許
|
意匠
|
商標
特許ウォッチ
Twitter
他の特許を見る
10個以上の画像は省略されています。
公開番号
2025142295
公報種別
公開特許公報(A)
公開日
2025-09-30
出願番号
2025126472,2024031334
出願日
2025-07-29,2024-03-01
発明の名称
カートリッジおよびカートリッジの再利用方法
出願人
キヤノン株式会社
代理人
個人
,
個人
,
個人
,
個人
,
個人
主分類
B41J
2/175 20060101AFI20250919BHJP(印刷;線画機;タイプライター;スタンプ)
要約
【課題】環境に配慮し、再利用可能なカートリッジを提供する。
【解決手段】液体を保持する吸収体と、開口と、吸収体を収容する吸収体収容室と、を備えるタンクと、タンクの開口に接合されている蓋部材と、吸収体収容室の中に位置する吸収体と蓋部材との間に配置され、突起部を備える隔壁部材と、を有するカートリッジであって、隔壁部材の突起部が吸収体と当接し、蓋部材と隔壁部材とが別部材であることを特徴とする。すなわち、脱炭素/循環型社会などの持続可能な社会の実現に貢献し得る。
【選択図】 図3
特許請求の範囲
【請求項1】
内部に液体を収容するカートリッジの製造方法であって、
液体を保持するための吸収体と、開口を形成する開口部および前記吸収体を収容するための吸収体収容室を備えるタンクと、前記タンクの前記開口部に接合される蓋部材と、前記吸収体収容室の中に位置する前記吸収体と前記蓋部材との間に配置され、かつ、前記蓋部材と篏合される隔壁部材と、を有し、内部に収容する液体が消費された使用済みカートリッジを準備する工程と、
前記隔壁部材と篏合している前記蓋部材を前記開口部から分離する工程と、
篏合されている前記蓋部材と前記隔壁部材とを分離する工程と、
液体を前記吸収体収容室に注入する工程と、
前記分離した蓋部材とは別の蓋部材と前記隔壁部材とを嵌合する工程と、
前記隔壁部材と篏合している前記別の蓋部材と前記開口部とを接合する工程と、
を含むことを特徴とするカートリッジの製造方法。
続きを表示(約 730 文字)
【請求項2】
前記注入する工程に先立って、前記吸収体収容室から前記吸収体を取り出す工程を含む、請求項1に記載のカートリッジの製造方法。
【請求項3】
前記取り出す工程の後、かつ、前記接合する工程に先立って、前記吸収体収容室の内部を洗浄する工程を含む、請求項2に記載のカートリッジの製造方法。
【請求項4】
前記取り出す工程の後、かつ、前記接合する工程に先立って、前記取り出す工程において取り出した前記吸収体とは別の吸収体を前記吸収体収容室に挿入する、請求項2に記載のカートリッジの製造方法。
【請求項5】
前記隔壁部材は前記吸収体と当接する突起部を備える、請求項1に記載のカートリッジの製造方法。
【請求項6】
前記蓋部材は、前記隔壁部材を介して前記吸収体を押圧する、請求項1に記載のカートリッジの製造方法。
【請求項7】
前記分離する工程は、前記開口部に溶着されている前記蓋部材を前記開口部から分離する、請求項1に記載のカートリッジの製造方法。
【請求項8】
前記接合する工程は、前記別の蓋部材と前記開口部とを溶着させる、請求項1に記載のカートリッジの製造方法。
【請求項9】
前記蓋部材と前記隔壁部材とは、前記隔壁部材が有する貫通孔に前記蓋部材が有する支柱部が挿入されて篏合している、請求項1に記載のカートリッジの製造方法。
【請求項10】
前期篏合する工程は、前記隔壁部材が有する貫通孔に前記別の蓋部材が有する支柱部を挿入することで篏合させる、請求項1に記載のカートリッジの製造方法。
(【請求項11】以降は省略されています)
発明の詳細な説明
【技術分野】
【0001】
本開示は、インクジェット記録装置に着脱自在に搭載される、インクなどの液体を収容したカートリッジに関する。
続きを表示(約 1,900 文字)
【背景技術】
【0002】
脱炭素/循環型社会などの持続可能な社会の実現のためには、再利用可能な記録方式のカートリッジが求められている。
【0003】
記録方式のカートリッジには、記録材を吐出する記録部と、記録材を吸収体に吸収させることで収容する液体収容室とが一体的に構成されたタイプのものが知られている。特許文献1では、本体部材の内部にインク吸収体を有し、インク吸収体内に保持されているインクはフィルタ、インク流路を通って記録素子基板に供給されるカートリッジの例が記載されている。特許文献1では、本体部材の開口には蓋部材が溶着されており、内部空間を区画している。このタイプのカートリッジは、予め収容されているインクが枯渇すると、新しいカートリッジに交換されるものである。
【先行技術文献】
【特許文献】
【0004】
特開平10-95128号公報
【発明の概要】
【発明が解決しようとする課題】
【0005】
しかしながら、特許文献1のような構成では、蓋部材を本体部材の開口を剥離すると、蓋部材や本体部材の開口に凹凸ができ、再び蓋部材を溶着できず、再利用に適していない虞がある。
【0006】
本開示は上記問題に鑑み、環境に配慮し、再利用可能なカートリッジを提供することを目的としたものである。
【課題を解決するための手段】
【0007】
本開示のカートリッジは、液体を保持する吸収体と、開口と、吸収体を収容する吸収体収容室と、を備えるタンクと、タンクの開口に接合されている蓋部材と、吸収体収容室の中に位置する吸収体と蓋部材との間に配置され、突起部を備える隔壁部材と、を有するカートリッジであって、隔壁部材の突起部が吸収体と当接し、蓋部材と隔壁部材とが別部材であることを特徴とする。
【発明の効果】
【0008】
以上の構成によれば、環境に配慮し、再利用可能なカートリッジを提供することが可能である。
【図面の簡単な説明】
【0009】
本開示の記録装置の模式図である。
第1の実施形態に係る記録装置のカートリッジの外観斜視図である。
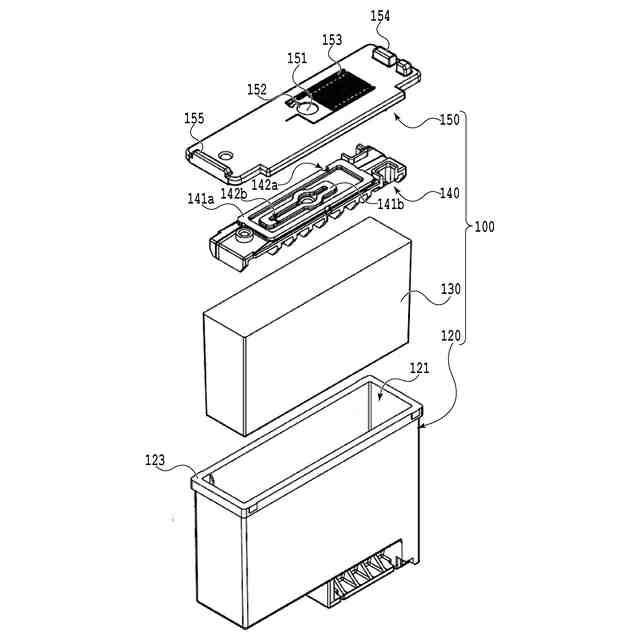
第1の実施形態に係る記録装置のカートリッジの分解斜視図である。
第1の実施形態に係る記録装置のカートリッジの断面図である。
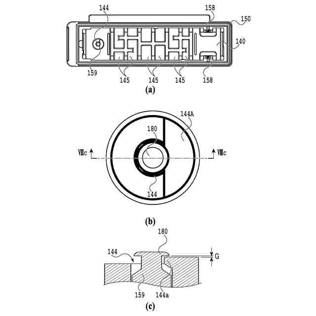
第1の実施形態に係る記録装置のカートリッジの蓋部材の、隔壁部材と対向する平面図である。
第1の実施形態に係る記録装置のカートリッジの隔壁部材の上面図および下面図である。
第1の実施形態に係る記録装置のカートリッジの蓋部材と隔壁部材が一体化した状態の側面図である。
第1の実施形態に係る記録装置のカートリッジの蓋部材と隔壁部材が一体化した状態の下面図、部分拡大図および断面図である。
第1の実施形態に係る記録装置のカートリッジの蓋部材と隔壁部材が一体化した状態の側面図である。
第1の実施形態に係る記録装置のカートリッジの再利用工程を示すフロー図である。
第1の実施形態に係る記録装置のカートリッジの変形例を示す分解斜視図である。
第2の実施形態に係る記録装置のカートリッジの分解斜視図である。
第2の実施形態に係る記録装置のカートリッジの模式的断面図である。
第3の実施形態に係る記録装置のカートリッジの蓋部材と隔壁部材が一体化した状態の変形例を示す下面図、部分拡大図および断面図である。
本開示に係る記録装置のカートリッジのタンクの模式的断面図である。
比較例を示すカートリッジの説明図である。
【発明を実施するための形態】
【0010】
製造工程上の困難な理由について、図16を用いて説明する。図16(a)は、特許文献1で示されるカートリッジの使用前の模式断面図であり、蓋部材を溶着する前の状態であり、図16(b)は蓋部材を溶着後である。図16(c)は、使用後にカートリッジ1から蓋部材2を外した状態を示す。カートリッジを製造する場合、記録ヘッド3が取り付けられたタンク4に吸収体5を挿入し、インク注入後、蓋部材2を溶着する。蓋部材2を溶着すると、溶着リブ2aは溶けてタンク4の開口部と相溶性し、蓋部材2はタンク4に固定される。その後、インクが消費されると、カートリッジ1は使用済みとして回収され、再利用カートリッジとして製造される。
(【0011】以降は省略されています)
この特許をJ-PlatPat(特許庁公式サイト)で参照する
関連特許
キヤノン株式会社
トナー
10日前
キヤノン株式会社
トナー
5日前
キヤノン株式会社
トナー
1か月前
キヤノン株式会社
トナー
5日前
キヤノン株式会社
トナー
5日前
キヤノン株式会社
定着装置
18日前
キヤノン株式会社
電子機器
14日前
キヤノン株式会社
撮影装置
3日前
キヤノン株式会社
発光装置
17日前
キヤノン株式会社
定着装置
1か月前
キヤノン株式会社
定着装置
1か月前
キヤノン株式会社
定着装置
1か月前
キヤノン株式会社
表示装置
17日前
キヤノン株式会社
電子機器
26日前
キヤノン株式会社
収容装置
18日前
キヤノン株式会社
撮像装置
26日前
キヤノン株式会社
電子機器
1か月前
キヤノン株式会社
電子機器
18日前
キヤノン株式会社
記録装置
26日前
キヤノン株式会社
電子機器
18日前
キヤノン株式会社
撮像装置
25日前
キヤノン株式会社
記録装置
25日前
キヤノン株式会社
撮像装置
24日前
キヤノン株式会社
記録装置
3日前
キヤノン株式会社
撮像装置
1か月前
キヤノン株式会社
撮像装置
18日前
キヤノン株式会社
電子機器
12日前
キヤノン株式会社
現像装置
3日前
キヤノン株式会社
現像容器
3日前
キヤノン株式会社
現像装置
3日前
キヤノン株式会社
電子機器
1か月前
キヤノン株式会社
現像装置
1か月前
キヤノン株式会社
現像容器
3日前
キヤノン株式会社
撮像装置
6日前
キヤノン株式会社
光学装置
1か月前
キヤノン株式会社
電子機器
1か月前
続きを見る
他の特許を見る