TOP
|
特許
|
意匠
|
商標
特許ウォッチ
Twitter
他の特許を見る
10個以上の画像は省略されています。
公開番号
2025141479
公報種別
公開特許公報(A)
公開日
2025-09-29
出願番号
2024041432
出願日
2024-03-15
発明の名称
マルウェア解析継続システム及びマルウェア解析継続方法
出願人
株式会社日立製作所
代理人
青稜弁理士法人
主分類
G06F
21/56 20130101AFI20250919BHJP(計算;計数)
要約
【課題】マルウェア解析継続システムにおいて、攻撃者サーバが稼働しておらず通信できない場合でもマルウェアの解析を継続する。
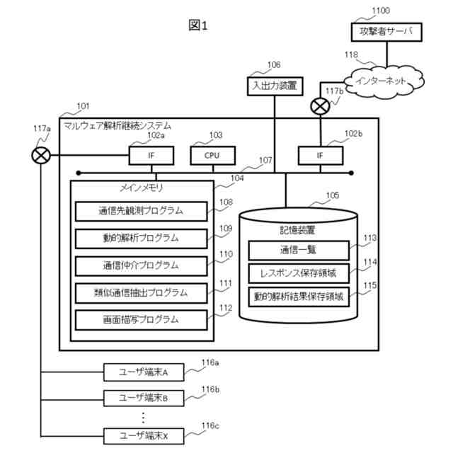
【解決手段】マルウェア解析継続システムは、攻撃者サーバとの通信を観測して、過去データとして前記通信の応答を蓄積する通信先観測プログラムと、マルウェアの動的解析を実施する動的解析プログラムと、動的解析された前記マルウェアの通信を仲介し、前記攻撃者サーバとの通信が停止した場合でも、前記過去データとして蓄積された前記応答を返却することにより前記動的解析を継続するように制御する通信仲介プログラムと、前記マルウェアが発した通信と類似する過去の通信を類似通信として前記過去データから抽出する類似通信抽出プログラムと、前記マルウェアに関する情報を画面に描写する画面描写プログラムと、を実行する。
【選択図】図1
特許請求の範囲
【請求項1】
インターネットに接続されたマルウェア解析継続システムであって、
攻撃者サーバとの通信を観測して、過去データとして前記通信の応答を蓄積する通信先観測部と、
マルウェアの動的解析を実施する動的解析部と、
動的解析された前記マルウェアの通信を仲介し、前記攻撃者サーバとの通信が停止した場合でも、前記過去データとして蓄積された前記応答を返却することにより前記動的解析を継続するように制御する通信仲介部と、
前記マルウェアが発した通信と類似する過去の通信を類似通信として前記過去データから抽出する類似通信抽出部と、
前記マルウェアに関する情報を画面に描写する画面描写部と、
を有することを特徴とするマルウェア解析継続システム。
続きを表示(約 1,100 文字)
【請求項2】
前記通信仲介部は、
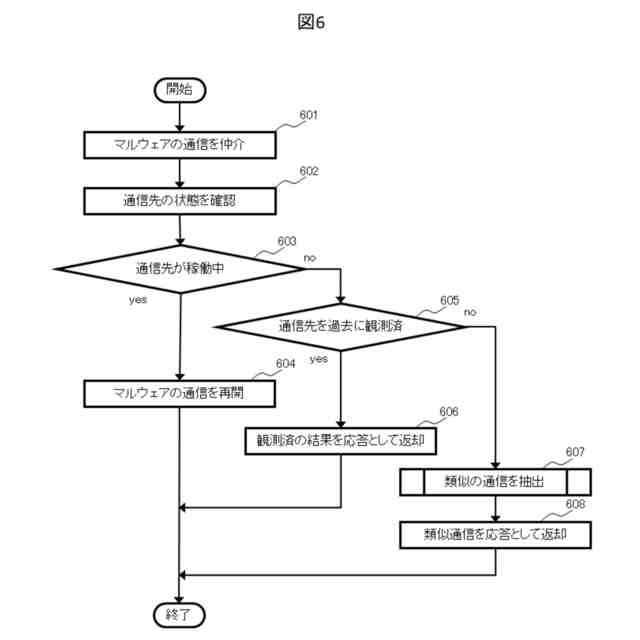
前記攻撃者サーバとの通信を一時停止させて前記通信の通信先の状態を確認し、
前記通信先が稼働中か否かを判定し、
前記通信先が稼働中と判定した場合は、前記マルウェアの通信を再開することを特徴とする請求項1に記載のマルウェア解析継続システム。
【請求項3】
前記通信仲介部は、
前記通信先が稼働中でないと判定した場合は、前記通信先が過去に観測済みか否かを判定し、
前記通信先が過去に観測済と判定した場合は、一時停止させた前記通信について、前記観測済の結果を前記応答して返却することを特徴とする請求項2に記載のマルウェア解析継続システム。
【請求項4】
前記通信仲介部は、
前記通信先が過去に観測済でない判定した場合は、一時停止させた前記通信について、前記類似通信を前記応答して返却することを特徴とする請求項3に記載のマルウェア解析継続システム。
【請求項5】
前記類似通信抽出部は、
前記マルウェアの特徴又は前記通信の特徴に基づいて、前記過去のデータから前記類似通信を抽出することを特徴とする請求項1に記載のマルウェア解析継続システム。
【請求項6】
前記類似通信抽出部は、
前記通信のURLパスの特徴に基づいて、前記過去のデータから前記類似通信を抽出することを特徴とする請求項5に記載のマルウェア解析継続システム。
【請求項7】
前記類似通信抽出部は、
前記通信のパラメータの特徴に基づいて、前記過去のデータから前記類似通信を抽出することを特徴とする請求項5に記載のマルウェア解析継続システム。
【請求項8】
前記類似通信抽出部は、
前記マルウェアの検体ファミリの特徴に基づいて、前記過去のデータから前記類似通信を抽出することを特徴とする請求項5に記載のマルウェア解析継続システム。
【請求項9】
所定のネットワークを介して接続されたユーザ端末を有し、
前記画面描画部は、
前記マルウェアに関する情報を前記ユーザ端末の画面に表示することを特徴とする請求項1に記載のマルウェア解析継続システム。
【請求項10】
前記画面描写部は、
前記マルウェアに関する情報として、前記通信の通信概要と前記類似通信の内容を前記画面に表示することを特徴とする請求項9に記載のマルウェア解析継続システム。
(【請求項11】以降は省略されています)
発明の詳細な説明
【技術分野】
【0001】
本発明は、マルウェア解析継続システム及びマルウェア解析継続方法に関する。
続きを表示(約 1,600 文字)
【背景技術】
【0002】
マルウェアを実際に動作させることで、その挙動を記録し、解析を図る動的解析がある。本解析手法は、半自動で実施可能であることから効率的に解析することが可能であるため、広く活用されている。また、マルウェアのコードを解読し、マルウェアの挙動を明らかにする静的解析もあるものの、本解析手法は、時間や専門性が必要であるため、動的解析のほうが広く用いられる傾向にある。
【0003】
他方で、マルウェア動的解析は、実際にマルウェアが動作する必要がある。このため、C2(Command&Control)サーバをはじめとするような、攻撃者のサーバと通信しながら動作を行う等、外部に依存性がある場合はその条件が満たされない場合、例えば本例のよう既に攻撃が終了しており攻撃者のサーバが稼働しておらず通信できない場合、解析を継続することが困難である。これに関連する技術として、特許文献1、特許文献2、非特許文献1、非特許文献2がある。
【先行技術文献】
【特許文献】
【0004】
特開2018-169792号公報
特開2018-169792号公報
【非特許文献】
【0005】
Zhaoyan Xu, Antonio Nappa, Robert Baykov, Guangliang Yang,Juan Caballero, Guofei Gu: AUTOPROBE: Towards Automatic Active Malicious Server Probing Using Dynamic Binary Analysis, 21st ACM Conference on Computer and Communications Security (CCS’14),pp.179-190(2014).
島川 貴裕,久山 真宏,佐藤 信,名和 利男,高倉 弘喜,佐々木 良一:標的型攻撃に対する知的ネットワークフォレンジックシステムLIFTの開発-模擬C&Cサーバを用いたマルウェアの挙動解析-,マルチメディア,分散,協調とモバイル(DICOMO2016)シンポジウム,pp.1087-1092(2016).
【発明の概要】
【発明が解決しようとする課題】
【0006】
マルウェア動的解析は、実際にマルウェアが動作する必要がある。このため、攻撃者のサーバと通信しながら動作を行う等、外部に依存性がある場合はその条件が満たされない場合、例えば本例のよう既に攻撃が終了しており攻撃者のサーバが稼働しておらず通信できない場合、解析を継続することが困難である。
【0007】
特許文献1や特許文献2は、マルウェアによる通信が発生した際に当該通信を一時停止し、マルウェアの静的解析を実施後、その結果に基づきマルウェアが期待する応答を行うことで、処理を誘発するものである。
【0008】
しかし、マルウェアの静的解析には高度なスキルと時間が必要である。また、静的解析の結果を基にマルウェアが期待する通信を適切に作成することは容易ではない。
【0009】
非特許文献1は、シンボリック実行、ファジング、レジスタの書き換え等でC2のレスポンスに係る処理を強制的に実行し、C2からのレスポンスに依存する実行経路を探索するものである。
【0010】
しかし、ファジング等の特性から、実行経路の発見にランダム性が伴う。また、動的解析の継続ではなくC2サーバのフィンガプリントを作成することが本技術の目的である。
(【0011】以降は省略されています)
この特許をJ-PlatPat(特許庁公式サイト)で参照する
関連特許
株式会社日立製作所
部品管理装置及び方法
今日
株式会社日立製作所
情報処理装置、情報処理方法
2日前
株式会社日立製作所
蒸発乾固装置および蒸発乾固方法
1日前
株式会社日立製作所
情報処理システム、及び情報処理方法
今日
株式会社日立製作所
故障要因分析装置及び故障要因分析方法
1日前
株式会社日立製作所
説明情報生成装置及び説明情報生成方法
1日前
株式会社日立製作所
臨床試験計画装置および臨床試験計画方法
2日前
株式会社日立製作所
ストレージシステム及びストレージシステムの制御方法
1日前
株式会社日立製作所
水電解システムの運用装置及び水電解システムの運用方法
1日前
株式会社日立製作所
情報処理方法、情報処理プログラム、及び情報処理システム
今日
株式会社日立製作所
ロボット制御装置、ロボット、及び、ロボット制御システム
1日前
株式会社日立製作所
飛行体検知装置、飛行体検知方法、及び飛行体制御システム
今日
株式会社日立製作所
自動画面操作テスト支援装置及び自動画面操作テスト支援方法
1日前
株式会社日立製作所
障害分析システム、障害分析方法、及び障害分析モデル生成方法
今日
株式会社日立製作所
データ連動システム、データ連動方法及びデータ連動プログラム
今日
株式会社日立製作所
ロジックモデル作成支援装置およびロジックモデル作成支援方法
2日前
株式会社日立製作所
栄養塩類徐放性ブロックの製造方法および栄養塩類徐放性ブロック
1日前
株式会社日立製作所
ロボット管理装置、ロボット管理システムおよびロボット管理方法
1日前
株式会社日立製作所
脅威インテリジェンス生成装置、及び脅威インテリジェンス生成方法
1日前
株式会社日立製作所
浄水薬品注入制御システム、浄水薬品注入制御方法、及びプログラム
1日前
株式会社日立製作所
ロボットの動作学習装置、動作学習システム、および、動作学習方法
今日
株式会社日立製作所
治療選択支援装置、治療選択支援方法、および治療選択支援プログラム
今日
株式会社日立製作所
電力貯蔵装置監視システム及び電力貯蔵装置監視方法、並びに、電力貯蔵システム
1日前
株式会社日立製作所
計画立案システム、生産管理システム、計画立案方法、および計画立案プログラム
1日前
株式会社日立製作所
セキュリティ侵害分析装置、セキュリティ侵害分析方法、及びセキュリティ分析システム
今日
株式会社日立製作所
ストレージコントローラにおいて実行されるソフトウェアの起動における改ざん検証のテストを行うシステム
今日
個人
地球保全システム
9日前
個人
QRコードの彩色
今日
個人
為替ポイント伊達夢貯
1か月前
個人
冷凍食品輸出支援構造
1か月前
個人
表変換編集支援システム
29日前
個人
残土処理システム
2日前
個人
知的財産出願支援システム
3日前
個人
知財出願支援AIシステム
1か月前
個人
結婚相手紹介支援システム
1か月前
個人
AIによる情報の売買の仲介
1か月前
続きを見る
他の特許を見る