TOP
|
特許
|
意匠
|
商標
特許ウォッチ
Twitter
他の特許を見る
公開番号
2025140788
公報種別
公開特許公報(A)
公開日
2025-09-29
出願番号
2024040368
出願日
2024-03-14
発明の名称
車両、並びに、車両上での水素ガスの取得及び炭素を含む固形物の回収方法
出願人
いすゞ自動車株式会社
代理人
弁理士法人鈴榮特許綜合事務所
主分類
C01B
3/24 20060101AFI20250919BHJP(無機化学)
要約
【課題】 炭化水素を含む一般的な液体燃料を用いて、車上で水素ガスを得るとともに、大気への二酸化炭素の排出を抑制し得る、車両を提供すること。
【解決手段】 車両は、炭化水素を含む液体燃料が貯められる燃料タンクと、前記燃料タンクに貯蔵された前記液体燃料の前記炭化水素を水素ガスと炭素を含む固形物とに分解する燃料改質器と、前記燃料改質器により分解された前記水素ガスを燃料として使用する水素エンジンと、を有する。前記燃料改質器により生成された前記炭素を含む固形物が前記燃料タンク内に貯蔵される。
【選択図】 図1
特許請求の範囲
【請求項1】
炭化水素を含む液体燃料が貯められる燃料タンクと、
前記燃料タンクに貯蔵された前記液体燃料の前記炭化水素を水素ガスと炭素を含む固形物とに分解する燃料改質器と、
前記燃料改質器により分解された前記水素ガスを燃料として使用する水素エンジンと、
を有し、
前記燃料改質器により生成された前記炭素を含む固形物が前記燃料タンク内に貯蔵される、
車両。
続きを表示(約 900 文字)
【請求項2】
前記燃料タンク内に貯蔵された前記炭素を含む固形物の沈殿量を検知するセンサと、
前記センサにより検知された前記沈殿量に応じて、表示部を制御する制御部と、
を有する請求項1に記載の車両。
【請求項3】
前記制御部は、前記沈殿量が所定の閾値より高い場合に、所定の表示を行うように前記表示部を制御し、前記沈殿量が所定の閾値以下である場合に、前記所定の表示を行わないように前記表示部を制御する請求項2に記載の車両。
【請求項4】
前記制御部は、前記燃料改質器の動作が停止してから所定時間が経過した後に前記センサにより検知された前記沈殿量に応じて前記表示部を制御する請求項2に記載の車両。
【請求項5】
前記燃料タンクは、前記車両から取り外し可能である、
請求項1に記載の車両。
【請求項6】
前記燃料タンクは、
前記燃料改質器により生成された前記炭素を含む固形物を貯蔵するメインタンクと、
前記メインタンクと接続するサブタンクと、
前記メインタンクと前記サブタンクとの間で固形物の流動を抑制するフィルタと、
を有する
請求項1に記載の車両。
【請求項7】
前記メインタンクは、前記車両から取り外し可能である、
請求項6に記載の車両。
【請求項8】
前記炭素を含む固形物は、固体状の炭素及び固体状の炭素化合物の少なくとも一方を含む請求項1乃至7のいずれか1項に記載の車両。
【請求項9】
燃料タンクに貯めた炭化水素を含む液体燃料の前記炭化水素を、水素ガスと炭素を含む固形物とに分解すること、
前記水素ガスを、水素エンジンを動かすための燃料として水素ガスタンクに貯めるとともに、前記炭素を含む固形物を、前記燃料タンクに溜めること、
前記燃料タンク内の前記炭素を含む固形物を、前記燃料タンク内から回収すること、
を含む、車両上での水素ガスの取得、及び、炭素を含む固形物の回収方法。
発明の詳細な説明
【技術分野】
【0001】
本発明は、車両、並びに、車両上での水素ガスの取得及び炭素を含む固形物の回収方法に関する。
続きを表示(約 1,100 文字)
【背景技術】
【0002】
例えば特許文献1には、自動車燃料の改質反応に低温プラズマを用いることにより、自動車燃料を車上で改質し得ることが開示されている。
【先行技術文献】
【特許文献】
【0003】
特開2005-337032号公報
【発明の概要】
【発明が解決しようとする課題】
【0004】
例えば、特許文献1の技術を用い、車上で例えば水素エンジンを動かすための水素ガスを得る場合、水素とともに、二酸化炭素等が発生する。
【0005】
本発明は、炭化水素を含む一般的な液体燃料を用いて、車上で水素ガスを得るとともに、大気への二酸化炭素の排出を抑制し得る、車両、並びに、車両上での水素ガスの取得及び炭素を含む固形物の回収方法を提供することを目的とする。
【課題を解決するための手段】
【0006】
本発明の一態様に係る車両は、炭化水素を含む液体燃料が貯められる燃料タンクと、前記燃料タンクに貯蔵された前記液体燃料の前記炭化水素を水素ガスと炭素を含む固形物とに分解する燃料改質器と、前記燃料改質器により分解された前記水素ガスを燃料として使用する水素エンジンと、を有する。前記燃料改質器により生成された前記炭素を含む固形物が前記燃料タンク内に貯蔵される。
【発明の効果】
【0007】
本発明によれば、炭化水素を含む一般的な液体燃料を用いて、車上で水素ガスを得るとともに、大気への二酸化炭素の排出を抑制し得る、車両、並びに、車両上での水素ガスの取得及び炭素を含む固形物の回収方法を提供することができる。
【図面の簡単な説明】
【0008】
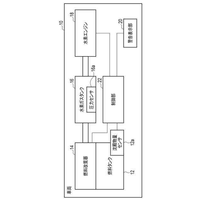
実施形態に係る車両の概略的なブロック図。
実施形態に係る車両の燃料改質器の概略的なブロック図。
実施形態に係る車両から沈殿物(炭素を含む固形物)を取り出す処理フローを示すとともに、車両内で水素ガスを製造するフローを示す概略図。
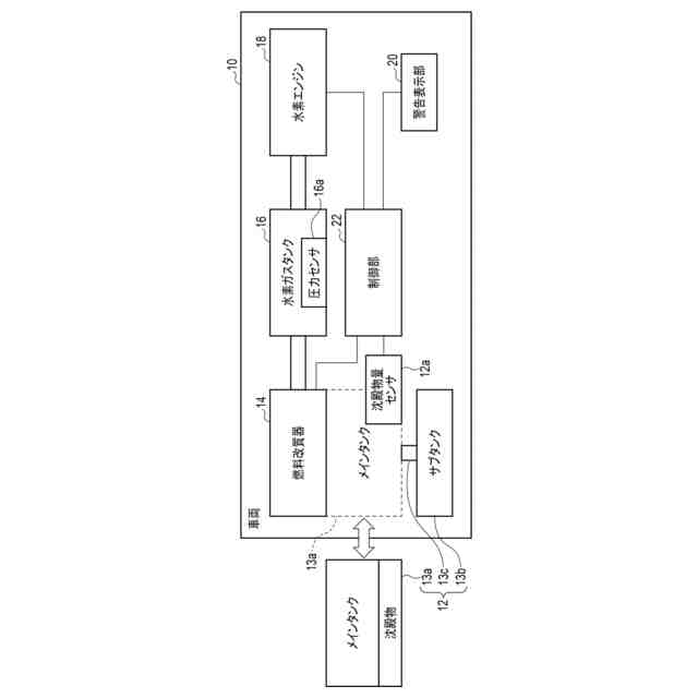
第1変形例に係る車両の概略的なブロック図。
第2変形例に係る車両の概略的なブロック図。
【発明を実施するための形態】
【0009】
本実施形態に係る車両10について、図1から図3を用いて説明する。
【0010】
図1に示すように、車両10は、燃料タンク12と、燃料改質器14と、水素ガスタンク16と、水素エンジン18と、警告表示部(表示部)20と、制御部22とを備える。
(【0011】以降は省略されています)
この特許をJ-PlatPat(特許庁公式サイト)で参照する
関連特許
いすゞ自動車株式会社
バッテリケース
4日前
株式会社北川鉄工所
炭酸化装置
1か月前
個人
発酵槽装置
19日前
公立大学法人大阪
硫化物
27日前
東ソー株式会社
CHA型ゼオライトの製造方法
今日
三菱重工業株式会社
水素製造装置
1か月前
東ソー株式会社
CHA型ゼオライトの製造方法
今日
株式会社小糸製作所
水分解装置
8日前
光宇應用材料股ふん有限公司
低炭素水素の製造方法
1か月前
株式会社小糸製作所
水素発生装置
8日前
日本化学工業株式会社
リン酸バナジウムリチウムの製造方法
1か月前
株式会社三井E&S
アンモニア改質装置
今日
株式会社フクハラ
酸化カルシウム生成装置及び生成方法
29日前
太陽化学株式会社
多孔質シリカ、及びその製造方法
19日前
学校法人五島育英会
機械用部材および機械用部材の製造方法
1か月前
トヨタ自動車株式会社
光触媒を用いた水素ガス製造装置
26日前
トヨタ自動車株式会社
光触媒を用いた水素ガス製造装置
27日前
浅田化学工業株式会社
アルミナゲルおよびその製造方法
28日前
トヨタ自動車株式会社
二酸化炭素の利用方法、及び利用システム
18日前
DOWAテクノロジー株式会社
水酸化リチウムの製造方法
1か月前
株式会社ジェイテクト
水素生成装置
18日前
南海化学株式会社
塩基性塩化アルミニウム含有組成物
8日前
南海化学株式会社
塩基性塩化アルミニウム含有組成物
8日前
日本化学工業株式会社
コアシェル型負熱膨張材およびその製造方法
12日前
デンカ株式会社
窒化ホウ素粉末及び樹脂組成物
18日前
デゾン・ジャパン株式会社
酸素濃度調整システム
12日前
デンカ株式会社
窒化ホウ素粉末及び樹脂組成物
18日前
トヨタ自動車株式会社
ガス生成システム
27日前
日揮触媒化成株式会社
シリカ微粒子分散液およびその製造方法
4日前
一般社団法人鈴木テクノロジー
水素の生成方法及び水素生成用鉄材
1か月前
JFEエンジニアリング株式会社
バイオガス中の二酸化炭素液化システム
29日前
国立大学法人長岡技術科学大学
ハイブリッド粒子分散体及びその製造方法
26日前
積水化学工業株式会社
酸素発生剤
29日前
トヨタ自動車株式会社
シリコンクラスレートIIの製造方法
12日前
日揮触媒化成株式会社
研磨用シリカ系粒子分散液およびその製造方法
12日前
水澤化学工業株式会社
チャバザイト型ゼオライト
1か月前
続きを見る
他の特許を見る