TOP
|
特許
|
意匠
|
商標
特許ウォッチ
Twitter
他の特許を見る
10個以上の画像は省略されています。
公開番号
2025140398
公報種別
公開特許公報(A)
公開日
2025-09-29
出願番号
2024039775
出願日
2024-03-14
発明の名称
ソフトウェアのテスト装置及びソフトウェアのテスト方法
出願人
株式会社日立製作所
代理人
青稜弁理士法人
主分類
G06F
11/36 20060101AFI20250919BHJP(計算;計数)
要約
【課題】ソフトウェアのテスト装置及びソフトウェアのテスト方法を提供する。
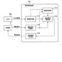
【解決手段】テストシステムにおいて、メモリ競合が発生する可能性のあるソフトウェアのテスト装置は、CPUと、メモリを及び外部記憶装置からなる記憶装置と、を含み、CPUは、記憶装置に格納されたソフトウェアのテストプログラムとテストプログラムを実行して得られる想定結果とを含むテストシナリオのテストプログラムを実行するシナリオ処理部と、テストプログラムの実行結果が想定結果と一致したか否かを判定し、テスト結果情報を記憶装置に記録するテスト結果処理部と、テストプログラムの実行時にソフトウェアを構成する複数のプログラムが異なる値を同じアドレスに書き込むメモリ競合を検出する競合確認処理部と、競合確認処理部が検出したメモリ競合を基にテストを行う競合メモリ状態毎のテストケースを示す状態表を記憶装置に作成する状態表生成処理部と、を実行する。
【選択図】図1
特許請求の範囲
【請求項1】
メモリ競合が発生する可能性のあるソフトウェアのテスト装置であって、
処理装置にシナリオ処理部、テスト結果処理部、競合確認処理部及び状態表生成処理部を備え、
シナリオ処理部は記憶装置に格納されたソフトウェアのテストを行うテストプログラムとテストプログラムを実行したときに得られる想定結果とを含むテストシナリオのテストプログラムを実行し、
テスト結果処理部はテストプログラムを実行した結果が想定結果と一致したかどうかを判定し、テスト結果情報を記憶装置に記録し、
競合確認処理部はテストプログラムの実行したときにソフトウェアを構成する複数のプログラムが異なる値を同じアドレスに書き込むメモリ競合を検出し、
状態表生成処理部は競合確認処理部が検出したメモリ競合を基にテストを行う競合メモリ状態毎のテストケースを示す状態表を記憶装置に作成するソフトウェアのテスト装置。
続きを表示(約 1,100 文字)
【請求項2】
請求項1に記載のソフトウェアのテスト装置において、
状態表生成処理部は検出されたメモリ競合が発生する共有メモリの値の取り得る組み合わせである競合メモリ状態パターンを作成し、競合メモリ状態パターン毎にテストケースとしての優先度を求め、
シナリオ処理部は前記優先度に基づいて競合メモリ状態パターンを設定し、テストプログラムを実行するソフトウェアのテスト装置。
【請求項3】
請求項2に記載のソフトウェアのテスト装置において、
前記優先度は前記状態表に含まれる複数の競合メモリ状態パターンから選ばれた競合メモリ状態パターンの競合メモリの値との類似度であるソフトウェアのテスト装置。
【請求項4】
請求項3に記載のソフトウェアのテスト装置において、
状態表生成処理部は類似度を求めるときに競合メモリのアドレス毎に設定された重みを用いて類似度を求めるソフトウェアのテスト装置。
【請求項5】
請求項3に記載のソフトウェアのテスト装置において、
状態表生成処理部は選ばれた競合メモリ状態パターンでのテスト結果が想定結果と一致していたとき、類似度の高い競合メモリ状態パターンのテストケースからテストプログラムを実行するソフトウェアのテスト装置。
【請求項6】
請求項3に記載のソフトウェアのテスト装置において、
状態表生成処理部は選ばれた競合メモリ状態パターンでのテスト結果が想定結果と一致していなかったとき、類似度の低い競合メモリ状態パターンのテストケースからテストプログラムを実行するソフトウェアのテスト装置。
【請求項7】
メモリ競合が発生する可能性のあるソフトウェアのテスト方法であって、
処理装置にシナリオ処理部、テスト結果処理部、競合確認処理部及び状態表生成処理部を備え、
シナリオ処理部が記憶装置に格納されたソフトウェアのテストを行うテストプログラムとテストプログラムを実行したときに得られる想定結果とを含むテストシナリオのテストプログラムを実行し、
テスト結果処理部がテストプログラムを実行した結果が想定結果と一致したかどうかを判定し、テスト結果情報を記憶装置に記録し、
競合確認処理部がテストプログラムの実行したときにソフトウェアを構成する複数のプログラムが異なる値を同じアドレスに書き込むメモリ競合を検出し、
状態表生成処理部が競合確認処理部が検出したメモリ競合を基にテストを行う競合メモリ状態毎のテストケースを示す状態表を記憶装置に作成するソフトウェアのテスト方法。
発明の詳細な説明
【背景技術】
【0001】
ソフトウェアの分野では、マイクロプロセッサやオペレーティングシステムにおけるプログラムの最小実行単位として並列に実行可能なスレッド、プロセス、タスク等のモジュールがある。以下、これらを代表してスレッドで説明を行う。
続きを表示(約 920 文字)
【0002】
スレッド間で情報を共有する場合は複数のスレッドが同じメモリへ読み込み、情報を共有する。
【0003】
このとき、並列に動作するスレッドが同じメモリに対し異なる値を書き込むことをメモリ競合と呼び、メモリ競合が起こった後のメモリの値を競合メモリ状態と呼ぶ。
【0004】
競合メモリ状態は同一の入力であっても、スレッドの実行順序に依存して処理後の競合メモリ状態が変わる可能性がある。このとき、意図しない競合メモリ状態が発生し、ソフトウェアが設計外の振る舞いを起こす不具合が発生する可能性がある。
【0005】
排他制御を行うことによりメモリのアクセスを制御することで、意図しないメモリ競合を防ぐことが可能である。
【0006】
しかしながら、排他制御はソフトウェアの動作遅延を起こすため、リアルタイム性を重視するシステムでは使用できない。よって、このようなシステムにおいては、メモリ競合が起きる恐れがある。
【0007】
この問題を解決するために特許文献1では、共有メモリへのプログラムのリード及びライト・アクセスを検出する並行脆弱性のテスト方式が開示されている。
【0008】
まず、グレーボックス・ファザーによりプログラムのテストケースを識別する。次に、識別されたテストケースに基づき、テストケースが優先テストケースであるかどうかを判別するために、競合するペアの組を含むプログラムの2つ以上の分岐を解析する。
【0009】
そして、テストケースが優先テストケースであることに応答して、テストケースをグレーボックス・ファザーから並行性確認モジュールへ供給し、並行性確認モジュールにより、テストケースを1つ以上のスケジューリング・ポリシーにより使用して、試験を行うことが開示されている。
【先行技術文献】
【特許文献】
【0010】
特開2019-204482号公報
【発明の概要】
【発明が解決しようとする課題】
(【0011】以降は省略されています)
この特許をJ-PlatPat(特許庁公式サイト)で参照する
関連特許
株式会社日立製作所
ソフトウェア生成システム
1日前
株式会社日立製作所
情報処理装置、情報処理方法
今日
株式会社日立製作所
情報処理システム、及び情報処理方法
今日
株式会社日立製作所
設計図書のチェックシステムおよび方法
5日前
株式会社日立製作所
半導体装置および半導体装置の駆動方法
1日前
株式会社日立製作所
臨床試験計画装置および臨床試験計画方法
今日
株式会社日立製作所
制御設計支援方法、および、制御設計支援装置
1日前
株式会社日立製作所
クラウドデータベースシステム及びデータ管理方法
今日
株式会社日立製作所
速度異常検出装置、乗客コンベア及び速度異常検出方法
今日
株式会社日立製作所
運用管理装置、運用管理方法、及び運用管理プログラム
1日前
株式会社日立製作所
行動処理装置、行動処理方法および行動処理プログラム
5日前
株式会社日立製作所
代替材料提案システム、代替材料提案方法およびプログラム
今日
株式会社日立製作所
ロジックモデル作成支援装置およびロジックモデル作成支援方法
今日
株式会社日立製作所
事業性評価システム、事業性評価方法、および、設備運転制御システム
1日前
株式会社日立製作所
運転支援装置、車両、運転支援システム、運転教育システム、及び運転支援方法
今日
株式会社日立製作所
ダンボールパレット、ダンボールパレット管理システム及びダンボールパレット管理方法
1日前
株式会社日立製作所
情報処理システム、制御システム、情報処理システムが実行する方法、情報処理システムが実行するプログラム
5日前
株式会社日立製作所
エネルギー設備運転計画立案装置、エネルギー設備運転計画立案方法、および、エネルギー設備運転計画立案プログラム
1日前
個人
工程設計支援装置
1か月前
個人
フラワーコートA
2か月前
個人
地球保全システム
7日前
個人
為替ポイント伊達夢貯
1か月前
個人
介護情報提供システム
2か月前
個人
冷凍食品輸出支援構造
1か月前
個人
残土処理システム
今日
個人
携帯情報端末装置
1か月前
個人
表変換編集支援システム
27日前
個人
知財出願支援AIシステム
1か月前
個人
知的財産出願支援システム
1日前
個人
結婚相手紹介支援システム
1か月前
個人
パスワード管理支援システム
27日前
個人
行動時間管理システム
29日前
個人
AIによる情報の売買の仲介
1か月前
日本精機株式会社
施工管理システム
1か月前
株式会社アジラ
進入判定装置
1か月前
株式会社キーエンス
受発注システム
6日前
続きを見る
他の特許を見る