TOP
|
特許
|
意匠
|
商標
特許ウォッチ
Twitter
他の特許を見る
10個以上の画像は省略されています。
公開番号
2025138680
公報種別
公開特許公報(A)
公開日
2025-09-25
出願番号
2025095106,2022526730
出願日
2025-06-06,2020-11-13
発明の名称
差動油圧緩衝器
出願人
クリアモーション,インコーポレイテッド
代理人
個人
,
個人
,
個人
,
個人
主分類
F15B
11/00 20060101AFI20250917BHJP(流体圧アクチュエータ;水力学または空気力学一般)
要約
【課題】油圧システム内の流量及び/又は圧力脈動の伝播を低減できる油圧システム及び方法を提供する。
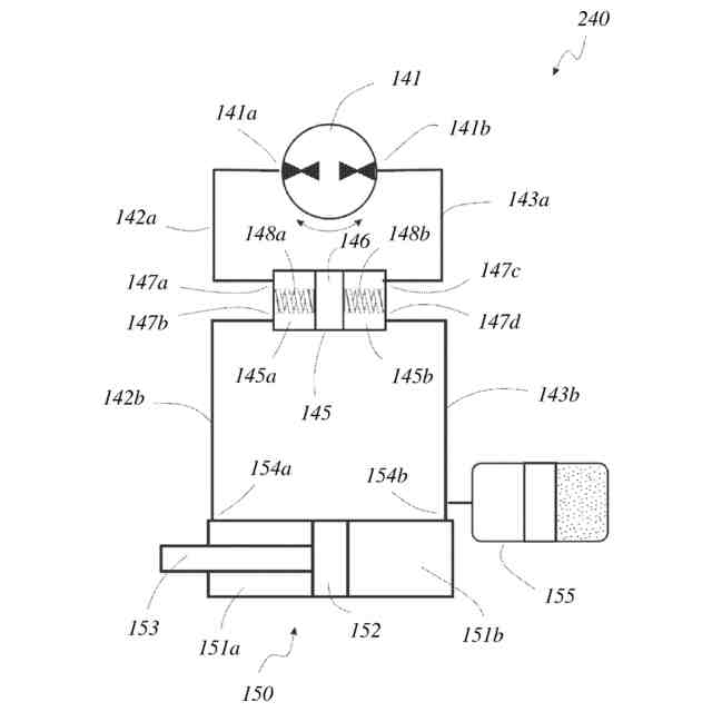
【解決手段】油圧システム240は、油圧装置141と、油圧装置に流体的に接続された差動緩衝器145とを含み得る。差動緩衝器は、別個の流路に沿って伝播する圧力脈動であって、互いに少なくとも部分的に位相のずれた圧力脈動にさらされるピストン146を含み得る。位相のずれた脈動に起因するピストンの対応する変位によって、差動緩衝器の下流側の油圧システム内の脈動の伝播が少なくとも部分的に緩和され得る。
【選択図】図6
特許請求の範囲
【請求項1】
油圧システムであって、
第1の装置ポートと第2の装置ポートとを備えた油圧装置と、
第1の緩衝器ポートと第2の緩衝器ポートとを備えた差動緩衝器と、
前記第1の装置ポートを前記第1の緩衝器ポートに流体的に接続する第1の流路と、
前記第2の装置ポートを前記第2の緩衝器ポートに流体的に接続する第2の流路と
を含む、油圧システム。
続きを表示(約 1,000 文字)
【請求項2】
前記差動緩衝器は、前記差動緩衝器内に摺動可能に収容された緩衝器ピストンによって流体的に分離される第1の緩衝器室及び第2の緩衝器室を含み、前記第1の緩衝器室は、前記第1の装置ポートに流体的に接続され、前記第2の緩衝器室は、前記第2の装置ポートに流体的に接続される、請求項1に記載のシステム。
【請求項3】
第1の方向への前記緩衝器ピストンの運動に抵抗するように構成された第1のばねと、前記第1の方向と反対の第2の方向への前記緩衝器ピストンの運動に抵抗するように構成された第2のばねとをさらに含む、請求項2に記載のシステム。
【請求項4】
前記第1のばね及び前記第2のばねは、コイルばねを含む、請求項3に記載のシステム。
【請求項5】
前記第1のばね及び前記第2のばねは、皿ばねを含む、請求項3に記載のシステム。
【請求項6】
前記緩衝器ピストンは、前記第1の緩衝器室内の圧力が前記第2の緩衝器室内の圧力よりも大きいときに第1の方向に、及び前記第2の緩衝器室内の前記圧力が前記第1の緩衝器室内の前記圧力よりも大きいときに、前記第1の方向と反対の、第2の方向に移動するように構成される、請求項2~5のいずれか一項に記載のシステム。
【請求項7】
前記緩衝器ピストンが前記第1の方向に移動すると、前記第1の緩衝器室の第1の容積が大きくなり、前記第2の緩衝器室の第2の容積が小さくなり、前記緩衝器ピストンが前記第1の方向と反対の前記第2の方向に移動すると、前記第2の緩衝器室の前記第2の容積が大きくなり、前記第1の緩衝器室の前記第1の容積が小さくなる、請求項6に記載のシステム。
【請求項8】
前記油圧装置は、少なくとも1つの動作モードで油圧ポンプとして動作するように構成される、請求項1~7のいずれか一項に記載のシステム。
【請求項9】
前記油圧装置は、油圧ポンプ及び油圧モータからなる群から選択される、請求項1~8のいずれか一項に記載のシステム。
【請求項10】
前記第1の流路は、第1の正味コンプライアンスを有し、前記第2の流路は、第2の正味コンプライアンスを有し、前記第1の正味コンプライアンスは、所定の周波数範囲内の前記第2の正味コンプライアンスの20%以内である、請求項1~9のいずれか一項に記載のシステム。
(【請求項11】以降は省略されています)
発明の詳細な説明
【技術分野】
【0001】
関連出願の相互参照
本出願は、2019年11月13日に出願された、米国仮特許出願第62/935,047号の優先権を米国特許法第119条(e)に基づいて主張するものであり、その開示全体が参照により本明細書に組み込まれる。
続きを表示(約 1,900 文字)
【0002】
分野
開示の実施形態は、油圧システム内の流量及び/又は圧力脈動を緩和する方法及びシステムに関し得る。いくつかの実施形態は、差動油圧緩衝器を含む油圧システムを対象とし得る。
【背景技術】
【0003】
背景
電力を貯蔵、変換、及び/又は伝送するために流体を利用する油圧システムが、大規模な産業プラントから自動車まで、種々の産業及び用途にわたって利用されている。これらの油圧システムは、概して、例えば、油圧ポンプ、弁、様々なリザーバ又はアキュムレータ、タンク、流体室、フィルタ、膜、他の油圧構成要素、及びこれらの構成要素間に延びる流路などの、種々の構成要素を含み得る。これらの様々な構成要素及び接続部を通る並びに/又はこれらの構成要素及び接続部間の作動液の流れは、構成要素の振動及び/又は音響ノイズを生成し得る流体圧力及び/又は流量脈動をもたらすことがある。この脈動は、不快なレベルのノイズが発生する、設備の損耗が加速する、及び/又は関連する周波数範囲でのシステム性能が低下するという理由から望ましくない場合がある。
【発明の概要】
【課題を解決するための手段】
【0004】
概要
一実施形態では、油圧システムは、第1の装置ポートと第2の装置ポートとを備えた油圧装置と、第1の緩衝器ポートと第2の緩衝器ポートとを備えた差動緩衝器と、第1の装置ポートを第1の緩衝器ポートに流体的に接続する第1の流路と、第2の装置ポートを第2の緩衝器ポートに流体的に接続する第2の流路とを含む。
【0005】
一実施形態では、能動サスペンションアクチュエータシステムは、第1の装置ポートと第2の装置ポートとを含む油圧装置を含む。能動サスペンションアクチュエータシステムはまた、差動緩衝器内に摺動可能に収容された緩衝器ピストンによって流体的に分離される第1の緩衝器室及び第2の緩衝器室を備えた差動緩衝器を含む。第1の緩衝器室は、油圧装置の第1のポートに流体的に接続され、第2の緩衝器室は、油圧装置の第2のポートに流体的に接続される。能動サスペンションアクチュエータシステムはまた、油圧アクチュエータ内に摺動可能に収容されたアクチュエータピストンによって流体的に分離される第1のアクチュエータ室及び第2のアクチュエータ室を備えた油圧アクチュエータを含む。第1のアクチュエータ室は、第1の緩衝器室に流体的に接続され、第2のアクチュエータ室は、第2の緩衝器室に流体的に接続される。
【0006】
一実施形態では、油圧システムを動作させる方法は、第1の緩衝器室に流体的に接続された第1の流路と、第2の緩衝器室に流体的に接続された第2の流路とに流量脈動を加えることであって、第1の緩衝器室内の流量脈動は、第2の緩衝器室内の流量脈動に対して少なくとも部分的に位相がずれている、加えることと、少なくとも部分的には第1の緩衝器室内の流量脈動と第2の緩衝器室内の流量脈動との位相差によって、第1の緩衝器容積と第2の緩衝器容積との間に配置された緩衝器ピストンを変位させることとを含む。
【0007】
一実施形態では、油圧システムは、第1の装置ポートと第2の装置ポートとを備えた油圧装置と、第1の緩衝器ポートと第2の緩衝器ポートとを備えた差動緩衝器と、第1の装置ポートを第1の緩衝器ポートに流体的に接続する第1の流路と、第2の装置ポートを第2の緩衝器ポートに流体的に接続する第2の流路とを含む。
【0008】
前述の概念、及び以下に述べる追加の概念は、本開示がこの点に関して限定されないので、任意の好適な組み合わせで構成され得ることを理解すべきである。さらに、本開示の他の利点及び新規な特徴は、添付図面と併せて考慮すると、様々な非限定的な実施形態の以下の詳細な説明から明らかになるであろう。
【0009】
本明細書及び参照により組み込まれる文書が矛盾する及び/又は一貫性のない開示を含む場合、本明細書が優勢であるものとする。参照により組み込まれる2つ以上の文書が互いに対して矛盾する及び/又は一貫性のない開示を含む場合、有効日が遅い方の文書が支配するものとする。
【0010】
図面の簡単な説明
添付の図面は、一定の比率で描かれるように意図されていない。図面中では、様々な図に図示する同一又はほぼ同一の各構成要素は、類似の数字で表されることがある。明確にする目的で、全ての図面において全ての構成要素に符号が付されているわけではない。
【図面の簡単な説明】
(【0011】以降は省略されています)
この特許をJ-PlatPat(特許庁公式サイト)で参照する
関連特許
豊和工業株式会社
クランプ装置
4か月前
株式会社豊田自動織機
流体圧シリンダ
28日前
株式会社コスメック
シリンダ装置
2か月前
株式会社不二越
電磁切替弁
1か月前
株式会社不二越
油圧システム
4か月前
個人
省エネ改良型油圧リバースブースター
1か月前
日立建機株式会社
作業機械
5か月前
日立建機株式会社
作業機械
1日前
学校法人東海大学
流れ制御装置
5か月前
日立建機株式会社
作業機械
今日
コベルコ建機株式会社
建設機械
6か月前
株式会社不二越
油圧駆動システム
1か月前
日立建機株式会社
油圧駆動装置
6か月前
ナブテスコ株式会社
方向切換弁装置
4か月前
住友建機株式会社
ショベルの制御方法
2か月前
学校法人 中央大学
人工筋アクチュエータ装置
2か月前
株式会社LIXIL
脈動流生成装置及び建築設備
4か月前
アズビル株式会社
パイロットリレー及びポジショナ
1か月前
ナブテスコ株式会社
ロータリーアクチュエータ
4か月前
カヤバ株式会社
アクチュエータ
6か月前
CKD株式会社
アクチュエータの動作検出装置
4か月前
コベルコ建機株式会社
建設機械の油圧駆動装置
5か月前
カヤバ株式会社
流体圧制御装置
16日前
日立建機株式会社
油圧システム
4日前
カヤバ株式会社
流体圧シリンダ
6か月前
カヤバ株式会社
流体圧制御装置
6か月前
カヤバ株式会社
インレットハウジング
4か月前
中本パックス株式会社
気体圧装置
2か月前
日立建機株式会社
分別回収システム
4日前
カヤバ株式会社
流体圧シリンダユニット
4か月前
株式会社コガネイ
圧縮空気供給装置
2か月前
株式会社東和製作所
シリンダ伸縮反転用バルブユニット
1か月前
日立建機株式会社
制御弁装置および作業機械
1か月前
藤倉コンポジット株式会社
シリンダ装置及びシリンダ装置の製造方法
3か月前
セイコーエプソン株式会社
圧力可変ユニット及び液体吐出装置
3か月前
株式会社福島製作所
グラブバケット診断装置
1か月前
続きを見る
他の特許を見る