TOP
|
特許
|
意匠
|
商標
特許ウォッチ
Twitter
他の特許を見る
公開番号
2025136765
公報種別
公開特許公報(A)
公開日
2025-09-19
出願番号
2024035594
出願日
2024-03-08
発明の名称
動力伝達装置
出願人
三菱自動車工業株式会社
代理人
個人
,
弁理士法人真田特許事務所
主分類
B60W
20/40 20160101AFI20250911BHJP(車両一般)
要約
【課題】トルクベクタリング用の回転電機を新たに追加することなく、トルクベクタリングを行う。
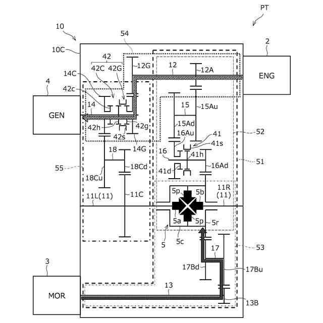
【解決手段】エンジン2,第一回転電機3,差動機構5,第二回転電機4が搭載された車両の動力伝達装置10は、エンジン2及び第一回転電機3の少なくとも一方の動力を、差動機構5を介して、左駆動軸11L及び右駆動軸11Rの各々に分配して伝達する主動力伝達経路51と、エンジン2の動力を第二回転電機4に伝達する発電動力伝達経路54と、主動力伝達経路51とは別で設けられ、第二回転電機4の動力を左駆動軸11L又は右駆動軸11Rに伝達する調整動力伝達経路55と、を備える。調整動力伝達経路55上には、第二回転電機4の動力の伝達を断接する第一断接機構41Cが設けられる。発電動力伝達経路54上には、エンジン2から第二回転電機4への動力の伝達を断接する第二断接機構42Gが設けられる。
【選択図】図2
特許請求の範囲
【請求項1】
エンジンと、第一回転電機と、左駆動軸及び右駆動軸の間に介装された差動機構と、前記エンジンの動力により発電する第二回転電機と、が搭載された車両の動力伝達装置であって、
前記エンジン及び前記第一回転電機の少なくとも一方の動力を、前記差動機構を介して、前記左駆動軸及び前記右駆動軸の各々に分配して伝達する主動力伝達経路と、
前記エンジンの動力を前記第二回転電機に伝達する発電動力伝達経路と、
前記主動力伝達経路とは別で設けられ、前記第二回転電機の動力を前記左駆動軸又は前記右駆動軸に伝達する調整動力伝達経路と、
前記調整動力伝達経路上に設けられ、前記第二回転電機の動力の伝達を断接する第一断接機構と、
前記発電動力伝達経路上に設けられ、前記エンジンから前記第二回転電機への動力の伝達を断接する第二断接機構と、を備える
ことを特徴とする、動力伝達装置。
続きを表示(約 1,000 文字)
【請求項2】
前記発電動力伝達経路を介した前記第二回転電機の発電、及び、前記調整動力伝達経路を介した前記第二回転電機の動力の伝達、の双方が不要な場合には、
前記第一断接機構及び前記第二断接機構の双方が、切断状態とされる
ことを特徴とする、請求項1に記載の動力伝達装置。
【請求項3】
前記主動力伝達経路には、前記エンジンの動力を伝達する第一動力伝達経路と、前記第一回転電機の動力を伝達する第二動力伝達経路と、が別々に設けられ、
前記第一動力伝達経路上には、前記エンジンから前記差動機構への動力の伝達を断接する第三断接機構が設けられる
ことを特徴とする、請求項1又は2に記載の動力伝達装置。
【請求項4】
前記車両が、前記第一回転電機の動力で走行する場合には、
前記第一断接機構が、係合状態とされ、
前記第二断接機構が、切断状態とされ、
前記第三断接機構が、切断状態とされる
ことを特徴とする、請求項3に記載の動力伝達装置。
【請求項5】
前記車両が、前記エンジンの動力で走行する場合には、
前記第一断接機構が、係合状態とされ、
前記第二断接機構が、切断状態とされ、
前記第三断接機構が、係合状態とされる
ことを特徴とする、請求項3に記載の動力伝達装置。
【請求項6】
前記車両が、前記第一回転電機の動力で走行する場合であって前記発電動力伝達経路を介した前記第二回転電機の発電を要する場合には、
前記第一断接機構が、切断状態とされ、
前記第二断接機構が、係合状態とされ、
前記第三断接機構が、切断状態とされる
ことを特徴とする、請求項3に記載の動力伝達装置。
【請求項7】
前記車両が、前記エンジンの動力による発電及び前記調整動力伝達経路を介した前記第二回転電機の動力の伝達の双方を要する場合には、
前記第一断接機構が、係合状態とされ、
前記第二断接機構が、切断状態とされ、
前記第三断接機構が、係合状態とされ、
前記エンジンの動力で前記車両が走行するとともに、前記エンジンの動力の一部により前記第一回転電機が発電する
ことを特徴とする、請求項3に記載の動力伝達装置。
発明の詳細な説明
【技術分野】
【0001】
本件は、駆動用のエンジン及び回転電機と発電用の回転電機とが搭載された車両の動力伝達装置に関する。
続きを表示(約 2,000 文字)
【背景技術】
【0002】
従来、駆動用のエンジン及び回転電機(モータ)と発電用の回転電機(ジェネレータ)とを具備した車両の動力伝達装置には、多様な走行モードを実現可能なものが知られている。例えば、特許文献1には、バッテリの充電電力を用いてモータのみで走行するEVモードと、エンジンによってジェネレータを駆動し、発電しながらモータのみで走行するシリーズモードと、エンジンとモータとを併用して走行するパラレルモードと、を切替可能なトランスアクスル装置(動力伝達装置)が開示されている。特許文献1において、駆動源としてのエンジン及びモータは、動力伝達装置に内蔵された差動装置を介して並列に接続され、これらの駆動力が差動装置を介して左右輪に分配されて伝達される。また、エンジンには、動力伝達装置を介してジェネレータ及び差動装置が並列に接続され、エンジンの駆動力が左右輪に加えてジェネレータにも伝達される。
【先行技術文献】
【特許文献】
【0003】
特開2021-046204号公報
【発明の概要】
【発明が解決しようとする課題】
【0004】
ところで、近年、左右輪を駆動するための駆動力とは別に、左右輪の駆動力配分を調整するための駆動力を付与することで、左右輪の間に回転数差を能動的に生じさせる技術、所謂、トルクベクタリングが注目されている。トルクベクタリングを行うことで、ヨーモーメントを調節し、車両の姿勢を安定させたり所望の旋回性能を実現させたりすることができる。しかし、特許文献1に開示のような車両でトルクベクタリングを行うためには、駆動力配分を調整するための駆動力を付与するモータを新たに追加する必要があり、コスト低減や省スペース化の点で課題がある。
【0005】
本件の動力伝達装置は、上記のような課題に鑑み創案されたものであり、駆動用のエンジン及び回転電機と発電用の回転電機とを具備した車両の動力伝達装置において、トルクベクタリング用の回転電機を新たに追加することなく、トルクベクタリングを行うことを目的の一つとする。なお、この目的に限らず、後述する発明を実施するための形態に示す各構成により導かれる作用効果であって、従来の技術によっては得られない作用効果を奏することも本件の他の目的である。
【課題を解決するための手段】
【0006】
開示の車両の制御装置は、以下に開示する態様(適用例)として実現でき、上記の課題の少なくとも一部を解決する。態様2以降の各態様は、いずれもが付加的に適宜選択されうる態様であって、いずれもが省略可能な態様である。態様2以降の各態様は、いずれもが本件にとって必要不可欠な態様や構成を開示するものではない。
【0007】
態様1.開示する動力伝達装置は、エンジンと、第一回転電機と、左駆動軸及び右駆動軸の間に介装された差動機構と、前記エンジンの動力により発電する第二回転電機と、が搭載された車両の動力伝達装置である。前記動力伝達装置は、前記エンジン及び前記第一回転電機の少なくとも一方の動力を、前記差動機構を介して、前記左駆動軸及び前記右駆動軸の各々に分配して伝達する主動力伝達経路と、前記エンジンの動力を前記第二回転電機に伝達する発電動力伝達経路と、前記主動力伝達経路とは別で設けられ、前記第二回転電機の動力を前記左駆動軸又は前記右駆動軸に伝達する調整動力伝達経路と、を備える。前記動力伝達装置は、前記調整動力伝達経路上に設けられ、前記第二回転電機の動力の伝達を断接する第一断接機構と、前記発電動力伝達経路上に設けられ、前記エンジンから前記第二回転電機への動力の伝達を断接する第二断接機構と、を備える。
【0008】
態様2.上記の態様1を含む態様において、前記発電動力伝達経路を介した前記第二回転電機の発電、及び、前記調整動力伝達経路を介した前記第二回転電機の動力の伝達、の双方が不要な場合には、前記第一断接機構及び前記第二断接機構の双方が、切断状態とされることが好ましい。
【0009】
態様3.上記の態様1を含む態様において、前記主動力伝達経路には、前記エンジンの動力を伝達する第一動力伝達経路と、前記第一回転電機の動力を伝達する第二動力伝達経路と、が別々に設けられることが好ましい。この場合、前記第一動力伝達経路上には、前記エンジンから前記差動機構への動力の伝達を断接する第三断接機構が設けられることが好ましい。
【0010】
態様4.上記の態様3を含む態様において、前記車両が、前記第一回転電機の動力で走行する場合には、前記第一断接機構が、係合状態とされ、前記第二断接機構が、切断状態とされ、前記第三断接機構が、切断状態とされることが好ましい。
(【0011】以降は省略されています)
この特許をJ-PlatPat(特許庁公式サイト)で参照する
関連特許
個人
カーテント
4か月前
個人
タイヤレバー
2か月前
個人
前輪キャスター
1か月前
個人
上部一体型自動車
9日前
個人
車輪清掃装置
4か月前
個人
タイヤ脱落防止構造
1か月前
個人
ホイルのボルト締結
3か月前
個人
ルーフ付きトライク
2か月前
個人
車両通過構造物
2か月前
日本精機株式会社
表示装置
2か月前
日本精機株式会社
表示装置
2か月前
個人
キャンピングトライク
3か月前
日本精機株式会社
表示装置
2か月前
井関農機株式会社
作業車両
4か月前
日本精機株式会社
表示装置
1か月前
個人
マスタシリンダ
16日前
井関農機株式会社
作業車両
4か月前
個人
キャンピングトレーラー
3か月前
個人
アクセルのソフトウェア
3か月前
個人
車両用スリップ防止装置
3か月前
個人
乗合路線バスの客室装置
2か月前
株式会社ニフコ
収納装置
1か月前
日本精機株式会社
画像投映装置
5日前
個人
円湾曲ホイール及び球体輪
2か月前
日本精機株式会社
車載表示装置
3か月前
個人
音声ガイド、音声サービス
2か月前
株式会社豊田自動織機
産業車両
2か月前
日本精機株式会社
車室演出装置
1か月前
株式会社ニフコ
照明装置
1か月前
株式会社ニフコ
保持装置
3か月前
個人
車載小物入れ兼雨傘収納具
3か月前
日本精機株式会社
車載表示装置
24日前
日本精機株式会社
車両用表示装置
2か月前
極東開発工業株式会社
車両
2か月前
日本精機株式会社
車両用表示装置
5日前
トヨタ自動車株式会社
車両
4か月前
続きを見る
他の特許を見る